GM Service Manual Online
For 1990-2009 cars only

Tools Required

J-42759 Ignition Switch Connector Release Tool

Removal Procedure

  1. Disconnect the negative battery cable. Refer to Battery Negative Cable Disconnection and Connection.
  2. Caution: Refer to SIR Caution in the Preface section.

  3. Disable the SIR system. Refer to SIR Disabling and Enabling.
  4. Remove the hush and knee bolster. Refer to Knee Bolster Replacement.
  5. Remove the steering column trim covers. Refer to Steering Column Trim Covers Replacement .
  6. Disconnect the passlock and key buzzer from the lock cylinder housing.

  7. Object Number: 1413831  Size: SH
  8. Insert J-42759 into the lock cylinder housing to release the tabs on the ignition switch.
  9. Pull the ignition switch out of the lock cylinder housing.
  10. Disconnect the connector from the ignition switch.

Installation Procedure


    Object Number: 1413832  Size: SH

    Important: The gears between the ignition switch and the lock cylinder housing must be in the correct position. Failure to do so will cause a misalignment of the gears in the ignition switch and the lock cylinder housing, which may result in a NO START or BATTERY DRAIN.

  1. Verify the alignment of the gear (1) in the ignition switch (2). If gear (1) is not in position shown, turn gear in ignition switch (2) until you reach the correct position.
  2. Connect the connector to the ignition switch.

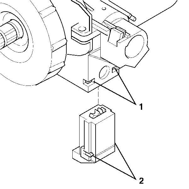
  3. Object Number: 1413834  Size: SH
  4. Insert the ignition switch into the lock cylinder housing. The tabs (2) on the ignition switch MUST be seated inside the lock cylinder housing (1) for proper installation.
  5. Connect the passlock and key buzzer into the lock housing.
  6. Install the steering column trim covers. Refer to Steering Column Trim Covers Replacement .
  7. Install the hush and knee bolster. Refer to Knee Bolster Replacement .
  8. Enable the SIR system. Refer to SIR Disabling and Enabling.
  9. Connect the negative battery cable. Refer to Battery Negative Cable Disconnection and Connection.