| Figure 1: |
Steering Wheel Speed/Position Sensor
|
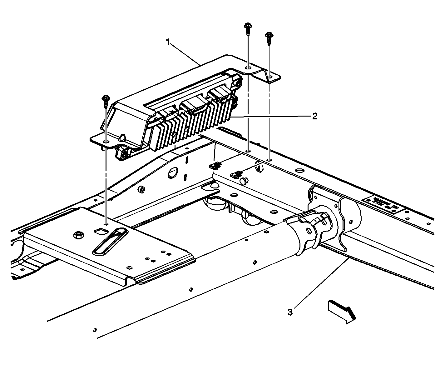
| Figure 2: |
Rear Wheel Steering Control Module
|
| Figure 3: |
Rear Steering Gear Motor
|
| Figure 4: |
Rear Wheel Position Sensor
|
| Figure 5: |
Rear Wheel Steering Mode Select Switch
|