Auxiliary HVAC Module Replacement Suburban/Yukon XL
Removal Procedure
- Recover the refrigerant from the A/C system. Refer to
Refrigerant Recovery and Recharging
.
- Drain the engine coolant. Refer to
Cooling System Draining and Filling
in Engine Cooling.
- Raise the vehicle. Refer to
Lifting and Jacking the Vehicle
in General Information.
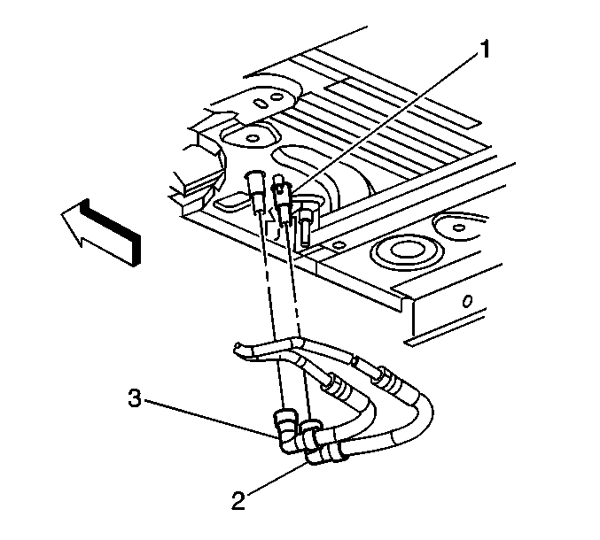
- Disconnect the heater lines (2,3)
from the auxiliary HVAC module at the underside of the vehicle.
- Disconnect the air conditioning lines (2,3)
from the auxiliary HVAC module at the underside of the vehicle.
- Remove the nuts (2) from the studs (1)
that secure the auxiliary HVAC module to the underside of the vehicle.
- Remove the safety stands.
- Lower the vehicle.
- Remove the right rear quarter trim panel. Refer to
Rear Quarter Trim Panel Replacement - Right Side
in Interior Trim.
- Remove the electronic suspension control module. Refer to
Electronic Suspension Control Module Replacement
in Electronic Suspension
Control.
- Disconnect the electrical connectors from the auxiliary HVAC module.
- Remove the fastener (5) for the
upper auxiliary air duct (6). Carefully slide the duct up, into the headliner,
until the bottom edge of the duct is above the air distributor duct.
- Remove the fastener (4) for the
lower auxiliary air outlet (5).
- Remove the fastener (4) for the air
distributor duct (3).
- Remove the air distributor duct (3).
- Remove the fasteners (2,4) retaining
the auxiliary HVAC module to the vehicle.
- Remove the auxiliary HVAC module (3) from the vehicle.
Installation Procedure
- Install the auxiliary HVAC module assembly (3)
to the vehicle.
- Install the two bolts (2,4) inside the vehicle in order to retain
the auxiliary HVAC module to the vehicle.
- Install the air distributor duct (3).
- Install the fastener (4)
- Install the lower auxiliary air outlet (5).
- Install the fastener (4)
- Install the upper auxiliary air duct (6)
to the air distributor duct (3).
- Install the fastener (5)
- Connect the electrical connectors to the auxiliary HVAC module.
- Install the electronic suspension control module. Refer to
Electronic Suspension Control Module Replacement
in Electronic Suspension
Control.
- Install the right rear quarter trim panel. Refer to
Rear Quarter Trim Panel Replacement - Right Side
in Interior Trim.
- Raise the vehicle.
Notice: Use the correct fastener in the correct location. Replacement fasteners
must be the correct part number for that application. Fasteners requiring
replacement or fasteners requiring the use of thread locking compound or sealant
are identified in the service procedure. Do not use paints, lubricants, or
corrosion inhibitors on fasteners or fastener joint surfaces unless specified.
These coatings affect fastener torque and joint clamping force and may damage
the fastener. Use the correct tightening sequence and specifications when
installing fasteners in order to avoid damage to parts and systems.
- Install the nuts (2) that secure the auxiliary HVAC module to the vehicle.
Tighten
Tighten the nuts to 9 N·m (80 lb in).
- Install the air conditioning lines (2,3)
and the nut (4) to the auxiliary HVAC module.
Tighten
Tighten the nut to 16 N·m (12 lb ft).
- Install the heater lines (2,3) to
the auxiliary HVAC module at the underside of vehicle.
- Remove the safety stands.
- Lower the vehicle.
- Fill the engine coolant. Refer to
Cooling System Draining and Filling
in Engine Cooling.
- Recharge the refrigerant to the system. Refer to
Refrigerant Recovery and Recharging
.
Auxiliary HVAC Module Replacement Tahoe/Yukon
Tools Required
J 39400-A Halogen Leak Detector
Removal Procedure
- Recover the refrigerant from the A/C system. Refer to
Refrigerant Recovery and Recharging
.
- Drain the engine coolant. Refer to
Cooling System Draining and Filling
in Engine Cooling.
- Raise the vehicle. Refer to
Lifting and Jacking the Vehicle
in General Information.
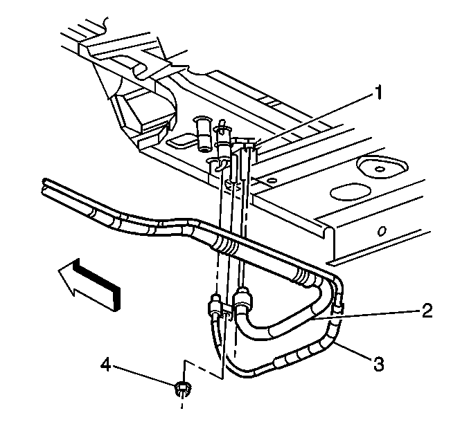
- Disconnect the heater lines (2,3)
from the auxiliary HVAC module at the underside of the vehicle.
- Disconnect the air conditioning lines (2,3)
from the auxiliary HVAC module at the underside of the vehicle.
- Remove the nuts (2) from the studs (1)
that secure the auxiliary HVAC module to the underside of the vehicle.
- Lower the vehicle.
- Remove the right rear quarter trim panel. Refer to
Rear Quarter Trim Panel Replacement - Right Side
in Interior Trim.
- Remove the electronic suspension control module. Refer to
Electronic Suspension Control Module Replacement
in Electronic Suspension
Control.
- Disconnect the electrical connectors from the Auxiliary HVAC module.
- Remove the fastener (5) for the upper auxiliary air duct (1).
Carefully slide the duct up, into the headliner, until the bottom edge of the duct
is above the air distributor duct.
- Remove the fasteners (3) retaining
the auxiliary HVAC module to the vehicle.
- Remove the auxiliary HVAC module (4) from the vehicle.
Installation Procedure
- Install the auxiliary HVAC module assembly (4)
to the vehicle.
- Install the two bolts (3) inside the vehicle in order to retain
the auxiliary HVAC module to the vehicle.
- Install the upper auxiliary air duct (1) to the air distributor duct.
Install the fastener (5).
- Connect the electrical connectors to the auxiliary HVAC module.
- Install the electronic suspension control module. Refer to
Electronic Suspension Control Module Replacement
in Electronic Suspension
Control.
- Install the right rear quarter trim panel. Refer to
Rear Quarter Trim Panel Replacement - Right Side
in Interior Trim.
- Raise the vehicle.
Notice: Use the correct fastener in the correct location. Replacement fasteners
must be the correct part number for that application. Fasteners requiring
replacement or fasteners requiring the use of thread locking compound or sealant
are identified in the service procedure. Do not use paints, lubricants, or
corrosion inhibitors on fasteners or fastener joint surfaces unless specified.
These coatings affect fastener torque and joint clamping force and may damage
the fastener. Use the correct tightening sequence and specifications when
installing fasteners in order to avoid damage to parts and systems.
- Install the nuts (2) that secure the auxiliary HVAC module to the vehicle.
Tighten
Tighten the nuts to 9 N·m (80 lb in).
- Install the air conditioning lines (2,3)
and the nut (4) to the auxiliary HVAC module.
Tighten
Tighten the nut to 16 N·m (12 lb ft).
- Install the heater lines (2,3) to
the auxiliary HVAC module at the underside of vehicle.
- Lower the vehicle.
- Fill the engine coolant. Refer to
Cooling System Draining and Filling
in Engine Cooling.
- Recharge the refrigerant to the system. Refer to
Refrigerant Recovery and Recharging
.
- Leak test the fittings of the component using the J 39400-A
.