GM Service Manual Online
For 1990-2009 cars only

Tools Required

J 39400-A Halogen Leak Detector

Removal Procedure

  1. Recover the refrigerant from the system. Refer to Refrigerant Recovery and Recharging .

  2. Object Number: 612568  Size: SH
  3. Remove the auxiliary A/C evaporator tubes (3) from the condenser tube (2) and the accumulator (5).
  4. Loosen the right front wheelhouse to gain access to the clamp behind the wheelhouse.
  5. Raise the vehicle. Refer to Lifting and Jacking the Vehicle in General Information.

  6. Object Number: 691871  Size: SH
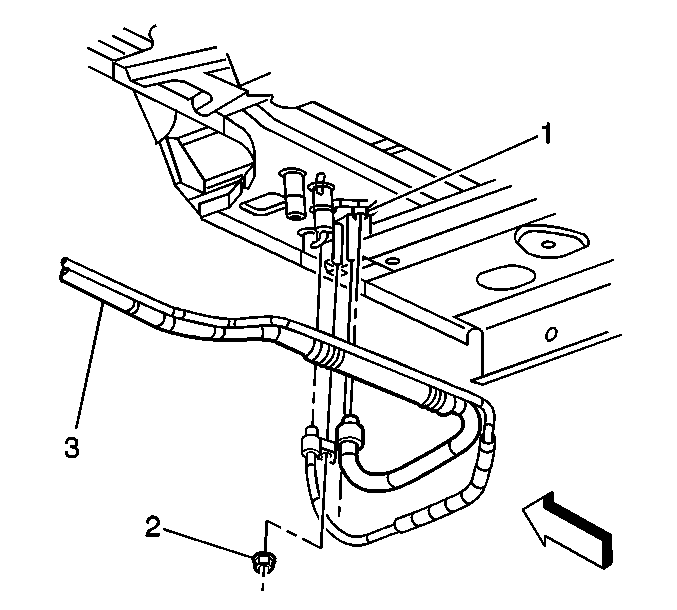
  7. Remove the retaining nut (2) and the auxiliary A/C evaporator tubes (3) from the auxiliary HVAC module.

  8. Object Number: 691870  Size: SH
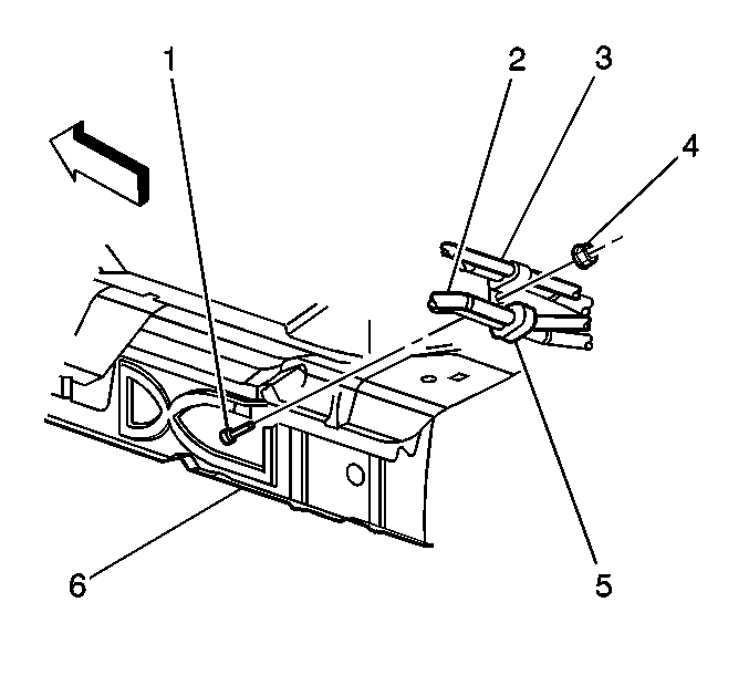
  9. Remove the heater/A/C tubes retaining nut (4) from the stud (1) at the frame (6).
  10. Remove the auxiliary A/C evaporator tubes (3) from the clamps (5).
  11. Remove the auxiliary A/C evaporator tubes from the vehicle.

Installation Procedure

  1. Install the auxiliary A/C evaporator tubes to the vehicle.

  2. Object Number: 691870  Size: SH
  3. Install the auxiliary A/C evaporator tubes (3) to the clamps (5).
  4. Notice: Use the correct fastener in the correct location. Replacement fasteners must be the correct part number for that application. Fasteners requiring replacement or fasteners requiring the use of thread locking compound or sealant are identified in the service procedure. Do not use paints, lubricants, or corrosion inhibitors on fasteners or fastener joint surfaces unless specified. These coatings affect fastener torque and joint clamping force and may damage the fastener. Use the correct tightening sequence and specifications when installing fasteners in order to avoid damage to parts and systems.

  5. Install the heater/A/C tubes retaining nut (4) to the stud (1) at the frame (6).
  6. Tighten
    Tighten the nut to 7 N·m (62 lb in).


    Object Number: 691871  Size: SH
  7. Install the auxiliary A/C evaporator tubes (2, 3) and the retaining nut to the auxiliary HVAC module.
  8. Tighten
    Tighten the nut to 16 N·m (12 lb ft).

  9. Lower the vehicle.
  10. Install the right front wheelhouse. Refer to Wheelhouse Panel Replacement in Body Front End.

  11. Object Number: 612568  Size: SH
  12. Install the auxiliary A/C evaporator tubes (3) to the condenser tube (2) and the accumulator (5).
  13. Tighten
    Tighten the nuts to 16 N·m (12 lb ft).

  14. Recharge the refrigerant to the system. Refer to Refrigerant Recovery and Recharging .
  15. Leak test the fittings of the component using the J 39400-A .