GM Service Manual Online
For 1990-2009 cars only
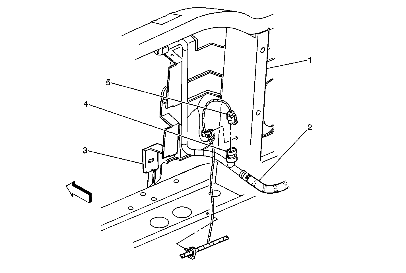
Figure 1:

A/C Low Pressure Switch and A/C Accumulator


Object Number: 349894  Size: MF
(1)Auxiliary Battery Relay
(2)A/C Accumulator
(3)A/C Low Pressure Switch
(4)Inner Wheel Well
(5)Coolant Level Switch Connector
(6)Mass Air Flow (MAF) Sensor
(7)Air Cleaner Assembly
(8)Engine Coolant Recovery Reservoir
(9)Auxiliary Battery Relay Electrical Connector
Figure 2:

A/C Compressor Clutch - 4.3L


Object Number: 310511  Size: MF
(1)A/C Compressor Clutch Connector
(2)A/C Compressor
(3)Exhaust Gas Recirculation (EGR) Valve Connector
(4)A/C High Pressure Switch Connector
Figure 3:

A/C Compressor Clutch -4.8L, 5.3L, 6.0L


Object Number: 310258  Size: LF
(1)A/C Compressor Clutch
(1)A/C Compressor Clutch
(2)A/C Compressor Clutch Connector
(3)A/C High Pressure Switch Connector
(3)A/C High Pressure Switch Connector
(4)A/C High Pressure Switch
(5)Engine Oil Level Switch
(6)Starter
(7)Crankshaft Position (CKP) Sensor
(8)Starter Solenoid Connector
Figure 4:

A/C Refrigerant Pressure Sensor


Object Number: 310810  Size: MF
(1)Radiator Core Support
(2)A/C High Pressure Line
(3)Headlamp Support
(4)A/C Refrigerant Pressure Sensor
(5)A/C Refrigerant Pressure Sensor Conector
Figure 5:

Air Temperature Sensors - Upper Left and Right


Object Number: 901487  Size: MF
(1)Instrument Panel
(2)Air Temperature Sensor Connector - Upper Right
(3)Air Temperature Sensor Connector - Upper Left
(4)Air Temperature Sensor - Upper Left
(5)Air Temperature Sensor - Upper Right
Figure 6:

Air Temperature Sensor - Lower Left


Object Number: 901409  Size: MF
(1)Mode Actuator
(2)HVAC Module Assembly
(3)Lower Left Air Duct
(4)Air Temperature Sensor - Lower Left
Figure 7:

Air Temperature Sensor - Lower Right


Object Number: 901408  Size: MF
(1)HVAC Module Assembly
(2)Air Temperature Actuator - Left
(3)Air Temperature Sensor - Lower Right
Figure 8:

Air Temperature Sensor - Upper Auxiliary


Object Number: 1198705  Size: MF
(1)Air Temperature Sensor - Upper Auxiliary Connector
(2)Air Temperature Sensor - Upper Auxiliary
(3)Upper Air Duct - Auxiliary
(4)RR Passenger Seat Belt Anchor Bolt
(5)Passenger Side C - Pillar
(6)Auxiliary HVAC Harness
Figure 9:

Ambient Air Temperature Sensor


Object Number: 741098  Size: MF
(1)Radiator Support
(2)Forward Lamp Harness Connector
(3)Ambient Air Temperature Sensor
(4)Front Bumper Filler
Figure 10:

HVAC Control Module


Object Number: 349763  Size: MF
(1)Instrument Panel
(2)HVAC Control Module
Figure 11:

HVAC Module Assembly - Top


Object Number: 901410  Size: MF
(1)Mode Door
(2)Recirculation Actuator
(3)Recirculation door
(4)Air Temperature Actuator - Right
(5)HVAC Module Assembly
(6)Mode Actuator
Figure 12:

HVAC Module Assembly - Bottom


Object Number: 901401  Size: MF
(1)Air Temperature Actuator - Left
(2)Blower Motor Control Processor
(3)Blower Motor
(4)Air Temperature Sensor Connector - Lower Right
Figure 13:

RR of the Passenger Compartment (Suburban/Yukon XL)


Object Number: 1198703  Size: MF
(1)C397
(2)G410
(3)C395
(4)Speaker - Right D - Pillar Conector
(5)Auxiliary Power Outlet - Rear
(6)Blower Motor - Auxiliary
(7)Electronic Suspension Control (ESC) Module
(8)Blower Motor Control Processor - Auxiliary
(9)Air Temperature Actuator - Auxiliary
(10)HVAC Control Module - Auxiliary
(11)Mode Actuator - Auxiliary
(12)Air Temperature Sensor - Lower Auxiliary
Figure 14:

RR of the Passenger Compartment (Tahoe/Yukon)


Object Number: 1197676  Size: MF
(1)Upper Duct Assembly
(2)Air Temperature Sensor - Upper Auxiliary
(3)G410
(4)Blower Motor - Auxiliary
(5)Blower Motor Control Processor - Auxiliary
(6)Air Temperature Actuator - Auxiliary
(7)C397
(8)Mode Actuator - Auxiliary
(9)Air Temperature Sensor - Lower Auxiliary
Figure 15:

Overhead Console


Object Number: 781389  Size: MF
(1) Overhead Console
(2)HVAC Control Assembly - Front Auxiliary
(3)HVAC Control Assembly - Front Auxiliary Connector
Figure 16:

Sunload Sensor Assembly


Object Number: 310130  Size: MF
(1)Instrument Panel Bracket
(2)Sunload Sensor Harness
(3)Sunload Sensor Connector
(4)Sunload Sensor Assembly
(5)Instrument Panel