GM Service Manual Online
For 1990-2009 cars only
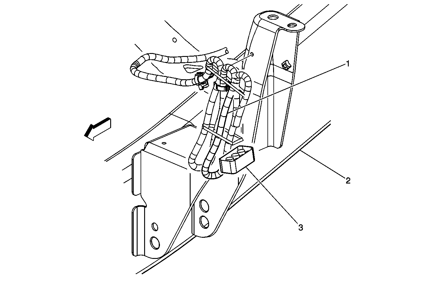
Figure 1:

Lower LF of the Radiator Support Components


Object Number: 310809  Size: MF
(1)LH Lower Radiator Support
(2)Forward Lamp Harness
(3)Negative Battery Cable (G100)
(4)Frame
(5)Ground 100 (G100)
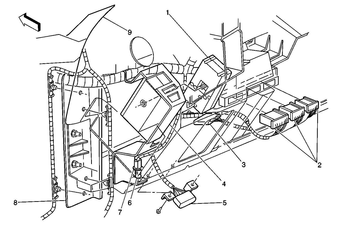
Figure 2:

Fuse Block-Underhood


Object Number: 310806  Size: MF
(1)Fuse Block-Underhood Bracket
(2)I/P Harness
(3)Radiator Support
(4)Inline Connector C103 or C104-I/P Harness Side
(5)Inline Connector C103 or C104-Forward Lamp Harness Side
(6)LH Battery Tray
(7)Fuse Block-Underhood Bracket
(8)Fuse Block-Underhood Bracket
Figure 3:

Fuse Block-Underhood Connectors


Object Number: 310798  Size: MF
(1)Fuse Block-Underhood
(2)C4 (GRN)
(3)C3 (RED)
(4)Fuse Block-Underhood Bracket
(5)LH Inner Fender (Shield)
(6)LH Inner Fender
(7)C1 (LT GRY)
(8)C2 (BLK)
Figure 4:

Fuse Block-Underhood-C1 (LT GRY) and C6 (BRN)


Object Number: 404504  Size: MF
(1)Fuse Block-Underhood
(2)C7 (BLK) Cavity
(3)Fuse Block-Underhood Bracket
(4)C6 (BRN)
(5)I/P Harness
(6)C1 (LT GRY)
Figure 5:

Fuse Block-Underhood-C2 (BLK) and C5 (BLK)


Object Number: 404501  Size: MF
(1)C2 (BLK)
(2)Fuse Block-Underhood
(3)Fuse Block-Underhood Bracket
(4)C5 (BLK)
(5)Engine Harness
Figure 6:

Fuse Block-Underhood-C3 (RED) and C8 (LT GRY)


Object Number: 404499  Size: MF
(1)C3 (RED)
(2)Fuse Block-Underhood
(3)C8 (LT GRY)
(4)Fuse Block-Underhood Bracket
(5)Chassis Harness
Figure 7:

Fuse Block-Underhood-C4 and Inlines


Object Number: 404508  Size: MF
(1)C4 (GRN)
(2)I/P Inline Connectors
(3)Fuse Block-Underhood Bracket
(4)Connector Tether
(5)I/P Harness Inline Connector
(6)C103 (I/P Side)
(7)C103 (FWD Lamp Side)
(8)Forward Lamp Inline Connector
(9)Fuse Block-Underhood
Figure 8:

Lower LR of the Engine Components (4.8L/5.3L/6.0L)


Object Number: 310261  Size: LF
(1)Ground 103 (G103)
(1)Ground 103 (G103)
(2)Engine Harness- H02S
(3)HO2 Sensor connector- Bank 1, Sensor 1
(4)Fuel Line Bracket
(5)Ground 104 (G104)
(5)Ground 104 (G104)
(6)Oil Pressure Sensor Connector
(6)Oil Pressure Sensor
(7)Engine Ground Strap (G107)
(8)TP 1 Battery Cable (G106)
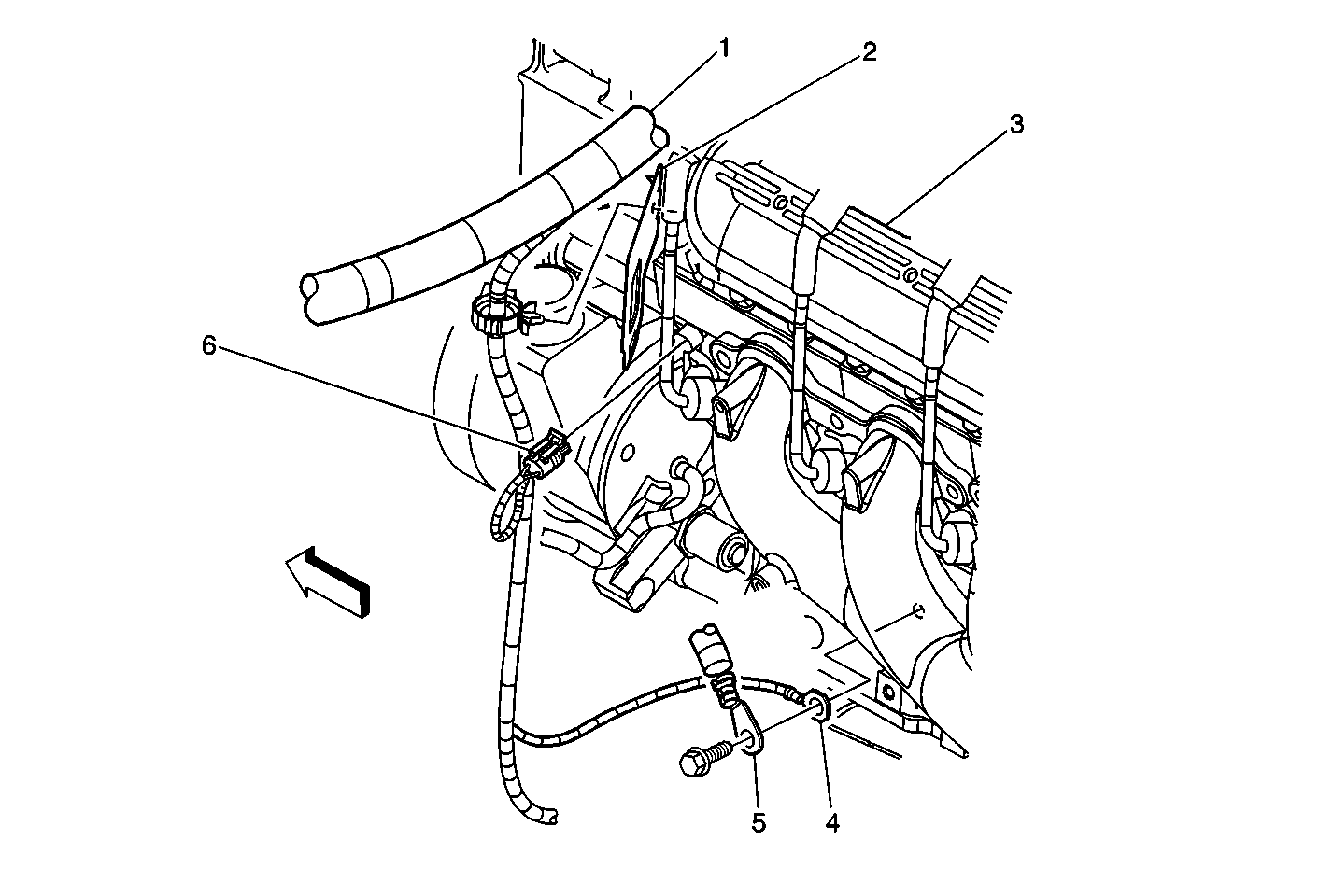
Figure 9:

Lower Left Side of the Engine Components (4.8L/5.3L/6.0L)


Object Number: 403980  Size: MF
(1)Engine Harness
(2)Battery Cable Junction Block Bracket
(3)LH Rocker Cover
(4)Ground 102 (G102)
(5)Negative Battery Cable
(6)Engine Coolant Temperature (ECT) Sensor Connector
Figure 10:

Lower LR of the Engine Components (4.8L/5.3L/6.0L)


Object Number: 310261  Size: LF
(1)Ground 103 (G103)
(1)Ground 103 (G103)
(2)Engine Harness- H02S
(3)HO2 Sensor connector- Bank 1, Sensor 1
(4)Fuel Line Bracket
(5)Ground 104 (G104)
(5)Ground 104 (G104)
(6)Oil Pressure Sensor Connector
(6)Oil Pressure Sensor
(7)Engine Ground Strap (G107)
(8)TP 1 Battery Cable (G106)
Figure 11:

G102 - 8.1L


Object Number: 656528  Size: MF
(1)Engine - 8.1L
(2)Knock Sensor (KS) - 2
(3)Knock Sensor (KS) - 2 Connector
(4)Engine Harness
(5)G102 - Engine Harness Ground
Figure 12:

G104-8.1L


Object Number: 814474  Size: MF
(1)Engine-8.1L
(2)EGR Valve
(3)Engine Oil Pressure (EOP) Sensor
(4)Engine Ground Strap
(5)G104-Engine Harness Ground
Figure 13:

LR of the Engine Comparment -- Bulkhead Components


Object Number: 310036  Size: MF
(1)Windshield Wiper Motor Module Electrical Connector
(2)Cruise Control Module (CCM) Electrical Connector
(3)Plenum Panel
(4)Cruise Control Module (CCM)
(5)Pass-Through 100 (P100)
(6)Dash Panel
(7)Cap For Connector (Without Cruise Control)
(8)Cruise Control Module (CCM) Electrical Connector
(9)Harness Pass-Through
(10)Windshield Wiper Motor Module
Figure 14:

G110 and G302


Object Number: 1373402  Size: LF
(1)Left Front Body Mount
(2)G110
(3)G302 (10 Series)
Figure 15:

RH Upper Instrument Panel


Object Number: 403970  Size: MF
(1)Instrument Panel
(2)Ground 200 (G200)
(3)Ground Stud
Figure 16:

Lower RF of the Passenger Compartment


Object Number: 926693  Size: MF
(1)C222
(2)C315 (AJ7)
(3)Body Harness
(4)C209
Figure 17:

Lower Center of the I/P Components


Object Number: 310152  Size: MF
(1)Ashtray Lamp Socket
(2)Bulb
(3)Ashtray Lamp Shield
(4)Instrument Panel
(5)Accessory Power Outlet
(6)Cigar Lighter Assembly
Figure 18:

Fuse Block- Right I/P


Object Number: 310167  Size: LF
(1)Fuse Block-Right I/P
(2)Instrument Panel
Figure 19:

HVAC Module Assembly (Connections)


Object Number: 310004  Size: MF
(1)Recirculation Actuator Connector
(2)Instrument Panel
(3)Electrical Harness Connector
(4)Ground 200 (G200)
(5)Blower Motor Resistor Assembly
(6)Blower Motor Resistor Connector
(7)Harness Inline Connector (C296)
(8)Air Temperature Actuator Connector
(9)Air Temperature Actuator
(10)Mode Actuator
Figure 20:

I/P Harness Routing - Left Side of I/P Console


Object Number: 1463258  Size: LF
(1)C202 I/P Harness to Brake/Clutch Harness
(2)C214 I/P Harness to Headliner Harness (w/UE1/U42)
(3)C214 I/P Harness to Headliner Harness (w/UE1/U42)
(4)G203 (1851)
(5)C203 I/P to Left Front Door Harness (w/JF4)
(6)C221 I/P Harness to Body Harness
(7)C204 I/P Harness to Body Harness
(8)Splice Pack SP250 (w/UQ7)
(9)C201 I/P Harness to Steering Column Harness
(10)C275 I/P Harness to Inflatable Restraint Steering Wheel Module
(11)Splice Pack SP205
Figure 21:

Upper Left of the I/P Components


Object Number: 310066  Size: MF
(1)Splice Pack 203 (SP203)
(2)Ground 203 (G203)
(3)Dash
(4) A-Pillar
Figure 22:

Left Hand Lower Dash


Object Number: 310145  Size: MF
(1)Fuse Block Connector
(2)Body Control Module (BCM) Connector
(3)Splice Pack 205 (SP205)
(4)Fuse Block
(5)Data Link Connector (DLC)
(6)LH IP Courtesy Lamp
(7)LH IP Courtesy Lamp Socket
(8)LH IP Support to Dash
(9)Left Windshield Pillar Trim Panel
Figure 23:

Steering Wheel and Column Sub-System Components


Object Number: 856748  Size: LF
(1)Steering Wheel Audio Controls - Left
(2)Passlock Sensor Connector
(3)Ignition Key Alarm Switch
(4)Ignition Lock Cylinder Control Actuator
(5)Ignition Lock Cylinder Control Actuator Connector
(6)Ignition Switch
(7)Ignition Key Cylinder
(8)Steering Wheel Audio Controls - Right
(9)Horn Switch
(10)Steering Wheel Driver Information (DIC) Controls - Right
(11)C277
(12)Steering Wheel Driver Information Center (DIC) Controls - Left
(13)Turn Signal/Multifunction Switch
Figure 24:

Left Side Frame Rail -- Grounds


Object Number: 574025  Size: MF
(1)Frame
(2)Electronic Brake Control Module (EBCM) Ground (GNO)
(3)Manual Selectable Ride Ground (G302)
(4)Automatic Transfer Case/ABS Ground (G110)
Figure 25:

Driver Side B-Pillar Wiring


Object Number: 623131  Size: MF
(1)LH B-Pillar
(2)G305
(3)LH Body Harness
Figure 26:

Left Side Frame Rail -- Brake Components


Object Number: 309937  Size: MF
(1)Ground 302 (G302)
(2)LH Body Mount
(3)Ground Screw
(4)Electronic Brake Control Module (EBCM)
(5)Fuel Tank
Figure 27:

RH B-Pillar


Object Number: 573989  Size: LF
(1)Instrument Panel
(2)C4 (and C3)
(3)Junction Block-I/P
(4)RT-B-Pillar
(5)Ground 306 (G306)
(6)RH Body Harness
(7)I/P Harness Inline Connector C208
Figure 28:

G305


Object Number: 1373410  Size: LF
(1)G305
(2)LH B-Pillar
(3)C305
(4)Inflatable Restraint Sensing and Diagnostic Module (SDM)
Figure 29:

G304 and G306


Object Number: 1373409  Size: LF
(1)C396
(2)G306
(3)G304
(4)C399
(5)RH B-Pillar
Figure 30:

Emergency Light Relay and G305-Utility/Crewcab


Object Number: 814896  Size: LF
(1)Emergency Roof Lamp Harness
(2)Roof Beacon Relay
(3)G305
(4)B Pillar-LH Side
Figure 31:

Below Front Seats Components (Both w/Power)


Object Number: 309991  Size: MF
(1)Driver Power Seat Electrical Connector
(2)Passenger Power Seat Wiring Harness
(3)Passenger Power Seat Electrical Connector
(4)Inline Wiring Connector (IP)
(5)Power Seat Wiring Harness Connector
(6)Ground 304 (G304)
Figure 32:

Fuel Tank and Sensor (Typical)


Object Number: 309947  Size: MF
(1)Fuel Sender
(2)Ground 403 (G403)
(3)Fuel Filler Ground 302 (G-403)
(4)LH Frame
(5)Fuel Sender (Typical)
Figure 33:

RR Side of the Passenger Compartment Components (Suburban/Yukon XL w/Auxiliary HVAC -- 2 of 2)


Object Number: 573929  Size: LF
(1)Inner Body Side Panel
(2)Splice Pack 410 (SP410)
(3)Splice Pack 410A (SP410A)
(4)Blower Motor-Auxiliary
(5)HVAC Module-Rear Auxiliary
(6)Air Temperature Sensor-Lower Auxiliary
(7)Mode Actuator Connector
(8)Inline Connector 350 (Auxiliary HVAC Harness Side)
(9)Inline Connector 350 (Headliner Harness Side)
(10)Inline Connector 397 (Auxiliary HVAC Harness Side)
(11)Inline Connector 397 (RH Body Harness Side)
Figure 34:

Trailer Receptacle


Object Number: 349942  Size: MF
(1)Platform Assembly Trailer Weight Distribution Hitch
(1)Platform Assembly Trailer Weight Distribution Hitch
(2)Trailer Wiring Receptacle
(3)Trailer Wiring Receptacle Bracket
(3)Trailer Wiring Receptacle Bracket
Figure 35:

Trailer Wiring Harness


Object Number: 349960  Size: MF
(1)Trailer Wiring Connector
(2)Trailer Wiring Receptacle
(3)Frame
(4)Trailer Hitch Receiver
Figure 36:

Rear Frame -- Rear Lamp Components


Object Number: 309877  Size: MF
(1)Rear Lamp Bussing Block Bracket
(2)Rear Lamp Bussing Block
(3)Rear Cross Sill
(4)Rear Lamps Bussing Block Electrical Connector
Figure 37:

LR Frame -- Camper Provision


Object Number: 309959  Size: MF
(1)Camper Wiring Harness
(2)Frame
(3)Camper Wiring Harness Connector