GM Service Manual Online
For 1990-2009 cars only
Makes
🢒
Cadillac
🢒
2003
🢒
Escalade EXT
🢒
Body and Accessories
🢒
Doors
🢒 Outside Rearview Mirror Schematics
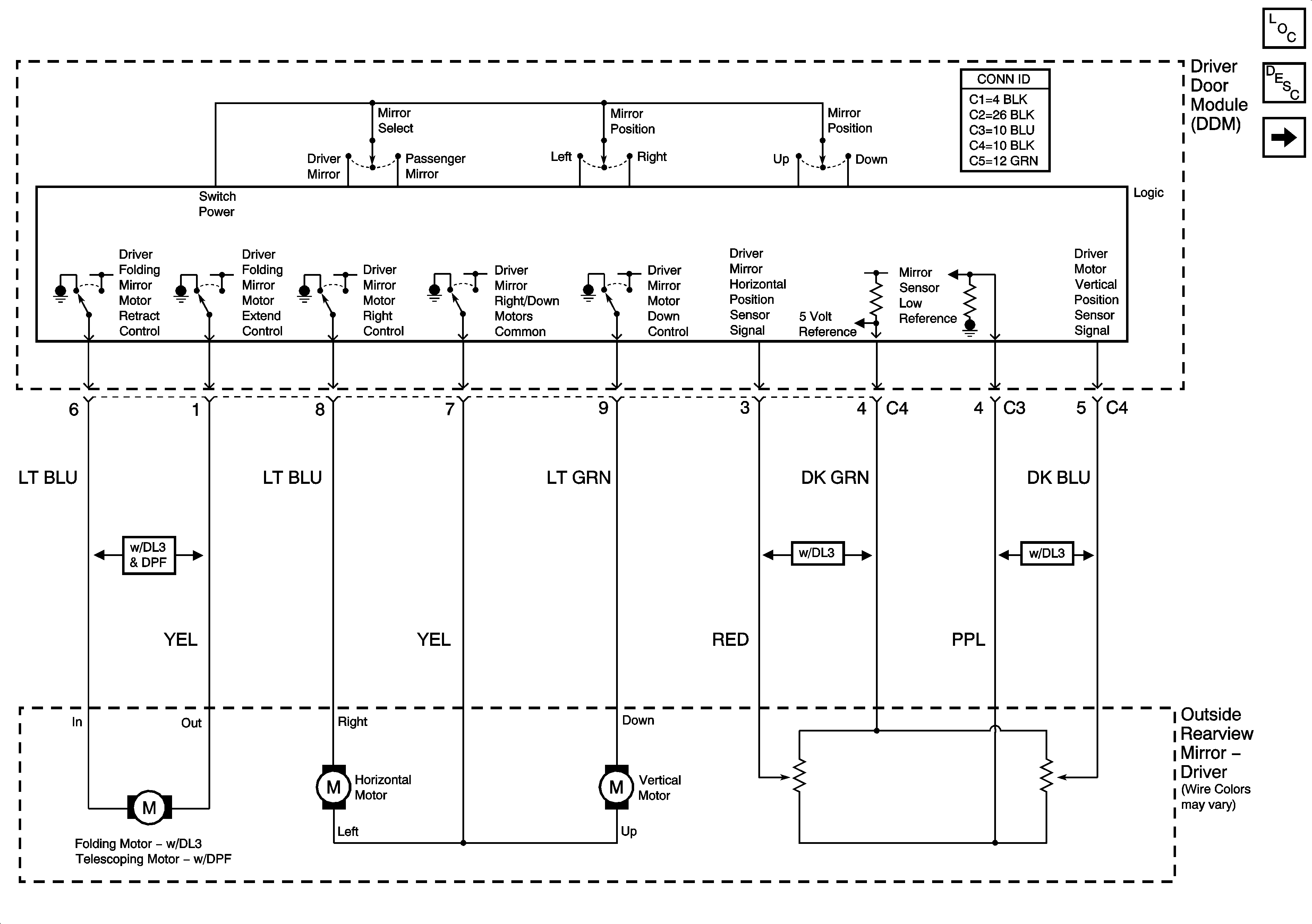
Figure
1:
Mirror Motors and Position Sensors - Driver
Master Electrical Component List
Outside Mirror Description and Operation Power Mirrors
Mirror Motors and Position Sensors - Front Passenger
Figure
2:
Mirror Motors and Position Sensors - Front Passenger
Master Electrical Component List
Outside Mirror Description and Operation Power Mirrors
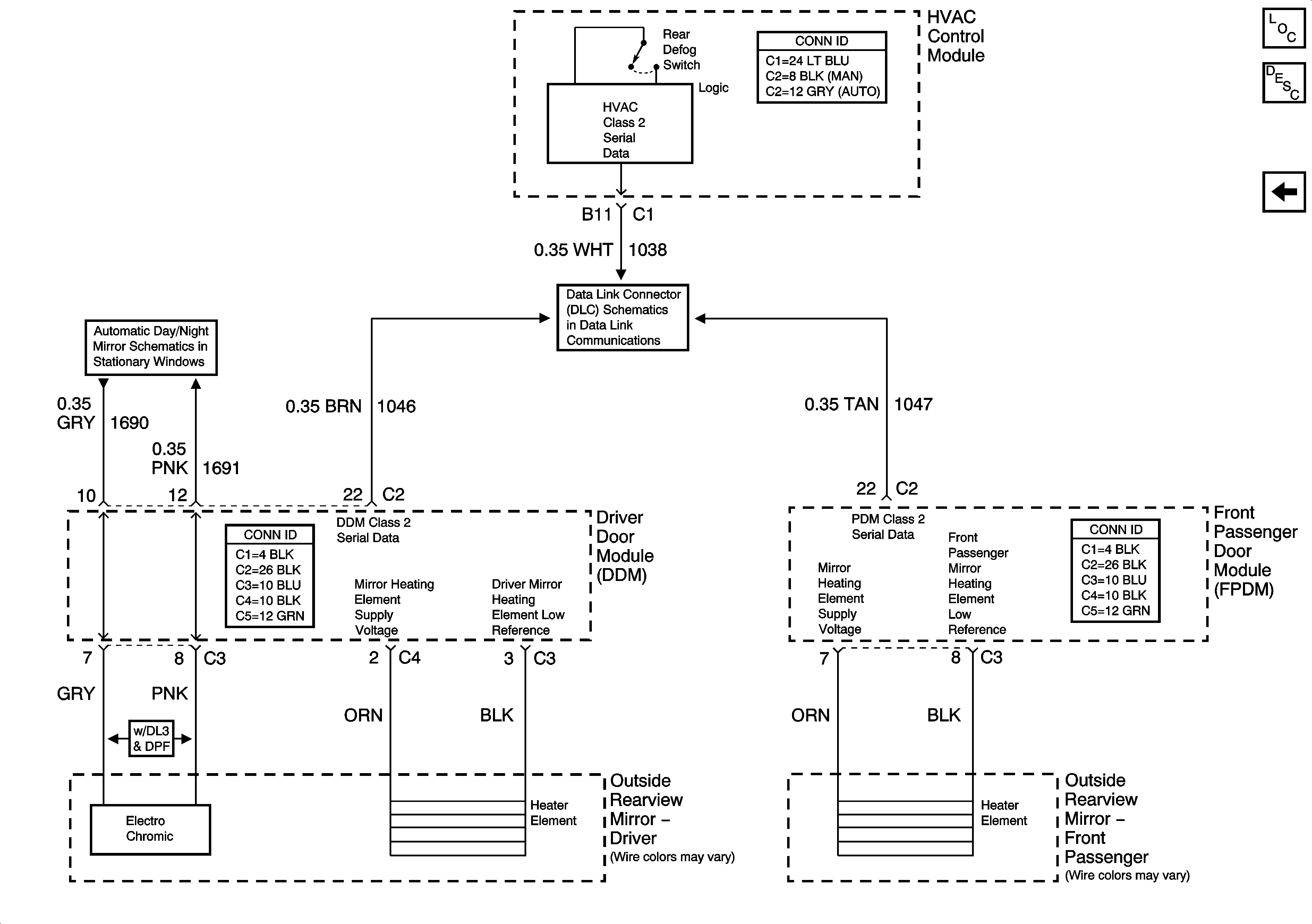
Heated Mirror and Electrochromatic Controls
Mirror Motors and Position Sensors - Driver
Figure
3:
Heated Mirror and Electrochromatic Controls
Master Electrical Component List
Outside Mirror Description and Operation Heated Mirrors
Mirror Motors and Position Sensors - Front Passenger
SP205 - 1 of 2
Ground and Electrochromic