GM Service Manual Online
For 1990-2009 cars only
Table 1: Door Contact Plate - Left (Body Side)
Table 2: Door Contact Plate - Left (Door Side)
Table 3: Door Contact Plate - Right C1 (Body Side)
Table 4: Door Contact Plate - Right C1 (Door Side)
Table 5: Door Contact Plate - Right C2 (Body Side)
Table 6: Door Contact Plate - Right C2 (Door Side)
Table 7: Door Lock Actuator - Cargo/Lift Gate, All Except Avalanche/Escalade EXT
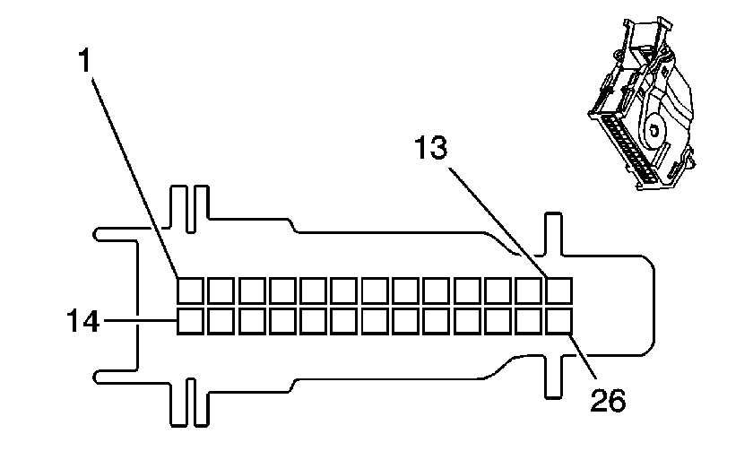
Table 8: Driver Door Module (DDM) C1
Table 9: Driver Door Module (DDM) C2
Table 10: Driver Door Module (DDM) C3
Table 11: Driver Door Module (DDM) C4
Table 12: Driver Door Module (DDM) C5
Table 13: Front Passenger Door Module (FPDM) C1
Table 14: Front Passenger Door Module (FPDM) C2
Table 15: Front Passenger Door Module (FPDM) C3
Table 16: Front Passenger Door Module (FPDM) C4
Table 17: Front Passenger Door Module (FPDM) C5 (Passenger Heated Seat Switch)
Table 18: Mini Wedge (Door Jamb Switch) - Driver C1
Table 19: Mini Wedge (Door Jamb Switch) - Driver C2
Table 20: Mini Wedge (Door Jamb Switch) - Driver C3
Table 21: Mini Wedge (Door Jamb Switch) - Front Passenger C1
Table 22: Mini Wedge (Door Jamb Switch) - Front Passenger C2
Table 23: Mini Wedge (Door Jamb Switch) - Front Passenger C3
Table 24: Mini Wedge (Door Jamb Switch) - LR C1
Table 25: Mini Wedge (Door Jamb Switch) - LR C2
Table 26: Mini Wedge (Door Jamb Switch) - RR C1
Table 27: Mini Wedge (Door Jamb Switch) - RR C2
Table 28: Window Switch - LR
Table 29: Window Switch - RR
Table 30: Window Motor - Driver
Table 31: Window Motor - Front Passenger
Table 32: Window Motor - LR/RR

Door Contact Plate - Left (Body Side)


Object Number: 62450  Size: CH

Connector Part Information

    • 12052856
    • 4-Way F Metri-Pack 280 (BLK)

Pin

Wire Color

Circuit No.

Function

A

PPL

293

Rear Defog Element Supply Voltage

B

PPL

293

Rear Defog Element Supply Voltage

C

PNK/BLK

1303

Cargo/Lift Gate Ajar Switch Signal

D

BLK

1450

Ground

Door Contact Plate - Left (Door Side)


Object Number: 62450  Size: CH

Connector Part Information

    • 12052856
    • 4-Way F Metri-Pack 280 (BLK)

Pin

Wire Color

Circuit No.

Function

A

BLK

1450

Ground

B-C

--

--

Not Used

D

PPL

293

Rear Defog Element Supply Voltage

Door Contact Plate - Right C1 (Body Side)


Object Number: 62450  Size: CH

Connector Part Information

    • 12052856
    • 4-Way F Metri-Pack 280 (BLK)

Pin

Wire Color

Circuit No.

Function

A

--

--

Not Used

B

BLK

1450

Ground

C

PNK/BLK

1303

Cargo Door Ajar Switch Signal

PNK/BLK

1303

Cargo Door Ajar Switch Signal

D

PPL

293

Rear Defog Element Supply Voltage

Door Contact Plate - Right C1 (Door Side)


Object Number: 62450  Size: CH

Connector Part Information

    • 12052856
    • 4-Way F Metri-Pack 280 (BLK)

Pin

Wire Color

Circuit No.

Function

A

PPL

293

Rear Defog Element Supply Voltage

B

PNK/BLK

1303

Lift Gate Ajar Switch Signal

C

BLK

1450

Ground

BLK

1450

Ground

D

BLK

1450

Ground

Door Contact Plate - Right C2 (Body Side)


Object Number: 655675  Size: CH

Connector Part Information

    • 12041431
    • 3-Way F M/P 280 (BLK)

Pin

Wire Color

Circuit No.

Function

A

LT GRN

265

Passenger Door Key Switch Signal

B

TAN

294

Door Lock Actuator Unlock Control

C

GRY

295

Door Lock Actuator Lock Control

Door Contact Plate - Right C2 (Door Side)


Object Number: 655675  Size: CH

Connector Part Information

    • 12041431
    • 3-Way F M/P 280 (BLK)

Pin

Wire Color

Circuit No.

Function

A

LT GRN

265

Passenger Door Key Switch Signal

B

TAN

294

Door Lock Actuator Unlock Control

C

GRY

295

Door Lock Actuator Lock Control

Door Lock Actuator - Cargo/Lift Gate, All Except Avalanche/Escalade EXT


Object Number: 684799  Size: CH

Connector Part Information

    • 12077900
    • 2-Way F Metri-pack 280 Series Sealed (BLK)

Pin

Wire Color

Circuit No.

Function

A

TAN

294

Door Lock Actuator Unlock Control

B

GRY

295

Door Lock Actuator Lock Control

Driver Door Module (DDM) C1


Object Number: 902725  Size: CH

Connector Part Information

    • 15411588
    • 4-Way F AMP 2.8 mm Sealed (BLK)

Pin

Wire Color

Circuit No.

Function

1

BRN

165

Power Window Motor Left Front Down Control

2

ORN

1240

Battery Positive Voltage

3

DK BLU

164

Power Window Motor Left Front Up Control

4

BLK

1050

Ground

Driver Door Module (DDM) C2


Object Number: 845629  Size: CH

Connector Part Information

    • 15398841
    • 26-Way F AMP Lever Assist (BLK)

Pin

Wire Color

Circuit No.

Function

1

YEL

5129

Adjustable Pedals Relay Rearward Control

2

DK BLU

536

Driver Door Key Switch Low Reference

3

BRN

1183

Left Front Door Switch Low Reference

4

DK BLU

660

Left Courtesy Lamp Control

5-9

--

--

Not Used

10

GRY

1690

Automatic Day/Night Mirror Signal

11

LT BLU

2114

Left Turn Signal Lamps Supply Voltage

12

PNK

1691

Automatic Day/Night Mirror Low Reference

13

DK BLU/

WHT

149

Courtesy Lamp Supply Voltage

14

ORN

4140

Battery Positive Voltage

15

LT GRN

262

Driver Door Key Switch Signal

16-17

--

--

Not Used

18

GRY/BLK

745

Left Front Door Ajar Switch Signal

19

--

--

Not Used

20

TAN

294

Door Lock Actuator Unlock Control

21

GRY

295

Door Lock Actuator Lock Control

22

BRN

1046

DDM Class 2 Serial Data

23

--

--

Not Used

24

LT BLU

5499

Adjustable Pedals Relay Control

25

LT BLU

5499

Adjustable Pedals Relay Control

26

PPL

5130

Adjustable Pedals Relay Forward Control

Driver Door Module (DDM) C3


Object Number: 850873  Size: CH

Connector Part Information

    • 6383393-7
    • 10-Way F 0.64 mm Unsealed AMP (BLU)

Pin

Wire Color

Circuit No.

Function

1

BRN/WHT

--

Left Turn Signal Low Reference

2

GRY/BLK

--

Left Turn Signal Control

3

BLK

--

Driver Mirror Heating Element Low Reference

4

PPL

--

Mirror Sensor Low Reference

5

--

--

Not Used

6

ORN/BLK

--

Left Door Exterior Courtesy Lamp Supply Voltage

7

GRY

--

Automatic Day/Night Mirror Signal

8

PNK

--

Automatic Day/Night Mirror Low Reference

9

BLK

--

Left Door Exterior Courtesy Lamp Ground

10

--

--

Not Used

Driver Door Module (DDM) C4


Object Number: 850870  Size: CH

Connector Part Information

    • 6383393-5
    • 10-Way F 0.64 mm Unsealed AMP (BLK)

Pin

Wire Color

Circuit No.

Function

1

YEL

--

Driver Folding Mirror Motor Extend Control

2

ORN

--

Mirror Heating Element Supply Voltage

3

RED

--

Driver Mirror Horizontal Position Sensor Signal

4

DK GRN

--

5 Volt Reference

5

DK BLU

--

Driver Mirror Vertical Position Sensor Signal

6

LT BLU

--

Driver Folding Mirror Motor Retract Control

7

YEL

--

Driver Mirror Right/Down Motors Common

8

LT BLU

--

Driver Mirror Motor Right Control

9

LT GRN

--

Driver Mirror Motor Down Control

10

--

--

Not Used

Driver Door Module (DDM) C5


Object Number: 849815  Size: CH

Connector Part Information

    • 683394-4
    • 12-Way F 0.64 mm Unsealed AMP (GRN)

Pin

Wire Color

Circuit No.

Function

1

WHT/BLK

--

Driver Heated Seat Medium Temperature Indicator Control

2

YEL

--

Driver Heated Seat Low Temperature Indicator Control

3

GRY

--

Driver Heated Seat Back Only Mode Switch Signal

4

LT BLU

--

Memory/Heated Seat Switch Backlight

5

PNK

--

Memory 2 Switch Signal

6

TAN

--

Adjustable Pedals Forward Control

7

DK GRN

--

Driver Heated Seat High Temperature Indicator Control

8

BLK

--

Driver Heated Seat Back Only Indicator Control

9

DK BLU

--

Driver Heated Seat Temperature Switch Signal

10

RED

--

Memory 1 Switch Signal

11

BRN

--

Switch Power

12

ORN

--

Electronic Adjustable Pedals Rearward Control

Front Passenger Door Module (FPDM) C1


Object Number: 902725  Size: CH

Connector Part Information

    • 15393410
    • 4-Way F 2.8mm Sealed AMP (BLK)

Pin

Wire Color

Circuit No.

Function

1

BRN

667

Power Window Motor Right Front Down Control

2

ORN

1340

Battery Positive Voltage

3

BLK

1050

Ground

4

DK BLU

666

Power Window Motor Right Front Up Control

Front Passenger Door Module (FPDM) C2


Object Number: 845629  Size: CH

Connector Part Information

    • 15398841
    • 26-Way F AMP Lever Assist (BLK)

Pin

Wire Color

Circuit No.

Function

1-4

--

--

Not Used

5

BLK/WHT

746

Right Front Door Ajar Switch Signal

6

LT BLU

537

Passenger Door Key Switch Low Reference

7

--

--

Not Used

8

WHT

156

Courtesy Lamp Supply Voltage

9

--

--

Not Used

10

GRY

295

Door Lock Actuator Lock Control

11

TAN

294

Door Lock Actuator Unlock Control

12-13

--

--

Not Used

14

ORN

4240

Battery Positive Voltage

15-18

--

--

Not Used

19

LT BLU

661

Right Courtesy Lamp Control

20

DK GRN

1178

Right Front Door Switch Low Reference

21

--

--

Not Used

22

TAN

1047

PDM Class 2 Serial Data

23

--

--

Not Used

24

LT GRN

265

Passenger Door Key Switch Signal

25

--

--

Not Used

26

DK BLU

2115

Right Turn Signal Lamps Supply Voltage

Front Passenger Door Module (FPDM) C3


Object Number: 850873  Size: CH

Connector Part Information

    • 6383393-7
    • 10-Way F 0.64 mm Unsealed AMP (BLU)

Pin

Wire Color

Circuit No.

Function

1

WHT/RED

--

Front Passenger Mirror Motor Right Control

2

WHT

--

Front Passenger Mirror Right/Down Motors Common

3

YEL

--

Front Passenger Folding Mirror Motor Extend Control

4

LT BLU

--

Front Passenger Folding Mirror Motor Retract Control

5

ORN/BLK

--

Right Door Exterior Courtesy Lamp Supply Voltage

6

PPL/WHT

--

Front Passenger Mirror Motor Down Control

7

ORN

--

Mirror Heating Element Supply Voltage

8

BLK

--

Mirror Heating Element Low Reference

9

BLK

--

Right Door Exterior Courtesy Lamp Ground

10

GRY/BLK

--

Right Turn Signal Control

Front Passenger Door Module (FPDM) C4


Object Number: 850870  Size: CH

Connector Part Information

    • 6383393-5
    • 10-Way F 0.64 mm Unsealed AMP (BLK)

Pin

Wire Color

Circuit No.

Function

1

DK GRN

--

5 Volt Reference

2

RED

--

Front Passenger Mirror Vertical Position Sensor Signal

3

PPL

--

Mirror Sensor Low Reference

4

DK BLU

--

Front Passenger Mirror Horizontal Position Sensor Signal

5

BRN/WHT

--

Right Turn Signal Low Reference

6-10

--

--

Not Used

Front Passenger Door Module (FPDM) C5 (Passenger Heated Seat Switch)


Object Number: 849815  Size: CH

Connector Part Information

    • 683394-4
    • 12-Way F 0.64 mm Unsealed AMP (GRN)

Pin

Wire Color

Circuit No.

Function

1

YEL

--

Front Passenger Heated Low Temperature Indicator Control

2

DK GRN

--

Front Passenger Heated Seat High Temperature Indicator Control

3

DK BLU

--

Front Passenger Heated Seat Temperature Switch Signal

4

GRY

--

Front Passenger Heated Seat Back Only Mode Switch Signal

5

--

--

Not Used

6

BRN

--

Battery Positive Voltage

7

BLK

--

Front Passenger Heated Seat Back only Indicator Control

8

WHT/BLK

--

Front Passenger Heated Seat Medium Temperature Indicator Control

9-11

--

--

Not Used

12

LT BLU

--

Heated Seat Switch Backlight

Mini Wedge (Door Jamb Switch) - Driver C1


Object Number: 68721  Size: CH

Connector Part Information

    • 15300027
    • 2-Way F Metri-Pack 280 Series Sealed (BLK)

Pin

Wire Color

Circuit No.

Function

A

TAN

294

Door Lock Actuator Unlock Control

B

GRY

295

Door Lock Actuator Lock Control

Mini Wedge (Door Jamb Switch) - Driver C2


Object Number: 684972  Size: CH

Connector Part Information

    • 15366025
    • 3-Way F GT 150 SLD 3.2 X 4.0 (LT GRY)

Pin

Wire Color

Circuit No.

Function

A

--

--

Not Used

B

GRY/BLK

745

Left Front Door Ajar Switch Signal

C

--

--

Not Used

D

BRN

1183

Left Front Door Switch Low Reference

Mini Wedge (Door Jamb Switch) - Driver C3


Object Number: 684793  Size: CH

Connector Part Information

    • 12052642
    • 2-Way F Metri-Pack 150 Series Sealed (LT GRN)

Pin

Wire Color

Circuit No.

Function

A

DK BLU

536

Driver Door Key Switch Low Reference

B

LT GRN

262

Driver Door Key Switch Signal

Mini Wedge (Door Jamb Switch) - Front Passenger C1


Object Number: 68721  Size: CH

Connector Part Information

    • 15300027
    • 2-Way F Metri-Pack 280 Series Sealed (BLK)

Pin

Wire Color

Circuit No.

Function

A

TAN

294

Door Lock Actuator Unlock Control

B

GRY

295

Door Lock Actuator Lock Control

Mini Wedge (Door Jamb Switch) - Front Passenger C2


Object Number: 684974  Size: CH

Connector Part Information

    • 15366027
    • 2-Way F GT 150 SLD 3.2 X 4.0 (BLU)

Pin

Wire Color

Circuit No.

Function

A

DK GRN

1178

Right Front Door Switch Low Reference

B

--

--

Not Used

C

BLK/WHT

746

Right Front Door Ajar Switch Signal

D

--

--

Not Used

Mini Wedge (Door Jamb Switch) - Front Passenger C3


Object Number: 684793  Size: CH

Connector Part Information

    • 12052642
    • 2-Way F Metri-Pack 150 Series Sealed (LT GRN)

Pin

Wire Color

Circuit No.

Function

A

LT BLU

537

Passenger Door Key Switch Low Reference

B

LT GRN

265

Passenger Door Key Switch Signal

Mini Wedge (Door Jamb Switch) - LR C1


Object Number: 68721  Size: CH

Connector Part Information

    • 15300027
    • 2-Way F Metri-Pack 280 Series Sealed (BLK)

Pin

Wire Color

Circuit No.

Function

A

TAN

294

Door Lock Actuator Unlock Control

B

GRY

295

Door Lock Actuator Lock Control

Mini Wedge (Door Jamb Switch) - LR C2


Object Number: 684972  Size: CH

Connector Part Information

    • 15366025
    • 2-Way F GT 150 Sealed 3.2x4.0 (GRY)

Pin

Wire Color

Circuit No.

Function

A

--

--

Not Used

B

LT BLU/BLK

747

Left Rear Door Ajar Switch Signal

C

--

--

Not Used

D

BLK

1150

Ground

Mini Wedge (Door Jamb Switch) - RR C1


Object Number: 68721  Size: CH

Connector Part Information

    • 15300027
    • 2-Way F Metri-Pack 280 Series Sealed (BLK)

Pin

Wire Color

Circuit No.

Function

A

TAN

294

Door Lock Actuator Unlock Control

B

GRY

295

Door Lock Actuator Lock Control

Mini Wedge (Door Jamb Switch) - RR C2


Object Number: 684972  Size: CH

Connector Part Information

    • 15366027
    • 2-Way F GT 150 Sealed 3.2x4.0 (GRY)

Pin

Wire Color

Circuit No.

Function

A

BLK

1250

Ground

B

--

--

Not Used

C

LT BLU/

BLK

748

Right Rear Door Ajar Switch Signal

D

--

--

Not Used

Window Switch - LR


Object Number: 333036  Size: CH

Connector Part Information

    • 12191825
    • 8-Way Metri-pack 280 Series (BRN)

Pin

Wire Color

Circuit No.

Function

A

ORN

1240

Battery Positive Voltage

B

YEL

1187

Power Window Switch Left Rear Down Signal

C

WHT

1185

Power Window Switch Left Rear Up Signal

D

LT BLU

2265

Power Window Lockout Left Rear Signal

E

BLK

1150

Ground

F

DK BLU

668

Power Window Motor Left Rear Up Control

G

BRN

669

Power Window Motor Left Rear Down Control

H

BRN/WHT

230

Instrument Panel Lamps Dimming Control

Window Switch - RR


Object Number: 333036  Size: CH

Connector Part Information

    • 12191825
    • 8-Way Metri-pack 280 Series (BRN)

Pin

Wire Color

Circuit No.

Function

A

ORN

1340

Battery Positive Voltage

B

YEL

1188

Power Window Switch Right Rear Down Signal

C

WHT

1186

Power Window Switch Right Rear Up Signal

D

LT BLU

2266

Power Window Lockout Right Rear Signal

E

BLK

1250

Ground

F

DK BLU

670

Power Window Motor Right Rear Up Control

G

BRN

671

Power Window Motor Right Rear Down Control

H

BRN/WHT

230

Instrument Panel Lamps Dimming Control

Window Motor - Driver


Object Number: 684837  Size: CH

Connector Part Information

    • 12129487
    • 2-Way F Metri-pack 280 Series Flexlock Sealed (GRY)

Pin

Wire Color

Circuit No.

Function

A

DK BLU

164

Power Window Motor Left Front Up Control

B

BRN

165

Power Window Motor Left Front Down Control

Window Motor - Front Passenger


Object Number: 684837  Size: CH

Connector Part Information

    • 12129487
    • 2-Way F Metri-pack 280 Series Flexlock Sealed (GRY)

Pin

Wire Color

Circuit No.

Function

A

DK BLU

666

Power Window Motor Right Front Up Control

B

BRN

667

Power Window Motor Right Front Down Control

Window Motor - LR/RR


Object Number: 684837  Size: CH

Connector Part Information

    • 12129487
    • 2-Way F Metri-pack 280 Series Flexlock Sealed (GRY)

Pin

Wire Color

Circuit No.

Function

A

DK BLU

668

Power Window Motor Left Rear Up Control (Left)

A

DK BLU

670

Power Window Motor Right Rear Up Control (Right)

B

BRN

669

Power Window Motor Left Rear Down Control (Left)

B

BRN

671

Power Window Motor Right Rear Down Control (Right)