GM Service Manual Online
For 1990-2009 cars only

Luggage Carrier Replacement All Except Z-71

Removal Procedure


    Object Number: 586010  Size: SH
  1. Remove the rear pad covers.
  2. Remove the cross rails by releasing the lever on both sides and sliding toward rear of vehicle.
  3. Remove the side rail attaching bolts.
  4. Remove the side rail(s).

Installation Procedure


    Object Number: 586010  Size: SH
  1. Install the side rail(s).
  2. Notice: Use the correct fastener in the correct location. Replacement fasteners must be the correct part number for that application. Fasteners requiring replacement or fasteners requiring the use of thread locking compound or sealant are identified in the service procedure. Do not use paints, lubricants, or corrosion inhibitors on fasteners or fastener joint surfaces unless specified. These coatings affect fastener torque and joint clamping force and may damage the fastener. Use the correct tightening sequence and specifications when installing fasteners in order to avoid damage to parts and systems.

  3. Install the side rail attaching bolts.
  4. Tighten
    Tighten the bolts 4 N·m (35 lb in).

  5. Install the cross rails by sliding toward front of vehicle and engaging lever on both sides.
  6. Install the rear pad covers by snapping into place.

Luggage Carrier Replacement Z-71

Removal Procedure


    Object Number: 752873  Size: SH
  1. Remove the 2 inboard fasteners from the luggage carrier base covers.
  2. Remove the base covers.
  3. Remove the fasteners from the front bases.

  4. Object Number: 752870  Size: SH
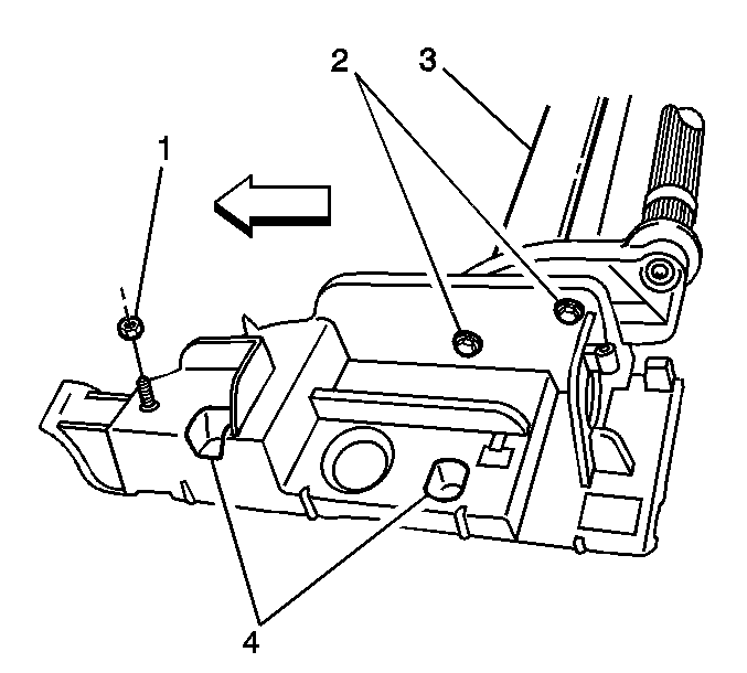
  5. Remove the fasteners (1) from each side of the rear base.
  6. Remove the roller bar/rear cross rail assembly (3) from the vehicle.
  7. Remove the fasteners (4) from the side rail/rear base.

  8. Object Number: 752862  Size: SH
  9. With an assistant, pull gently back on the carrier (1) in order to release the carrier from the supports.
  10. With an assistant, lift the carrier assembly up and off the vehicle.

  11. Object Number: 752867  Size: SH
  12. Remove the fasteners from the center supports.
  13. Remove the center supports with pads from the vehicle.

  14. Object Number: 752870  Size: SH
  15. Remove the rear base fasteners (2) from the vehicle.
  16. Remove the rear bases with pads from the vehicle.

Installation Procedure


    Object Number: 752870  Size: SH
  1. Install the rear bases with pads attached to the vehicle.
  2. Notice: Use the correct fastener in the correct location. Replacement fasteners must be the correct part number for that application. Fasteners requiring replacement or fasteners requiring the use of thread locking compound or sealant are identified in the service procedure. Do not use paints, lubricants, or corrosion inhibitors on fasteners or fastener joint surfaces unless specified. These coatings affect fastener torque and joint clamping force and may damage the fastener. Use the correct tightening sequence and specifications when installing fasteners in order to avoid damage to parts and systems.

  3. Install the rear base fasteners (2).
  4. Tighten
    Tighten the rear base fasteners to 2 N·m (18 lb in).


    Object Number: 752867  Size: SH
  5. Install the center supports with pads to the vehicle.
  6. Install the support fasteners.
  7. Tighten
    Tighten the support fasteners to 3 N·m (27 lb in).


    Object Number: 752862  Size: SH
  8. With an assistant, lift the carrier (1) to the vehicle roof.
  9. With an assistant, set the carrier assembly rails on the rear support assembly and pull forward, locking the carrier to the supports.

  10. Object Number: 752870  Size: SH
  11. Install the fasteners (4) to the side rail/rear base.
  12. Tighten
    Tighten the side rail/rear base fasteners to 3 N·m (27 lb in).

  13. Install the roller bar/rear cross rail assembly to the vehicle.
  14. Install the fasteners (1) to each side of the rear base.
  15. Tighten
    Tighten the rear base fasteners to 3 N·m (27 lb in).

  16. Install the fasteners to the front bases.
  17. Tighten
    Tighten the front base fasteners to 3 N·m (27 lb in).


    Object Number: 752873  Size: SH
  18. Install the base covers.
  19. Install the inboard fasteners to the luggage carrier base covers.
  20. Tighten
    Tighten the luggage carrier base cover fasteners to 1.2 N·m (11 lb in).

Luggage Carrier Replacement Avalanche

Removal Procedure


    Object Number: 787406  Size: SH
  1. Depress the tabs and remove rear rail covers (2).
  2. Remove the rear support retainers.
  3. Remove the rear supports and gaskets from the roof (3).

  4. Object Number: 787409  Size: SH
  5. Unlock the cross rails (2).
  6. Slide the rear and front cross rails from the carrier assembly (1).
  7. Remove the retainers from the side rails.
  8. Remove the side rail assemblies from the roof.

Installation Procedure


    Object Number: 787406  Size: SH
  1. Install the side rail assemblies (1) to the roof and align to the existing Welnuts.
  2. Install the retainers to the side rails and hand tighten.
  3. Notice: Use the correct fastener in the correct location. Replacement fasteners must be the correct part number for that application. Fasteners requiring replacement or fasteners requiring the use of thread locking compound or sealant are identified in the service procedure. Do not use paints, lubricants, or corrosion inhibitors on fasteners or fastener joint surfaces unless specified. These coatings affect fastener torque and joint clamping force and may damage the fastener. Use the correct tightening sequence and specifications when installing fasteners in order to avoid damage to parts and systems.

  4. Torque the side rail retainers in this order.
  5. Tighten
    Tightenthe side rail retainers to 2 N·m (20 lb in).

    3.1. Torque the second hole from the front.
    3.2. Torque the first hole.
    3.3. Torque the third and forth holes.

    Object Number: 787409  Size: SH
  6. Install the front cross rail assembly (2) to the side rails (1), stopping at the second or third notch from the front of each rail.
  7. Depress the adjuster handles to lock each side.
  8. Install the rear cross rail to the side rails, stopping at the second or third engagement notch.
  9. Depress the adjuster handle to lock each side.

  10. Object Number: 787406  Size: SH
  11. Install the rear rail covers (2) by inserting the legs of the cover and rotating cover down to engage the retainer.