GM Service Manual Online
For 1990-2009 cars only

Removal Procedure


Object Number: 1527057  Size: SH

The service assembly for the left and the right rear frame rails is pre-sleeved, mild steel, hydro-formed parts. The assembly includes the body support mounting bracket, a trailer hitch and rear bumper mounting holes.


Object Number: 1527872  Size: SH

Important: The position of the rear cross-member (1) varies upon the wheel-base of the vehicle. This procedure applies to all vehicles.

    Caution: Refer to Approved Equipment for Collision Repair Caution in the Preface section.

    Caution: Refer to Collision Sectioning Caution in the Preface section.

  1. Disconnect the negative battery cable. Refer to Battery Negative Cable Disconnection and Connection .

  2. Object Number: 1527047  Size: SH
  3. Remove all of the related panels and components.
  4. Repair as much of the damage as possible to factory specifications.

  5. Object Number: 1527052  Size: SH
  6. Locate the sectioning location by measuring 13 mm forward from the shipping slot (1) or 330 mm forward of the frame rail end. Scribe a line around the rail.

  7. Object Number: 1527053  Size: SH
  8. Using a cut-off wheel or equivalent, remove the weld which attaches the rear cross-member to the damaged frame rail.

  9. Object Number: 1527054  Size: SH
  10. Move the cross-member clear of the damaged frame rail.

  11. Object Number: 1527256  Size: SH

    Important: Align the edge of the masking tape with the sectioning location.

  12. Apply masking tape next to the sectioning location and around the frame as shown.

  13. Object Number: 1527702  Size: SH
  14. Cut the damaged frame rail along the sectioning location using a reciprocating saw or equivalent, as shown.

  15. Object Number: 1527064  Size: SH
  16. Remove the damaged frame section.

Installation Procedure


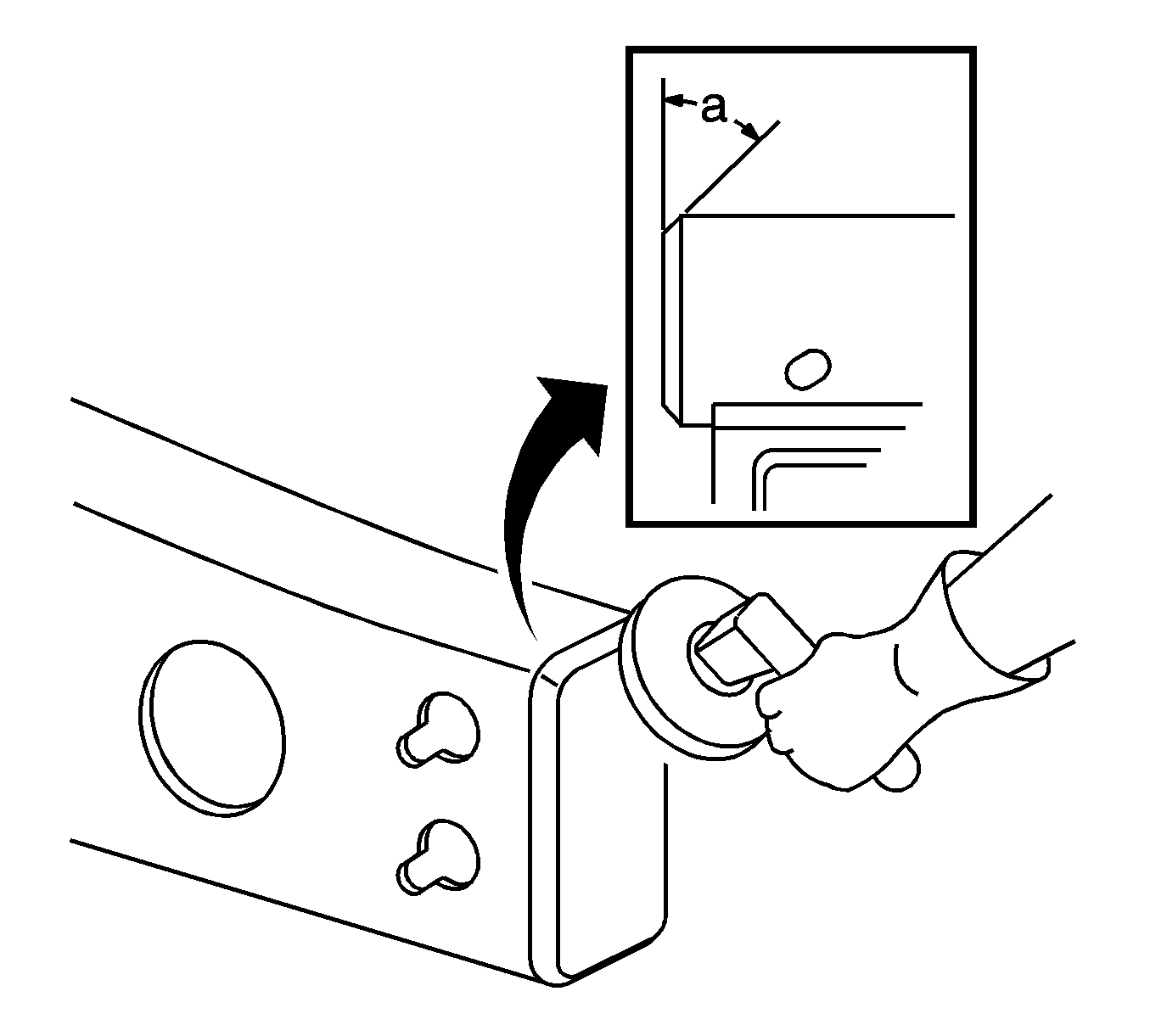
    Object Number: 1527065  Size: SH
  1. Grind the existing frame rail sectioning location to a 45 degree angle, as shown in the figure.
  2. Prepare all of the attaching surfaces as necessary.

  3. Object Number: 1527069  Size: SH
  4. Position the service frame section to the existing frame and clamp in place.

  5. Object Number: 1527075  Size: SH

    Important: Inspect the frame measurements three-dimensionally to ensure proper position of the service frame prior to welding.

  6. Continuous-weld the sectioning location completely around the rail.
  7. Lower and clamp the rear cross-member in place.

  8. Object Number: 1527077  Size: SH

    Important: Inspect the frame measurements three-dimensionally to ensure the proper position of the rear cross-member.

  9. Continuous-weld the cross-member to the frame rail.

  10. Object Number: 1527079  Size: SH
  11. Clean and prepare all of the welded surfaces.
  12. Apply the sealers and anti-corrosion materials to the repair area, as necessary. Refer to Anti-Corrosion Treatment and Repair .
  13. Install all of the related panels and components.
  14. Connect the negative battery cable. Refer to Battery Negative Cable Disconnection and Connection .