GM Service Manual Online
For 1990-2009 cars only

Removal Procedure


    Object Number: 674997  Size: MH
  1. Remove all related panels and components.
  2. Restore as much of the damage as possible to factory specifications.
  3. Note the location and remove the following as necessary:
  4. • The sealers
    • The sound deadeners
    • The anti-corrosion materials

    Important: Refer to Outer Door Frame Sectioning for specified sectioning locations. Sectioning outside of these areas may compromise the structural integrity of the vehicle.

  5. Perform additional sectioning procedures as necessary. Refer to the following procedures:
  6. •  Rocker Panel Sectioning
    •  Front Hinge Pillar Sectioning
    •  Center Pillar Sectioning
    •  Outer Door Frame Sectioning - Windshield Pillar

    Important: Do not damage the inner panels or reinforcements.

  7. Cut the pillar in the locations where sectioning is to be performed.
  8. Locate and drill out all factory welds. Note the number and location of the welds for installation of the service part.
  9. Remove the damaged pillar section.

Installation Procedure


    Object Number: 674985  Size: SH
  1. Cut the replacement pillar in corresponding locations to fit the remaining original panel. The sectioning joint should be trimmed to allow a gap of 1½ times the metal thickness at the sectioning joint.
  2. Create a 50 mm (2 in) backing plate (1) from the unused portion of the service part. Trim the backing plate as necessary to fit behind the sectioning joint.

  3. Object Number: 674986  Size: SH
  4. Perform additional sectioning procedures as necessary.
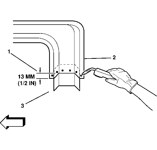
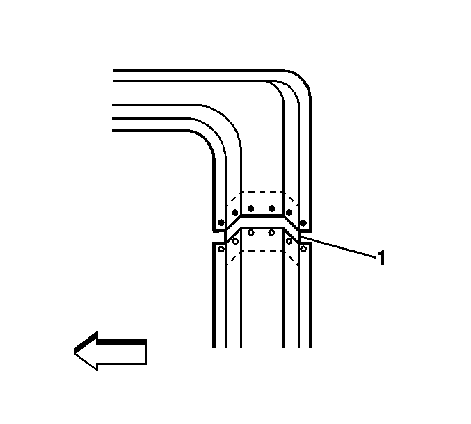
  5. Drill 8 mm (5/16 in) plug weld holes along the sectioning cut on the remaining original part. Locate these holes approximately 13 mm (1/2 in) from the edge (1) and spaced 40 mm (1 ½ in) apart.
  6. Caution: Foam sound deadeners must be removed from areas within 152.4 mm (6 in) of where flame is to be used for body repairs. When reinstalling foam sound deadeners, avoid inhaling fumes as bodily injury may result.

    Important: If the location of the original plug weld holes can not be determined, space the plug weld holes every 40 mm (1 1/2 in) apart.

  7. Drill 8 mm (5/16 in) plug weld holes in the service panel as necessary in the locations noted from the original panel and along the sectioning cut.
  8. Prepare all mating surfaces as necessary.
  9. Apply 3M Weld-Thru Coating P/N 05916 or equivalent to all mating surfaces.
  10. Fit the backing plate (3) halfway into the sectioning joint, clamp and plug weld to the vehicle.

  11. Object Number: 674989  Size: SH
  12. Align the rear lock pillar using 3-dimensional measuring equipment. The sectioning joint should be trimmed to allow a gap of 1½ times the metal thickness at the sectioning joint (1).
  13. Plug weld accordingly.
  14. To create a solid weld with minimum heat distortion, make 25 mm (1 in) stitch welds along the seam with 25 mm (1 in) gaps between them. Then, go back and complete the stitch weld.
  15. Clean and prepare all of the welded surfaces.
  16. Important: Prior to refinishing, refer to the publication GM4901M-D-2000 GM Approved Refinish Materials for recommended products. Do not combine paint systems. Refer to paint manufacturer's recommendations.

  17. Apply the following as necessary:
  18. • An approved anti-corrosion primer
    • The sound deadening materials
    • The sealers and the refinish materials
  19. Install all related panels and components.