GM Service Manual Online
For 1990-2009 cars only
Makes
🢒
Cadillac
🢒
2003
🢒
Escalade EXT
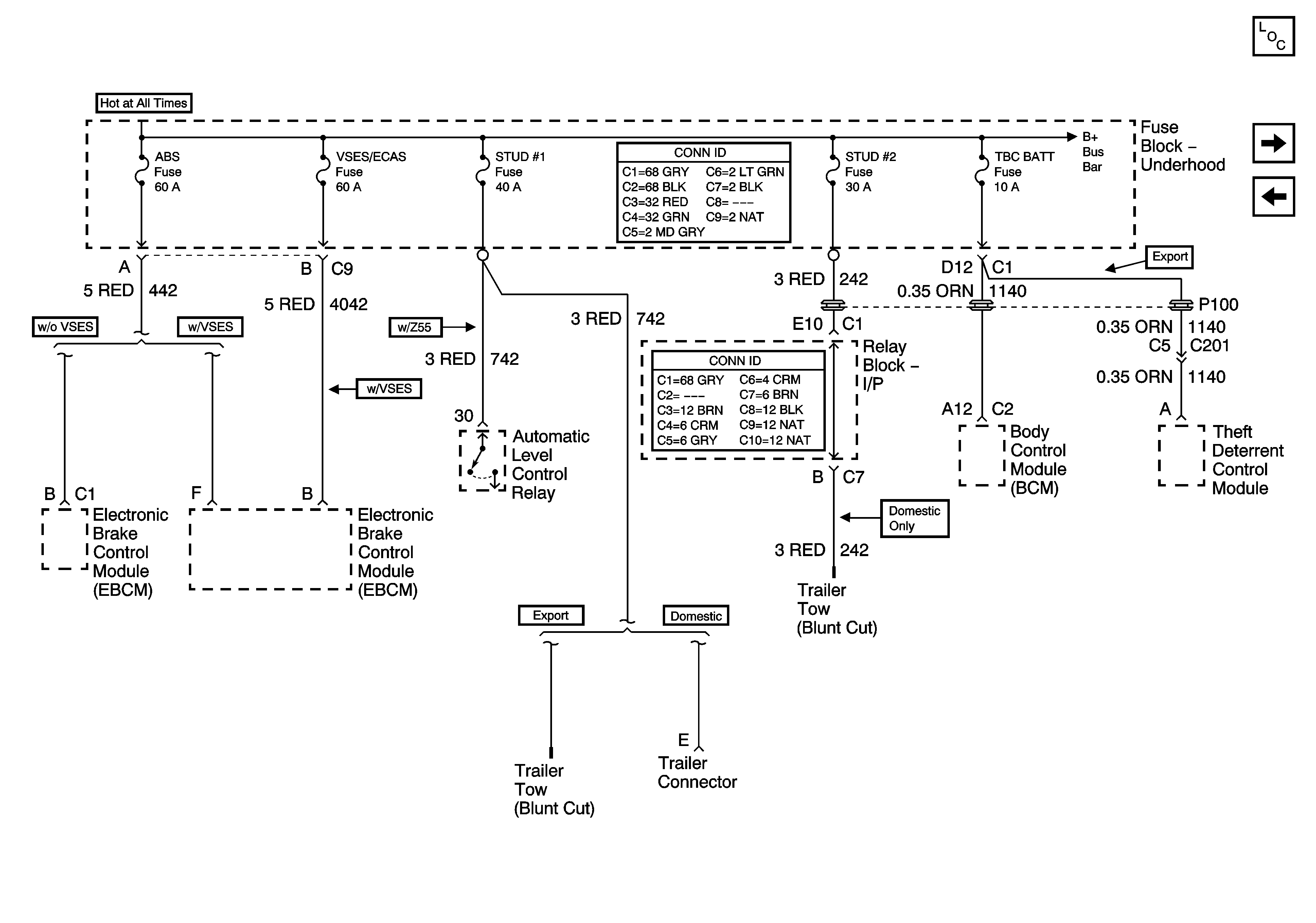
🢒 ABS, VSES/ECAS,STUD #1, STUD #2, TBC BATT
ABS, VSES/ECAS,STUD #1, STUD #2, TBC BATT
ABS, VSES/ECAS, STUD #1, STUD #2, TBC BATT
Master Electrical Component List
RADIO, RADIO AMP, 4WS
FLASH
B+ Bus Bar - 1 of 2