GM Service Manual Online
For 1990-2009 cars only
Makes
🢒
Cadillac
🢒
2003
🢒
Escalade EXT
🢒 Engine Cooling
Engine Cooling
Master Electrical Component List
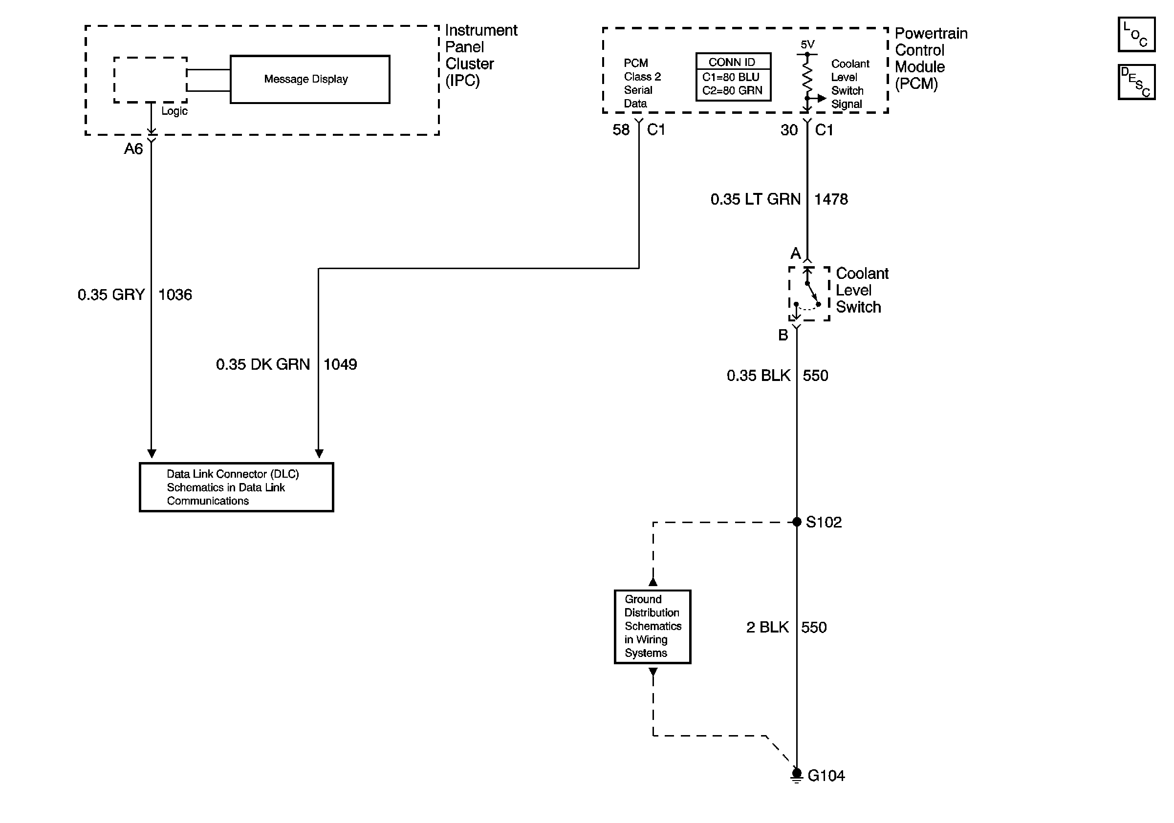
Cooling System Description and Operation
SP205 - 1 of 2
G104, G107