GM Service Manual Online
For 1990-2009 cars only
Makes
🢒
Cadillac
🢒
2003
🢒
Escalade EXT
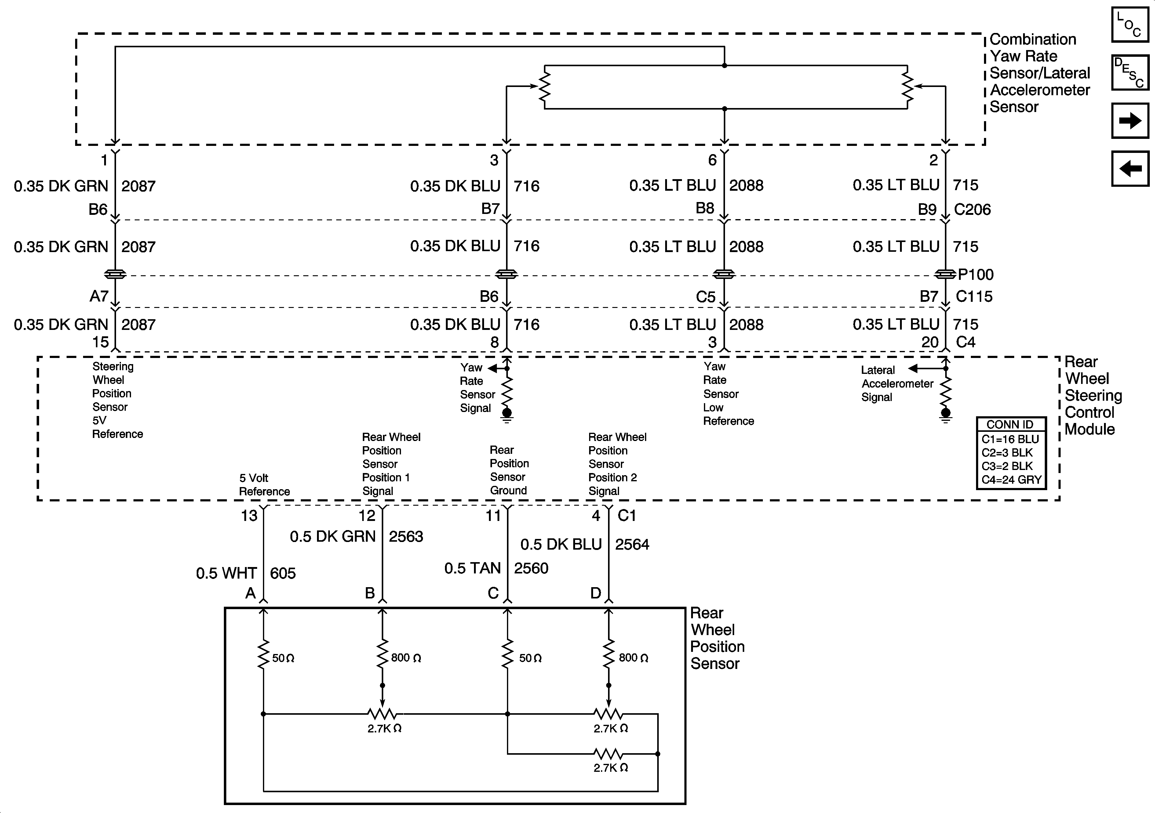
🢒 YAW/LAT and Rear Wheel Position Sensors
YAW/LAT and Rear Wheel Position Sensors
YAW/LAT and Rear Wheel Position Sensors
Master Electrical Component List
Rear Wheel Steering Description and Operation
Steering Gear Motor Assembly
Steering Wheel/Speed Position Sensor