GM Service Manual Online
For 1990-2009 cars only
Makes
🢒
Cadillac
🢒
2003
🢒
Escalade EXT
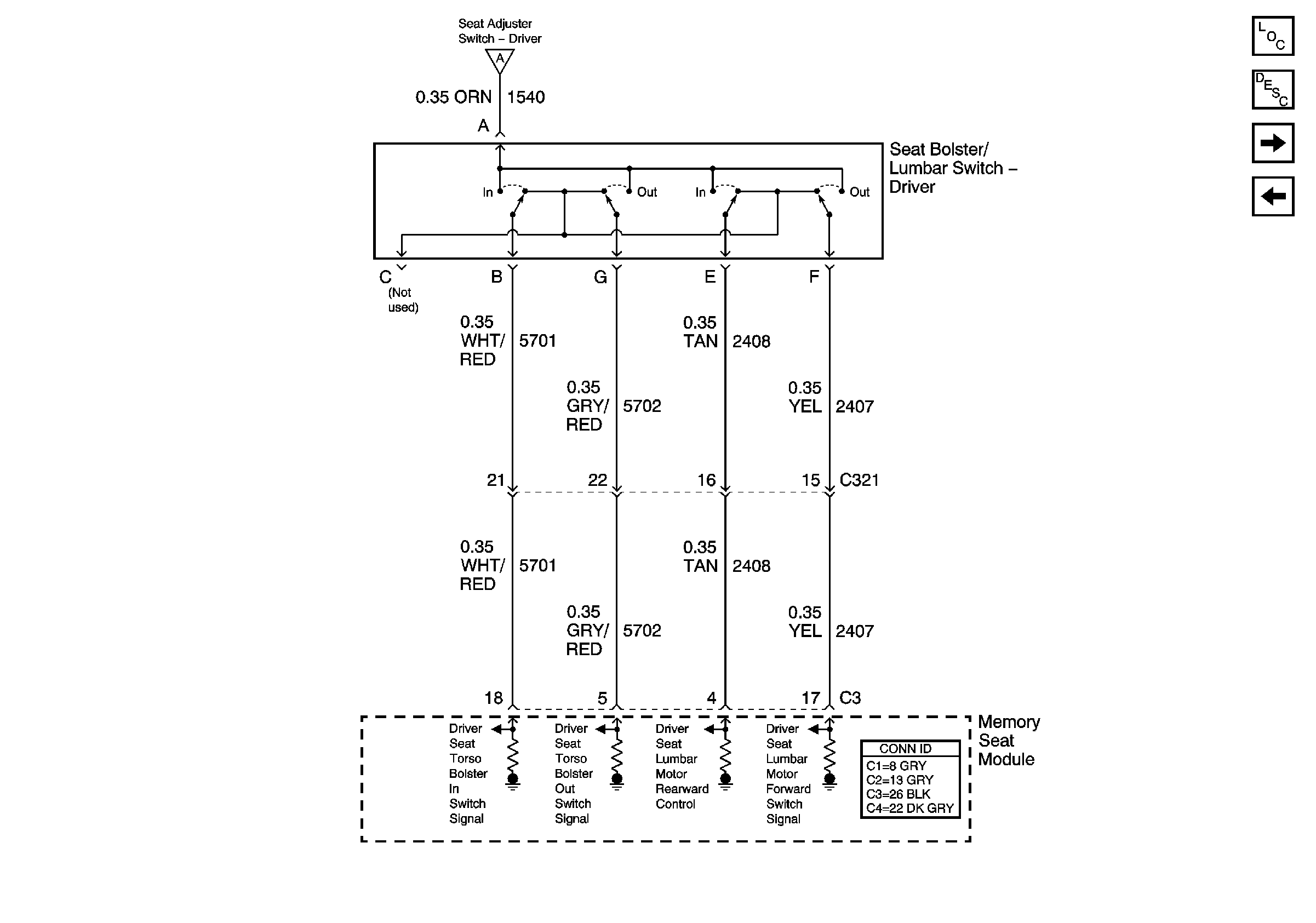
🢒 Lumbar/Bolster Switch
Lumbar/Bolster Switch
Lumbar/Bolster Switch
Master Electrical Component List
Memory Seats Description and Operation
Seat Motors - 1 of 2
Seat Adjuster Switch
Seat Adjuster Switch