GM Service Manual Online
For 1990-2009 cars only
Makes
🢒
Cadillac
🢒
2003
🢒
Escalade EXT
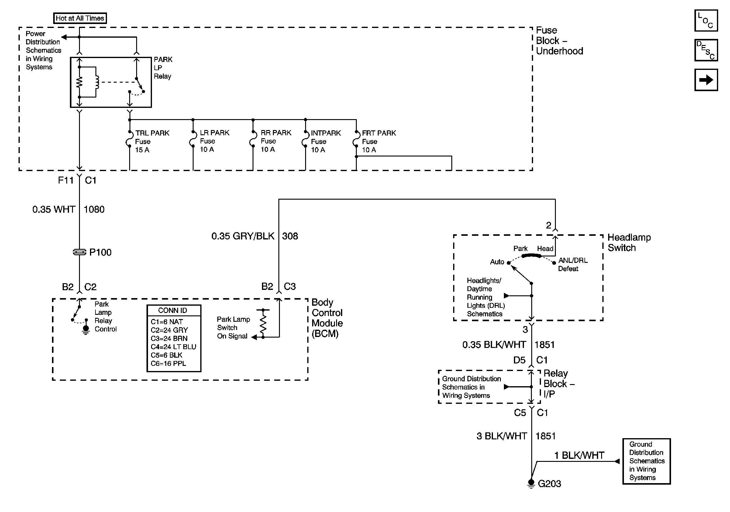
🢒 Park Lamp Relay - Domestic
Park Lamp Relay - Domestic
Park Lamp Relay - Domestic
Master Electrical Component List
Exterior Lighting Systems Description and Operation
Park Lamp Relay - Export
B+ Bus Bar - 2 of 2
Headlights/DRL Controls
G203 - 2 Of 2
G203 - 1 Of 2