GM Service Manual Online
For 1990-2009 cars only
Figure 1:

8.6 Locking Differential


Object Number: 657683  Size: MF
(1)Differential Pinion Gear Shaft
(2)Differential Case
(3)Differential Pinion Gear Shaft Lock Bolt
(4)Locking Differential Lockout Bushings
(5)Locking Differential Clutch Disc Thrust Washer
(6)Locking Differential Clutch Disc Guide
(7)Locking Differential Clutch Disc Set
(8)Differential Pinion Gear Thrust Washer
(9)Differential Pinion Gear
(10)Locking Differential Side Gear
(11)Locking Differential Thrust Block
(12)Differential Pinion Gear
(13)Differential Pinion Gear Thrust Washer
(14)Locking Differential Side Gear, Cam-Faced
(15)Locking Differential Cam
(16)Locking Differential Governor
(17)Wave Washer
(18)Locking Differential Clutch Disc Set
(19)Locking Differential Clutch Disc Guide
(20)Locking Differential Snap Ring Retainer
(21)Locking Differential Clutch Disc Thrust Washer
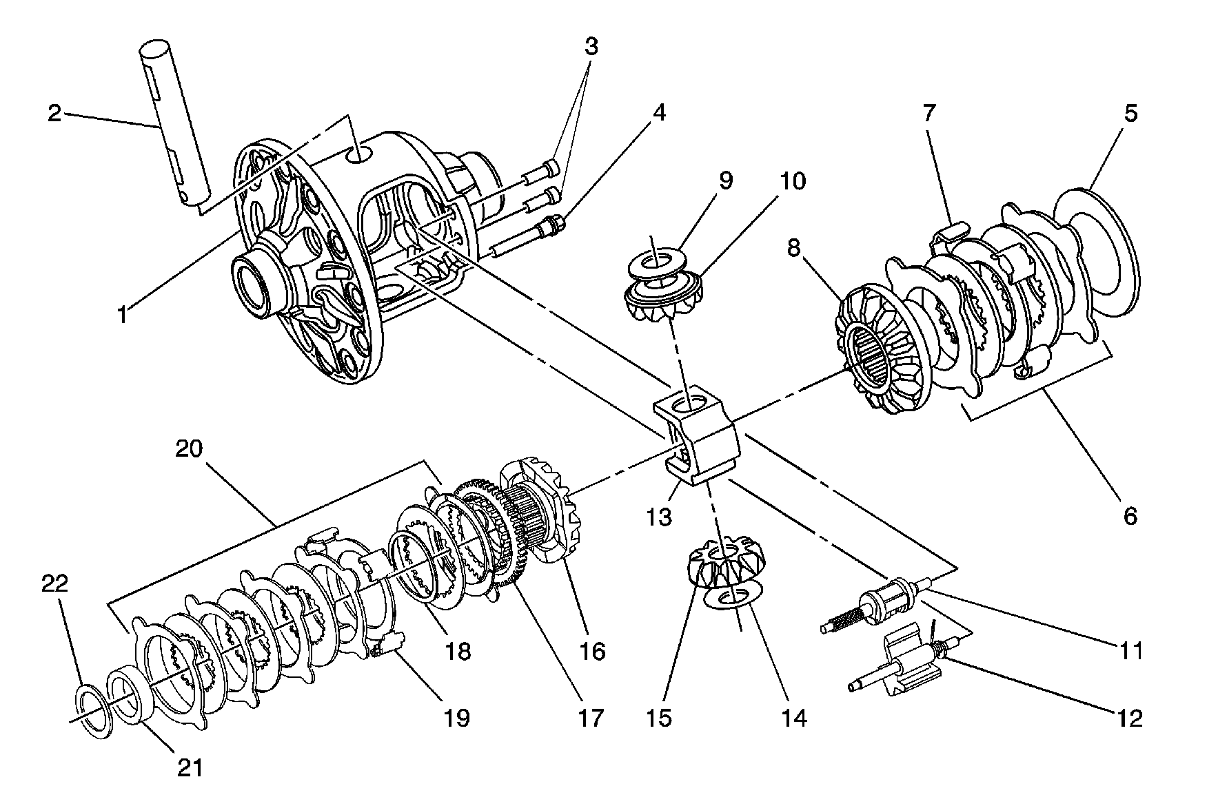
Figure 2:

9.5 Locking Differential


Object Number: 797775  Size: MF
(1)Differential Case
(2)Differential Pinion Gear Shaft
(3)Locking Differential Lockout Bushing
(4)Differential Pinion Gear Shaft Lock Bolt
(5)Locking Differential Clutch Disc Thrust Washer
(6)Locking Differential Clutch Disc Set
(7)Locking Differential Clutch Disc Guide
(8)Locking Differential Side Gear
(9)Differential Pinion Gear Thrust Washer
(10)Differential Pinion Gear
(11)Locking Differential Governor
(12)Locking Differential Latching Bracket
(13)Locking Differential Thrust Block
(14)Differential Pinion Gear Thrust Washer
(15)Differential Pinion Gear
(16)Locking Differential Side Gear, Cam-Faced
(17)Locking Differential Cam
(18)Wave Washer
(19)Locking Differential Clutch Disc Guide
(20)Locking Differential Clutch Disc Set
(21)Locking Differential Side Gear Thrust Sleeve
(22)Differential Side Gear Shim
Figure 3:

10.5 Locking Differential


Object Number: 797861  Size: MF
(1)Differential Case - Left Side
(2)Differential Case - Right Side
(3)Differential Case Screws
(4)Locking Differential Clutch Disc Thrust Washer
(5)Locking Differential Side Gear Thrust Sleeve
(6)Locking Differential Clutch Disc Set
(7)Locking Differential Clutch Disc Guide
(8)Wave Washer
(9)Locking Differential Cam
(10)Locking Differential Side Gear - Cam Faced
(11)Differential Pinion Gear
(12)Differential Pinion Gear Thrust Washer
(13)Differential Pinion Gear Thrust Washer
(14)Differential Pinion Gear
(15)Differential Pinion Gear
(16)Differential Pinion Gear Thrust Washer
(17)Locking Differential Governor
(18)Locking Differential Latching Bracket and Spring
(19)Locking Differential Spider
(20)Locking Differential Thrust Block
(21)Locking Differential Side Gear
(22)Locking Differential Clutch Disc Guide
(23)Locking Differential Clutch Disc Set
(24)Differential Side Gear Shim