GM Service Manual Online
For 1990-2009 cars only
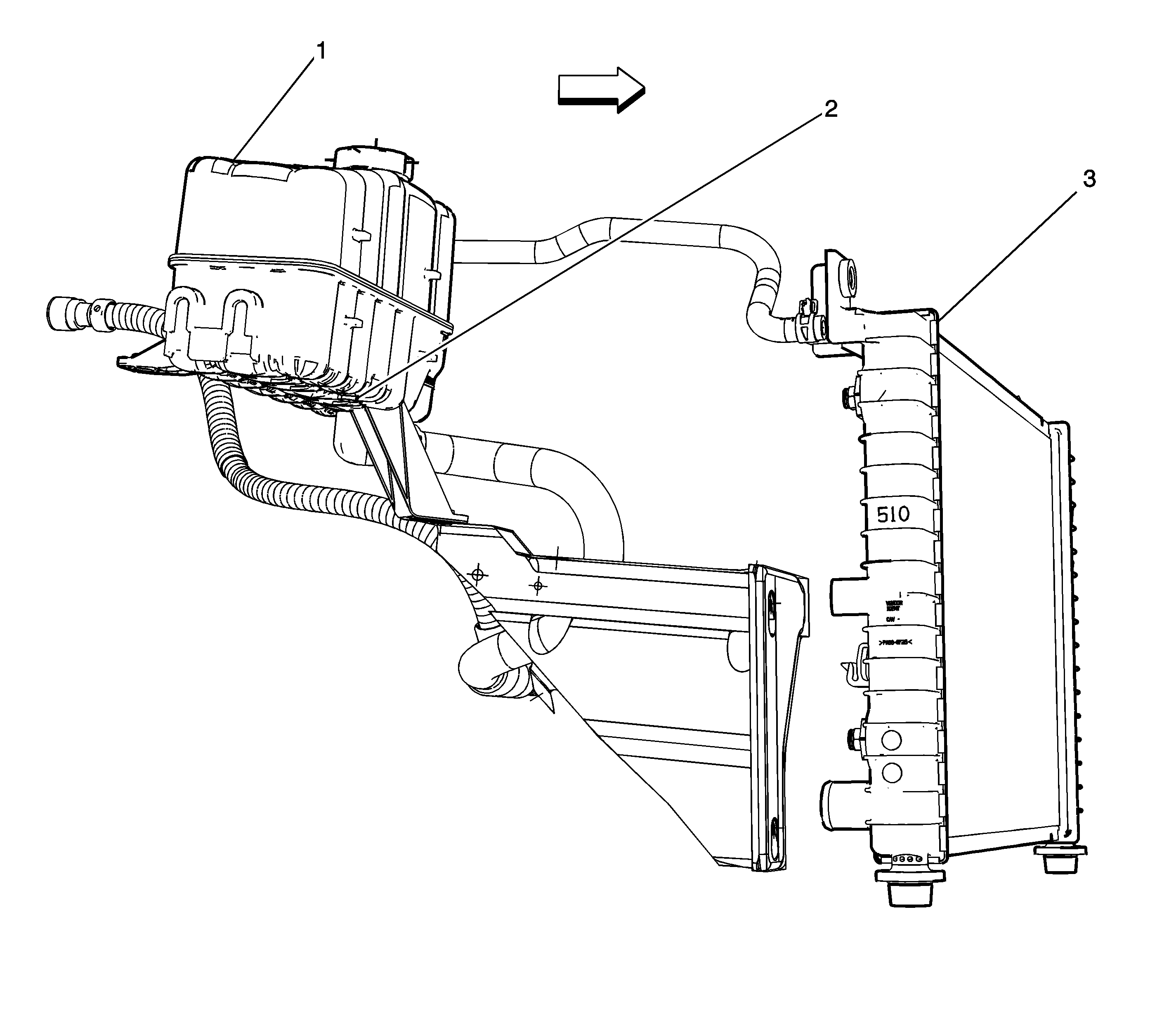
Figure 1:

RF of Engine Compartment


Object Number: 1402800  Size: LF
(1)Coolant Recovery Reservoir
(2)Coolant Level Switch
(3)Radiator
Figure 2:

Engine Oil Level Switch


Object Number: 750172  Size: LF
(1)A/C Compressor Clutch
(2)A/C Compressor Clutch Connector
(3)Engine Wiring Harness
(4)Engine Oil Level Sensor Connector
(5)Knock Sensor (KS) 2 Connector
(6)Knock Sensor (KS) 2
(7)Starter Relay Output (S-Terminal Feed)
Figure 3:

Engine View-Upper Right (8.1L)


Object Number: 850364  Size: LF
(1)Engine Harness
(2)Manifold Absolute Pressure (MAP) Sensor
(3)Intake Manifold
(4)Ignition Coil Connector-Harness Side
(5)Ignition Coil Connector-Component Side
(6)Engine Coolant Temperature (ECT) Sensor Connector
Figure 4:

Engine View-Left Side (5.3L, 6.0L)


Object Number: 1402585  Size: LF
(1)Manifold Absolute Pressure (MAP) Sensor
(2)Fuel Pressure Regulator
(3)Positive Crankcase Ventilation (PCV) Valve
(4)Left Bank Ignition Coils
(5)Engine Coolant Temperature (ECT) Sensor
(6)Throttle Body
Figure 5:

Instrument Panel-Left Rear Top


Object Number: 850358  Size: LF
(1)Instrument Cluster
(2)Instrument Cluster Connector
(3)C214-I/P Side
(4)C214-Headliner Side
(5)Instrument Cluster Brace
(6)Instrument Panel
Figure 6:

Analog Clock


Object Number: 1402354  Size: MF
(1)Analog Clock
(2)Remote Playback Device-CD Player
(3)Console Extension
Figure 7:

Fuel Pump and Sender Assembly-Primary


Object Number: 850368  Size: LF
(1)Fuel Pump and Sender Assembly-Primary Connector
(2)Fuel Pump and Sender Assembly-Primary
Figure 8:

Fuel Pump and Sender Assembly-Secondary


Object Number: 850371  Size: LF
(1)Fuel Pump and Sender Assembly-Secondary
(2)Fuel Pump and Sender Assembly-Secondary Connector
Figure 9:

Engine Oil Pressure (EOP) Sensor (4.8L, 5.3L 6.0L)


Object Number: 774474  Size: LF
(1)Engine Oil Pressure (EOP) Sensor
(2)Camshaft Position (CMP) Sensor
(3)Camshaft Position (CMP) Sensor Connector
Figure 10:

Engine Oil Pressure (EOP) Sensor (8.1L)


Object Number: 750152  Size: LF
(1)Exhaust Gas Recirculation (EGR) Connector
(2)Exhaust Gas Recirculation (EGR) Valve
(3)Crankshaft Position (CKP) Sensor Connector
(4)Crankshaft Position (CKP) Sensor
(5)Engine Oil Pressure (EOP) Sensor
(6)Engine Oil Pressure (EOP) Sensor Connector
Figure 11:

LF Corner of Vehicle Wiper/Washer Components


Object Number: 1365838  Size: MF
(1)Windshield Washer Reservoir
(2)Windshield Washer Fluid Pump-Front
(3)Washer Fluid Level Sensor
(4)Windshield Washer Fluid Pump-Rear (C25)