GM Service Manual Online
For 1990-2009 cars only
Makes
🢒
Cadillac
🢒
2004
🢒
Escalade EXT
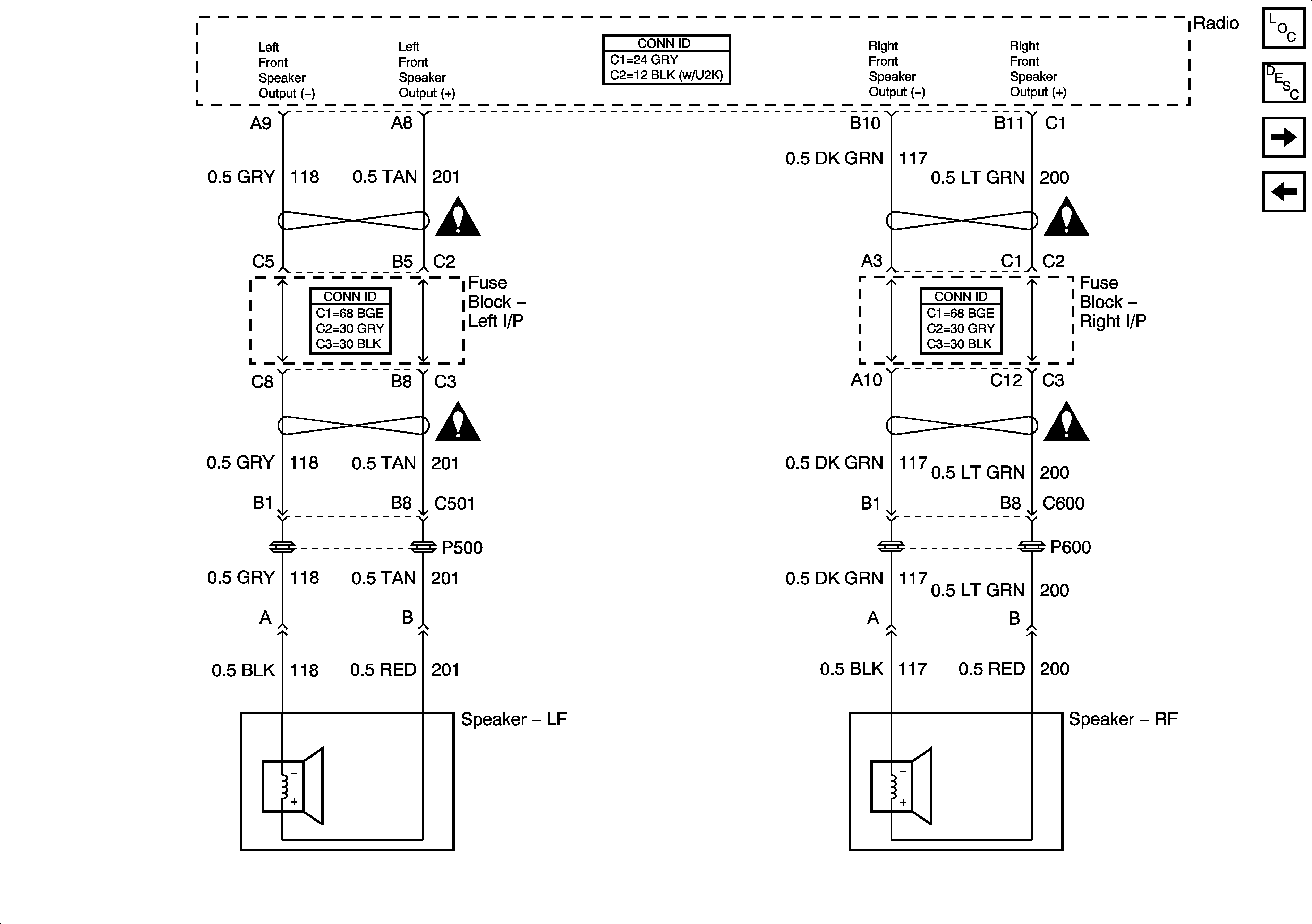
🢒 Front Speakers - UQ8
Front Speakers - UQ8
Front Speakers - UQ8
Master Electrical Component List
Radio/Audio System Description and Operation
Rear Speakers - UQ8
Digital Radio Receiver
Entertainment Schematic Icons
Entertainment Schematic Icons
Entertainment Schematic Icons
Entertainment Schematic Icons