GM Service Manual Online
For 1990-2009 cars only
Makes
🢒
Cadillac
🢒
2004
🢒
Escalade EXT
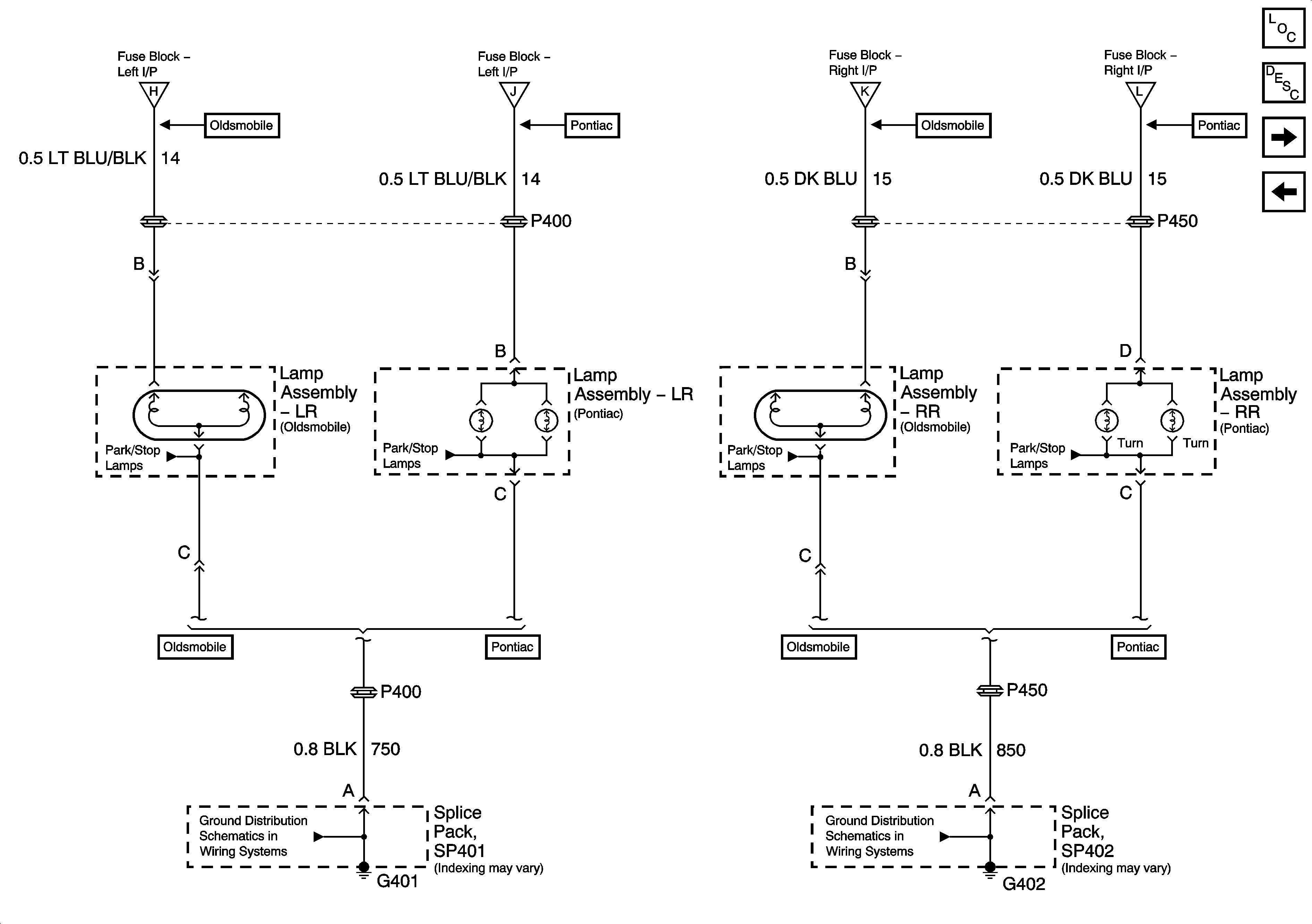
🢒 Turn Lamps - Rear Lamp Assemblies
Turn Lamps - Rear Lamp Assemblies
Turn Lamps - Rear Lamp Assemblies
Master Electrical Component List
Exterior Lighting Systems Description and Operation
Stop Lamps
Turn Signal Lamps - Front - Domestic
Switches and Indicators
Switches and Indicators
Switches and Indicators
Switches and Indicators
Park Lamps - Rear - Oldsmobile - Domestic
Park Lamps - Rear - Pontiac
Park Lamps - Rear - Oldsmobile - Domestic
Park Lamps - Rear - Pontiac
G401
G402