GM Service Manual Online
For 1990-2009 cars only
Makes
🢒
Cadillac
🢒
2004
🢒
Escalade EXT
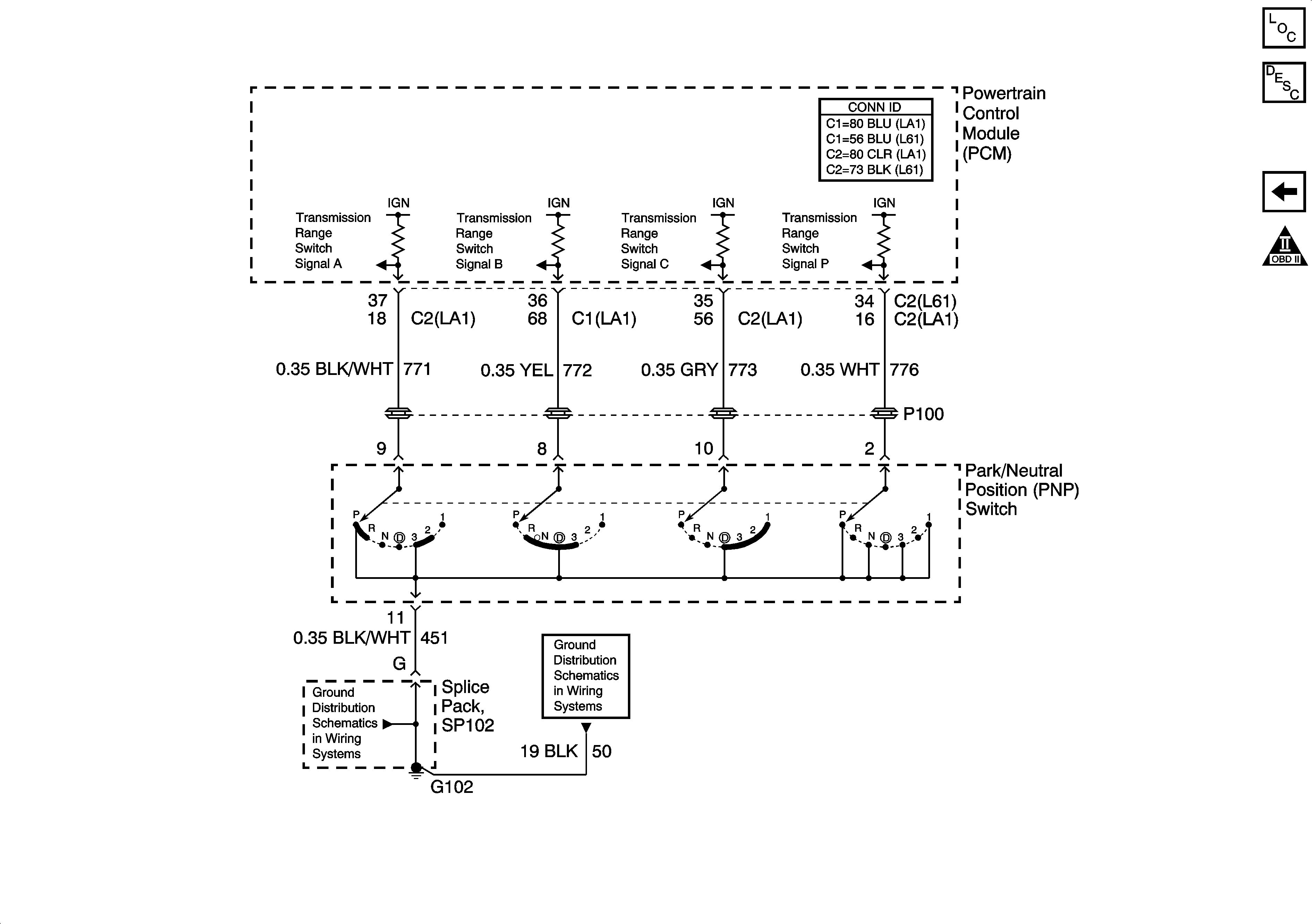
🢒 PNP Switch
PNP Switch
PNP Switch
Master Electrical Component List
Transmission Component and System Description
Transmission Switches, TFT, and A/T ISS Sensor
OBD II Symbol Description Notice
G102 and G104
G102 and G104