GM Service Manual Online
For 1990-2009 cars only
Makes
🢒
Cadillac
🢒
2004
🢒
Escalade EXT
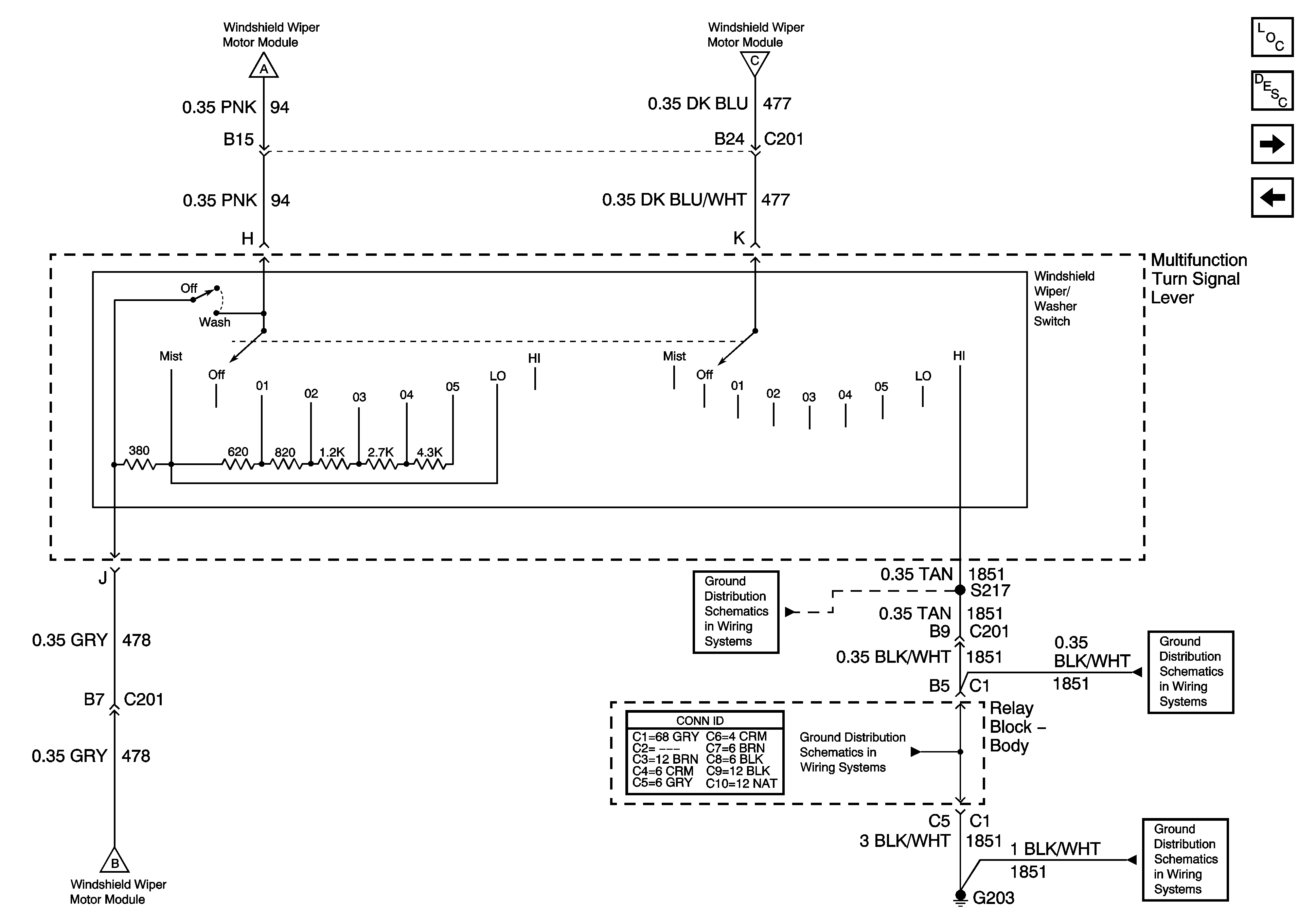
🢒 04 Front Wiper/Washer Control - 2 of 2
04 Front Wiper/Washer Control - 2 of 2
Front Wiper/Washer Control - 2 of 2
Master Electrical Component List
Wiper/Washer System Description and Operation
Rear Wiper/Washer Control
Front Wiper/Washer Control - 1 of 2
Front Wiper/Washer Control - 1 of 2
Front Wiper/Washer Control - 1 of 2
Front Wiper/Washer Control - 1 of 2
G203 - 3 of 3
G203 - 2 of 3
G203 - 2 of 3
G203 - 1 of 3