GM Service Manual Online
For 1990-2009 cars only
Makes
🢒
Cadillac
🢒
2004
🢒
Escalade EXT
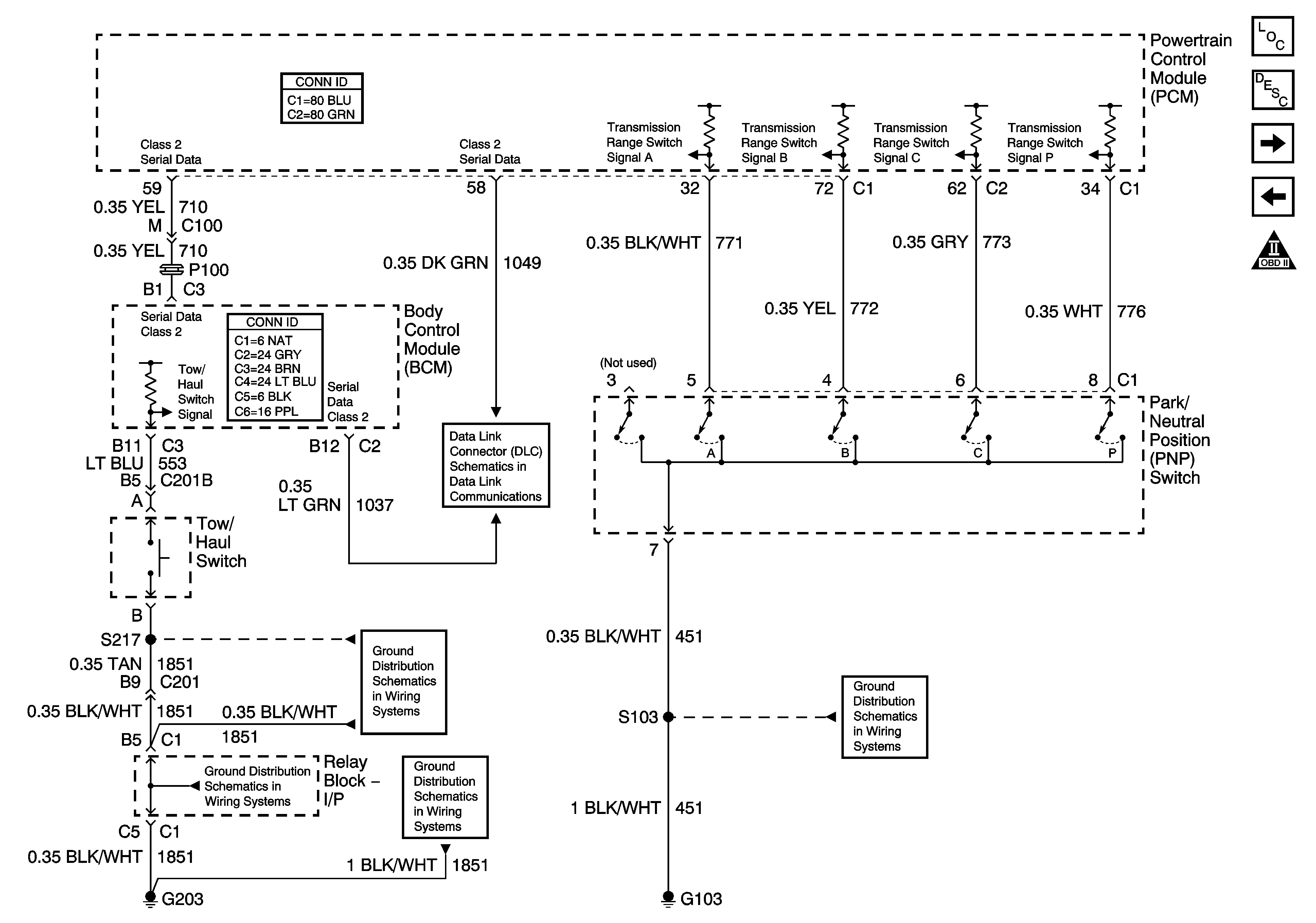
🢒 Tow/Haul Switch and PNP Switch Inputs
Tow/Haul Switch and PNP Switch Inputs
Tow/Haul Switch and PNP Switch Inputs
Master Electrical Component List
Electronic Component Description
Vehicle Speed Signal and 4WD Low Signal
Switch Inputs
Engine Controls Schematic Icons
SP205 - 2 of 2
G203 - 3 of 3
G203 - 1 of 3
G203 - 1 of 3
G102, G103