GM Service Manual Online
For 1990-2009 cars only
Makes
🢒
Cadillac
🢒
2004
🢒
Escalade EXT
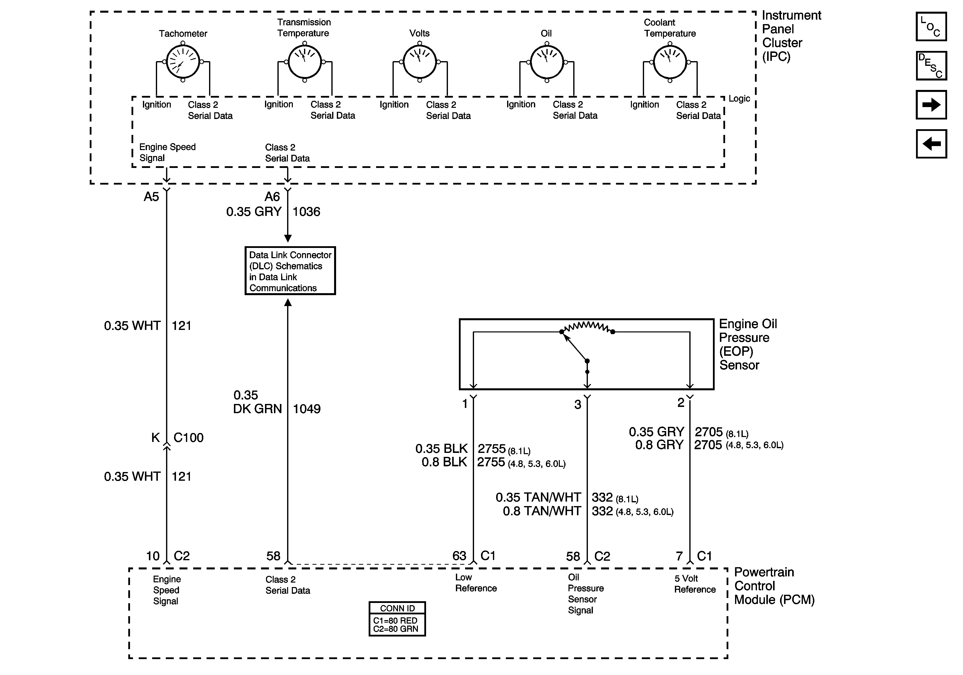
🢒 Gages
Gages
Gages
Master Electrical Component List
Instrument Cluster Description and Operation
Vehicle Speed and Speedometer
Indicators
SP205 - 2 of 2