GM Service Manual Online
For 1990-2009 cars only
Makes
🢒
Cadillac
🢒
2004
🢒
Escalade EXT
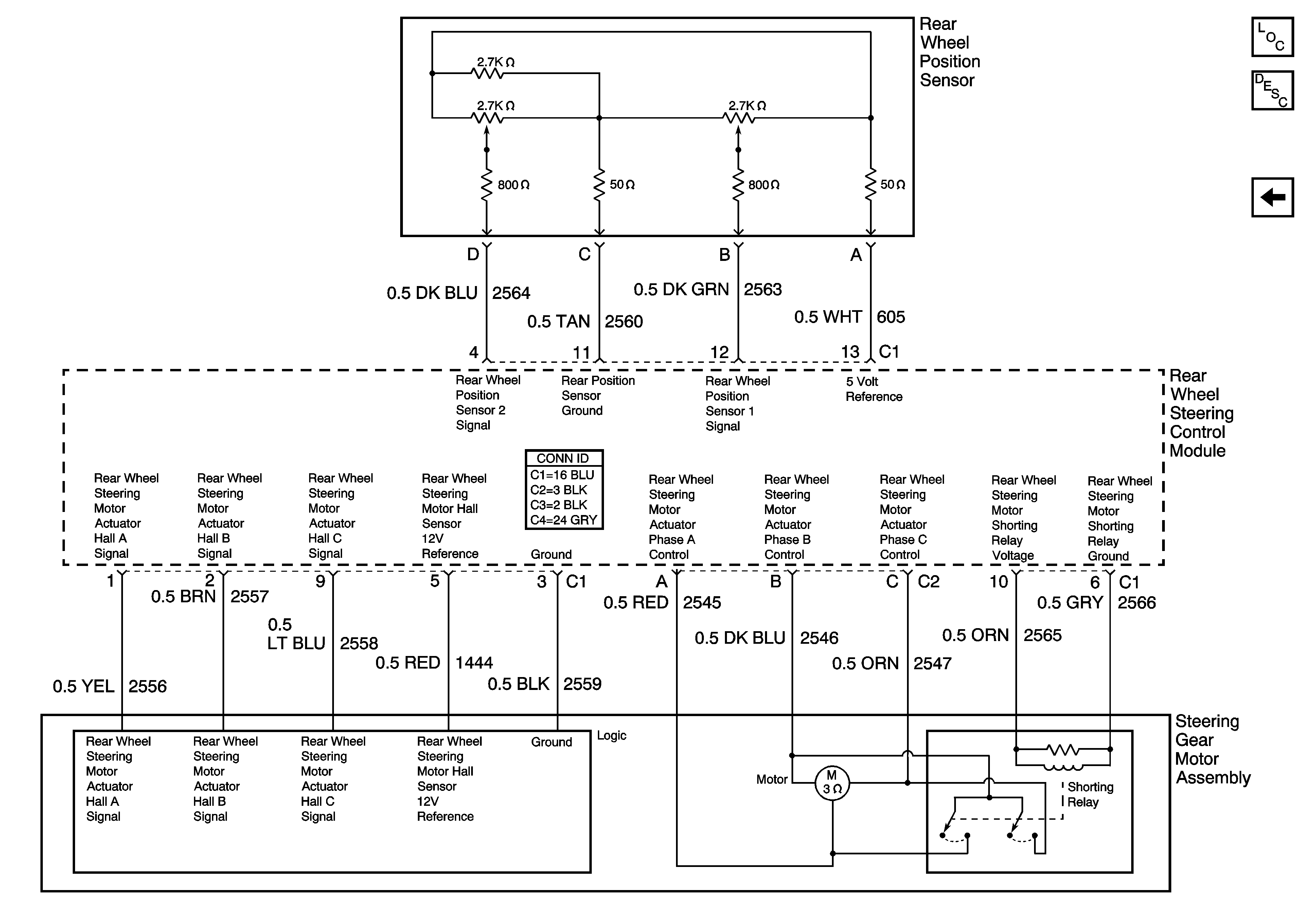
🢒 Rear Wheel Position Controls
Rear Wheel Position Controls
Rear Wheel Positon Controls
Master Electrical Component List
Rear Wheel Steering Description and Operation
Steering Wheel/Speed Position Sensor