GM Service Manual Online
For 1990-2009 cars only
Makes
🢒
Cadillac
🢒
2004
🢒
Escalade EXT
🢒 Rear Control
Rear Control
Rear Control
Master Electrical Component List
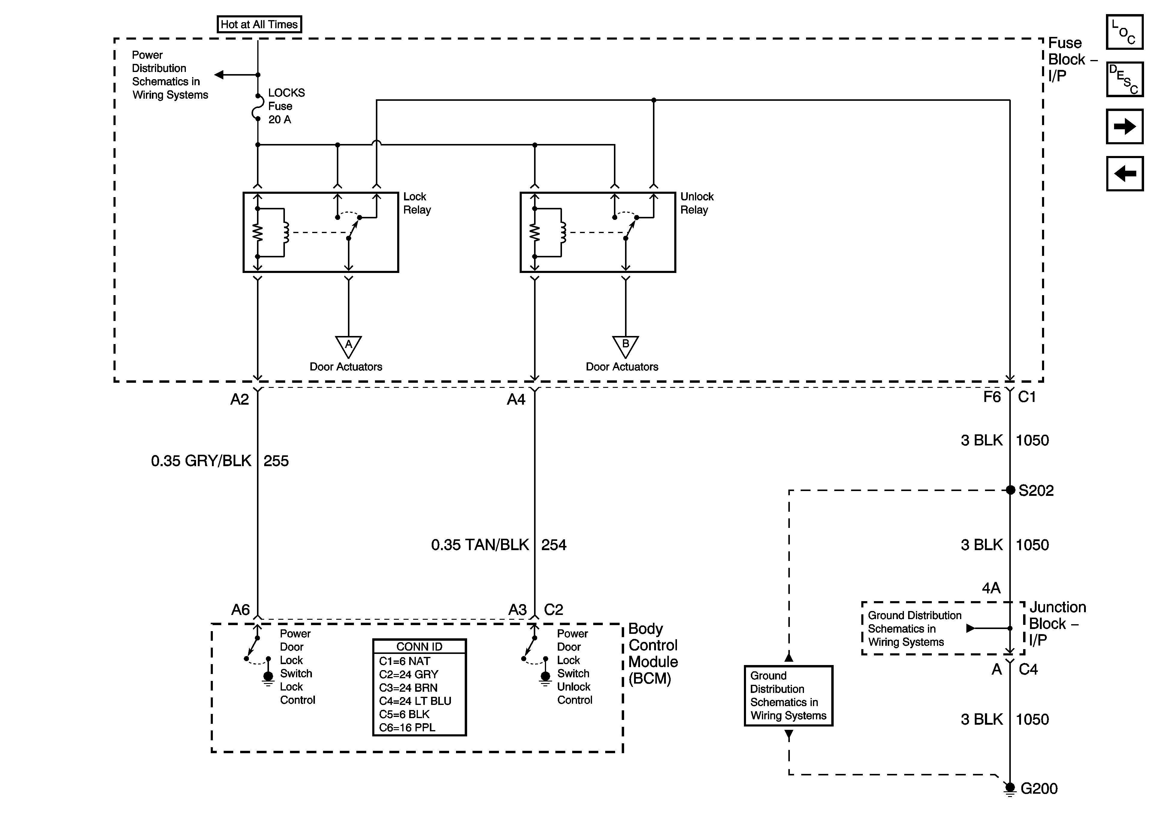
Power Door Locks Description and Operation
Rear Passenger and Cargo Actuators and Cargo Key Signal
Driver and Front Passenger
FLASH, and LOCKS Fuses
Rear Passenger and Cargo Actuators and Cargo Key Signal
Rear Passenger and Cargo Actuators and Cargo Key Signal
G200 - 1 of 3
G200 - 1 of 3