GM Service Manual Online
For 1990-2009 cars only
Makes
🢒
Cadillac
🢒
2004
🢒
Escalade EXT
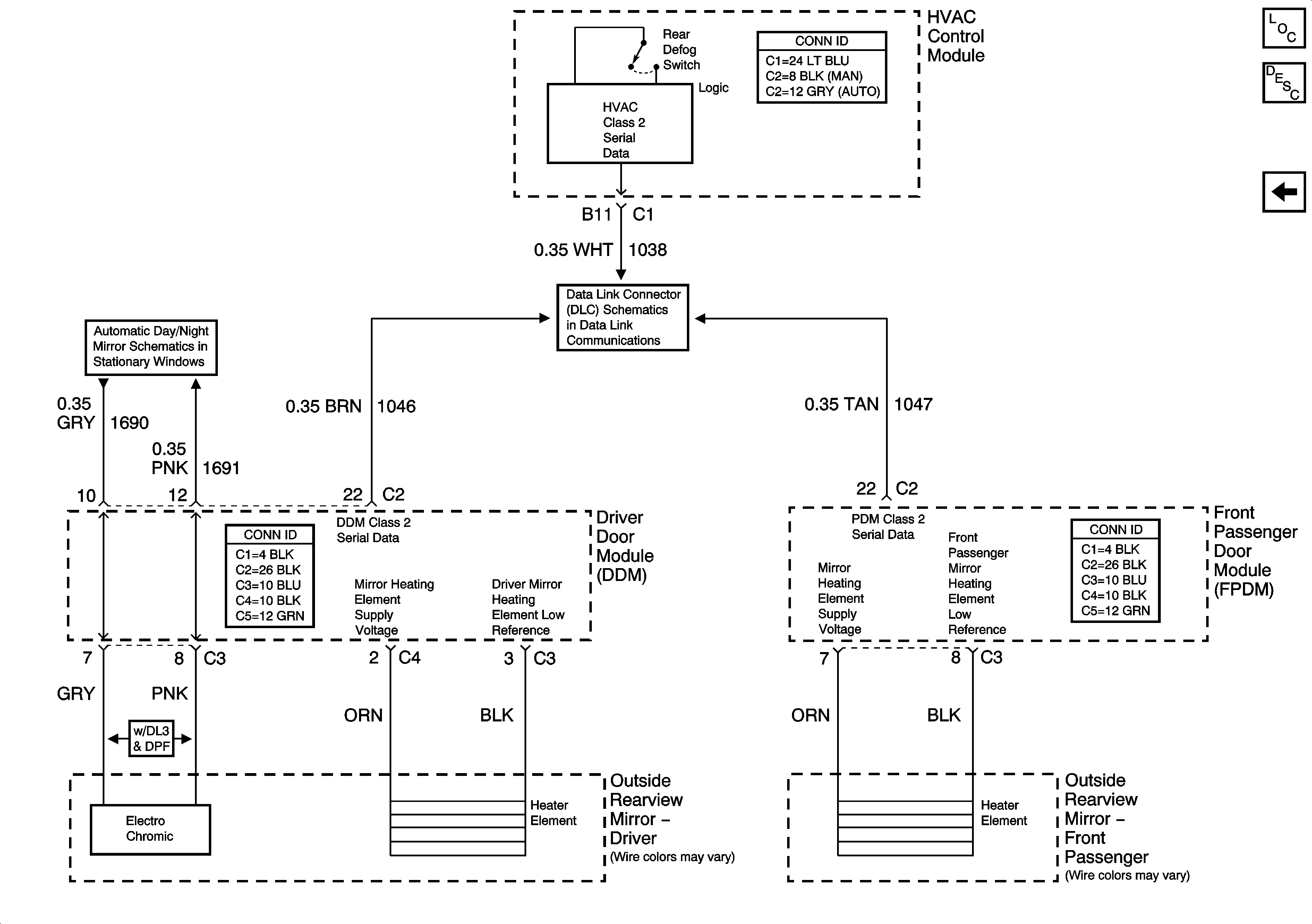
🢒 Heated Mirror and Electrochromic Controls
Heated Mirror and Electrochromic Controls
Heated Mirror and Electrochromic Controls
Master Electrical Component List
Outside Mirror Description and Operation Power Mirrors
Mirror Motors and Position Sensors - Front Passenger
Ground and Electrochromic
SP205 - 1 of 2