GM Service Manual Online
For 1990-2009 cars only
Makes
🢒
Cadillac
🢒
2004
🢒
Escalade EXT
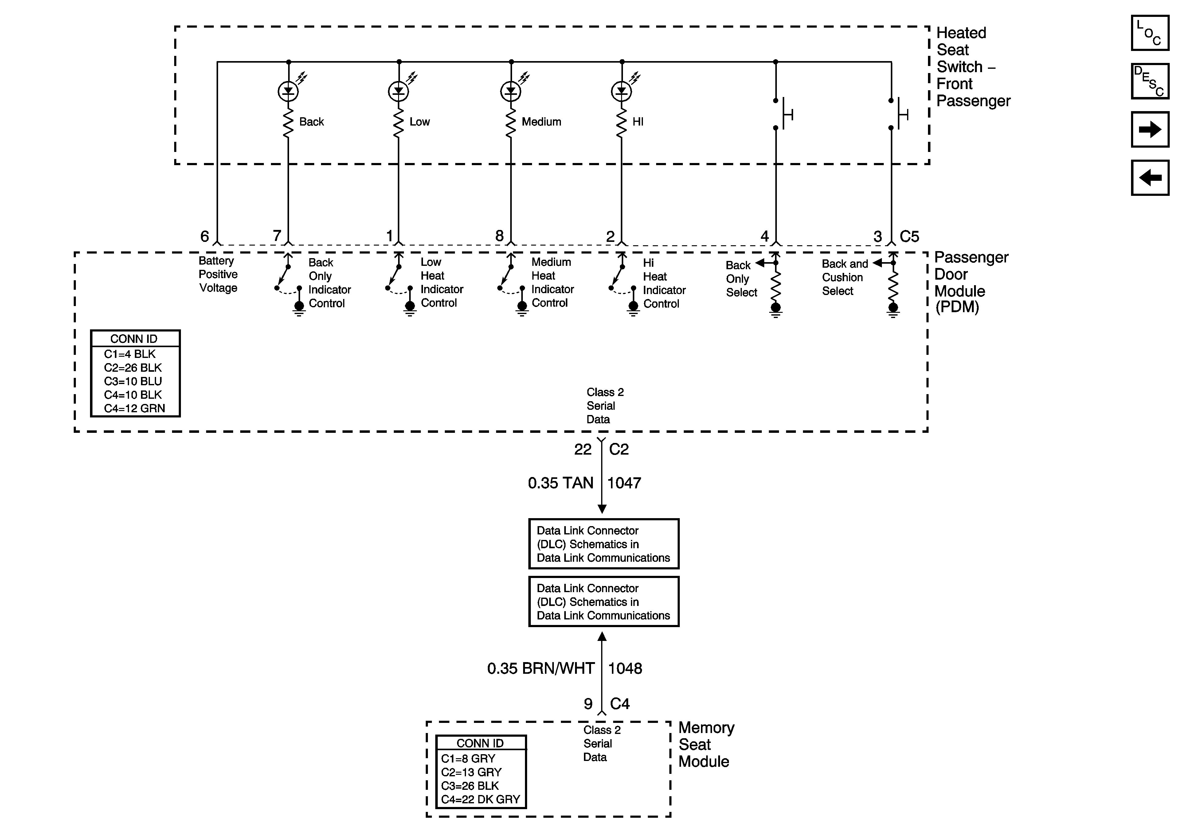
🢒 Heat Controls - 1 of 2 - AN3
Heat Controls - 1 of 2 - AN3
Heat Controls - 1 of 2 - AN3
Master Electrical Component List
Power Seats System Description and Operation
Heat Controls - 2 of 2 - AN3
AN3
SP205 - 1 of 2
SP206