GM Service Manual Online
For 1990-2009 cars only
Makes
🢒
Cadillac
🢒
2004
🢒
Escalade EXT
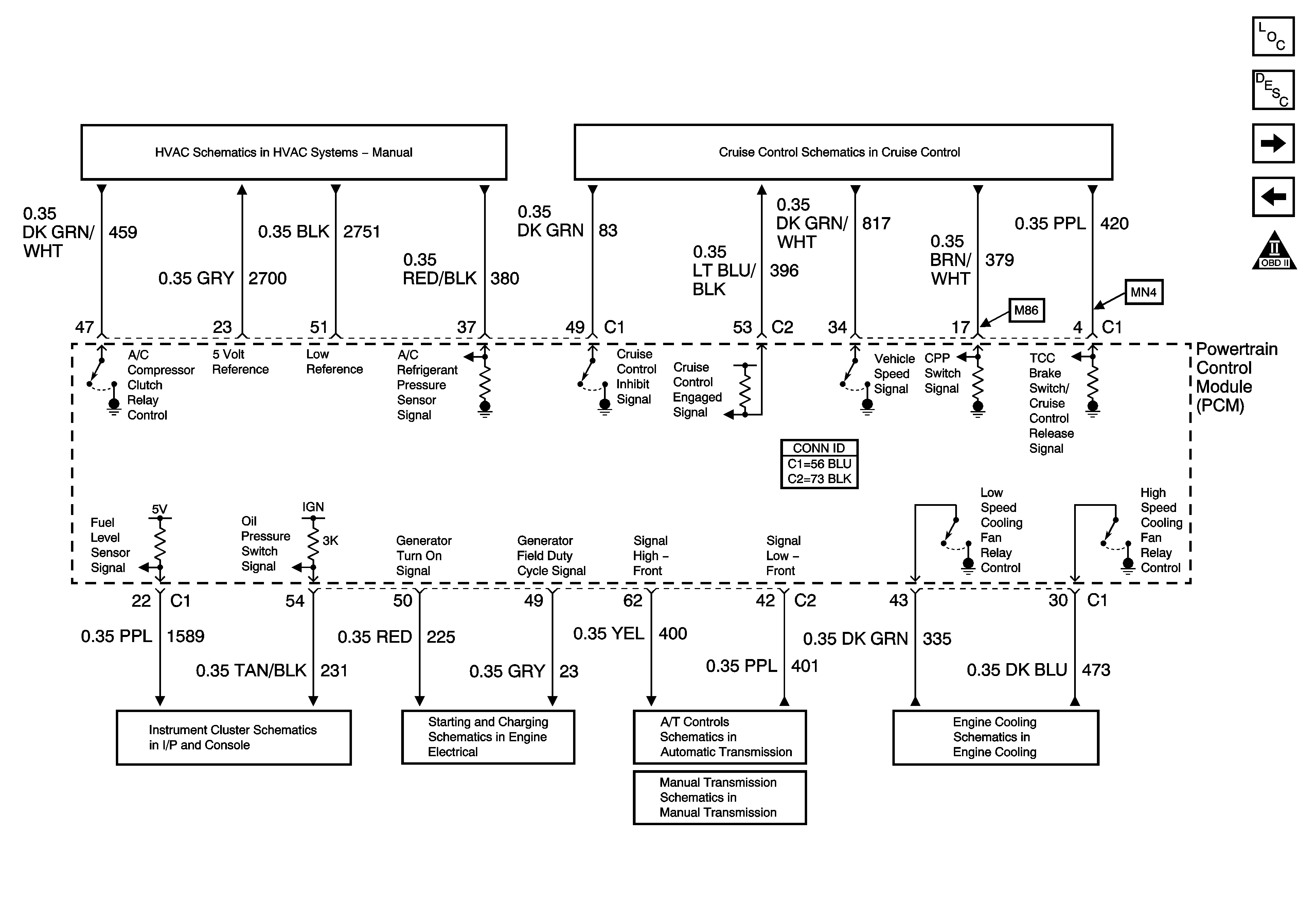
🢒 Controlled/Monitored Subsystem References
Controlled/Monitored Subsystem References
Controlled/Monitored Subsystem References
Master Electrical Component List
Powertrain Control Module Description
Transmission Controls - A/T
EVAP and IAC Controls
OBD II Symbol Description Notice
Compressor Controls
Power and Ground
Oil Pressure and Level Switch
Charging System
Transmission Solenoids
Manual Transmission Controls
Cooling Fans