GM Service Manual Online
For 1990-2009 cars only
Makes
🢒
Cadillac
🢒
2004
🢒
Escalade EXT
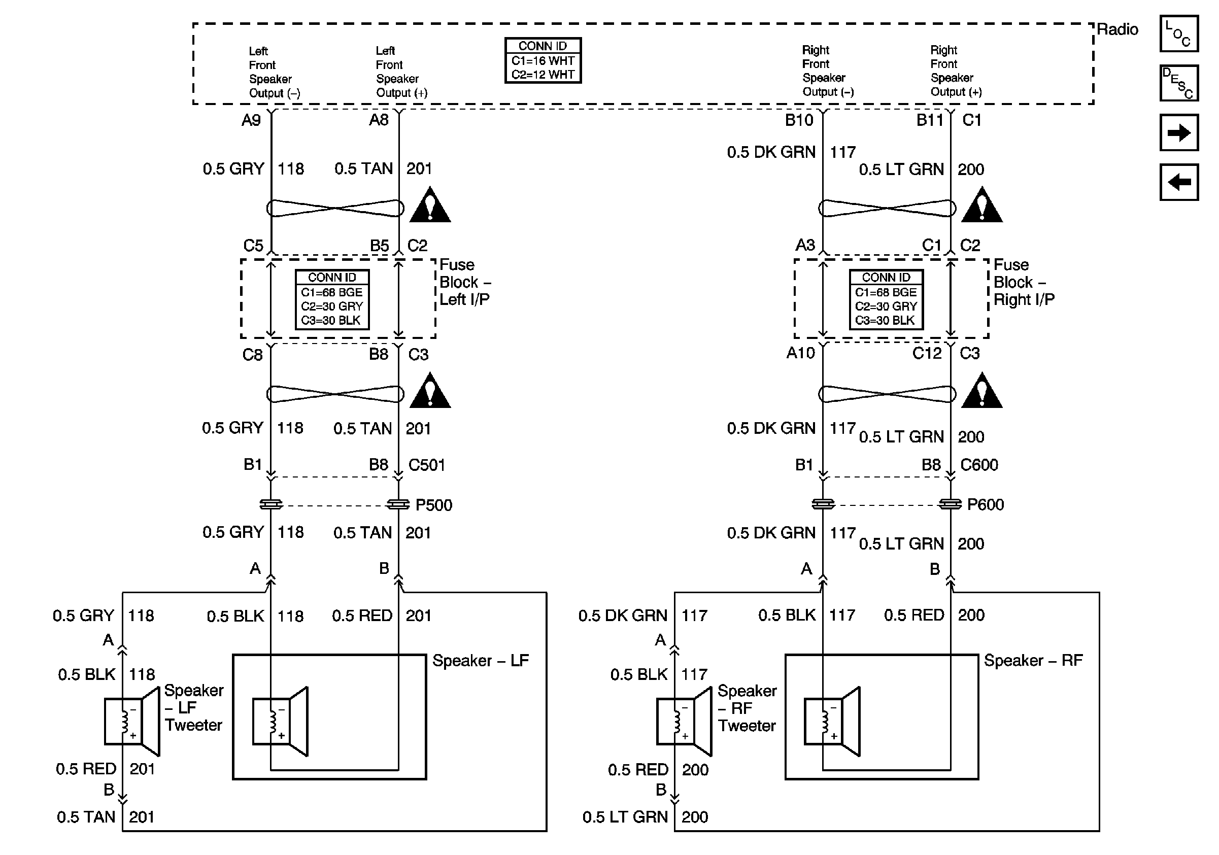
🢒 Front Speakers (UQ2/UQ8)
Front Speakers (UQ2/UQ8)
Front Speakers (UQ2/UQ8)
Master Electrical Component List
Radio/Audio System Description and Operation
Rear Speakers (UQ2/UQ8)
Digital Radio Receiver U2K
Entertainment Schematic Icons
Entertainment Schematic Icons
Entertainment Schematic Icons
Entertainment Schematic Icons