GM Service Manual Online
For 1990-2009 cars only

The Borg Warner (BW) model 4482 NR4 transfer case is a two-speed, full time 4WD, transfer case. The transfer case has an external planetary type differential, which has two different sets of pinion gears. The planetary differential provides a 40/60 torque split front/rear full time. This means the front and rear propeller shafts are constantly being driven for maximum traction in all conditions.

While in the 4HI mode, the transfer case external type planetary differential functions the same as a typical rear axle differential. The transfer case differential pinion gears function as the spider gears, and the sun gears function as the side gears.

The following actions occur because of the planetary differential:

    • If the vehicle is on a hoist, and in the 4HI mode, the front propeller shaft can be rotated by hand.
    • The vehicle cannot be driven in the 4HI mode if one propeller shaft is removed.
    • Operating the vehicle on the hoist, in the 4HI mode, can damage the differential pinion gears, by over-spinning.
    • Operating the vehicle with one propeller shaft removed, in the 4HI mode, causes over-spinning of the differential pinion gears.

The BW 4482 design of the planetary differential allows use with the Vehicle Stability Enhancement System (VSES) vehicles. The VSES takes use of the planetary differential, by applying braking to a tire that has less traction and dividing the engine torque to the other axle. A high/low planetary carrier assembly provides the high and low ranges, which is a 4-pinion gear, sun gear, and annulus gear arrangement, giving a 2.64 low range reduction ratio.

The BW 4482 case halves are high-pressure die-cast magnesium. Ball bearings support the input shaft, the front output shaft, and the rear output shaft. A needle roller bearing is located inside of the input shaft gear to support the front of the mainshaft. The rear of the mainshaft is supported by a bronze bearing inside the rear output shaft. The transfer case requires DEXRON®III ATF Fluid GM P/N 12378470 (Canadian P/N 10952622), which is red in color. An oil pump pumps the fluid through the mainshaft oil gallery to the gears and bearings.

Transfer Case Shift Control Switch


Object Number: 1385648  Size: SH

The BW 4482 transfer case features a 3-button shift control switch located on the instrument panel. When the vehicle has the ignition key in the RUN position, the transfer case shift control module starts monitoring the transfer case shift control switch to determine if the driver desires a new mode/range position. At a single press of the transfer case shift control switch, the lamp of the new desired position will begin flashing to inform the driver that the transfer case shift control module has received the request for a new mode/range position. The lamp will continue to flash until all shifting criteria have been met and the new mode/range position has been reached, or has been engaged. Once the new mode/range position is fully active, the switch indicator lamp for the new position will remain ON constantly. In addition, the switch includes a VSES request button which sends a voltage signal to the transfer case shift control module. The transfer case shift control module in turn sends a request via the class 2 data bus to the ABS control module which controls the VSES system.

During normal driving situations, the transfer case operates in the 4HI mode. When the 4HI mode is selected, the transfer case shift control module sends 12 volts to an electrical motor, which is the transfer case encoder motor. This motor rotates the transfer case shift detent lever shaft which moves the shift forks and range sleeve to obtain different modes/ranges.

The BW 4482 transfer case has the added feature of also providing the driver with 2 selectable mode/range positions and a VSES request button:

    • 4HI - Full Time 4 Wheel Drive
    • 4LO - 4 Wheel Drive Low Locked
    • VSES - Vehicle Stability Enhancement System

The transfer case will not allow a shift into or out of 4LO unless the following criteria has been met:

    • The engine is running.
    • The automatic transmission is in Neutral.
    • The vehicle speed is below 5 km/h (3 mph).

This transfer case also has a Neutral position. A shift to the Neutral position allows the vehicle to be towed without the transmission output shaft rotating. Refer to the Owners Manual for instructions for proper towing of the vehicle.

Neutral position may be obtained only if the following criteria have been met:

    • The ignition switch is ON.
    • The automatic transmission is in Neutral.
    • The vehicle speed is below 5 km/h (3 mph).
    • The transfer case is in the 4HI mode.

Once these conditions have been met, press and hold both the VSES and 4LO Lock buttons for 10 seconds. When the system completes the shift to neutral, the red neutral indicator will illuminate.

4HI Mode Power Flow


Object Number: 837149  Size: LF

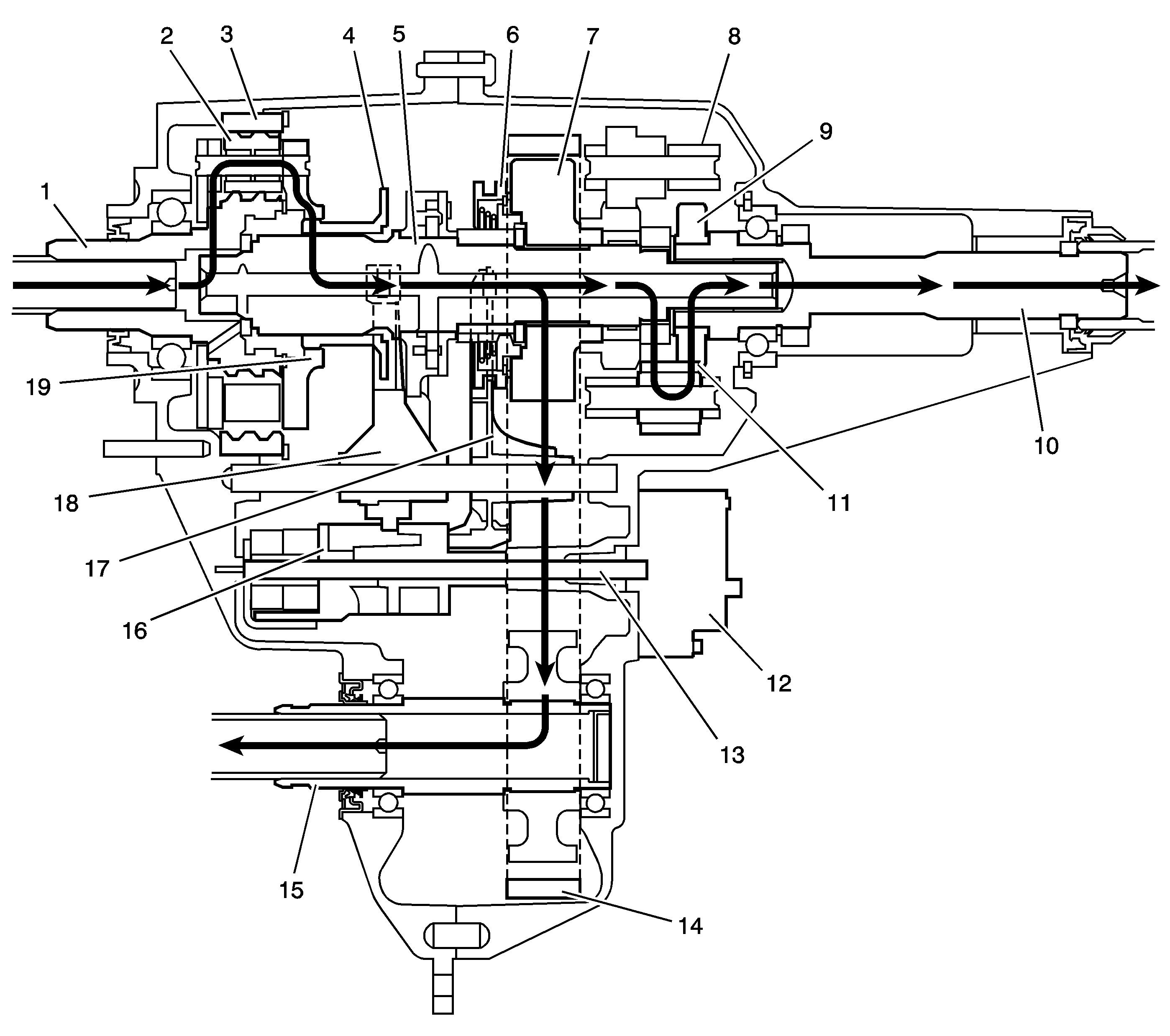
When the BW 4482 is in 4HI mode, the engine power flows from the transmission to the input shaft (1). The input shaft (1) is connected to the mainshaft (3) by the high/low range sleeve (2). The high/low range sleeve (2) outer teeth are engaged with the input shaft (1) high-speed teeth. The range collar is slip splined to the mainshaft (3). The mainshaft (3) delivers the power flow to the planetary differential (6), which splits the torque 40 percent through the front differential pinion gears (5) to the front sun gear (10). The torque to the front axle then goes through the drive sprocket (4), via the chain (11) to the front output shaft (12) and to the front axle. The differential planetary splits the torque 60 percent to differential rear pinion gears (9) and rear sun gear (7). The rear sun gear is connected to the rear output shaft (8) and the torque flows to the rear axle.

4LO Lock Mode Power Flow


Object Number: 849633  Size: LF

When shifting the transfer case to the 4LO Lock mode, it commands the encoder motor (12) to turn the shift detent lever shaft (13), to rotate the shift detent lever cam (16). There are two cam profiles on the shift detent lever cam (16) functioning at the same time. The range profile on the shift detent lever cam (16) moves the high/range shift fork (18) and the high/low range sleeve (4) rearward to the 4LO range position.

The mode profile on the shift detent lever cam (16) moves the mode shift fork (17) rearward along with the mode shift collar (6).

The high/low range sleeve (4) outer teeth disengage from the input shaft (1) high-speed teeth. The high/low range sleeve (4) outer teeth then engage in the high/low planetary carrier teeth (19). The power flow is now from planetary teeth on the input shaft (1) to the planetary gears (2) in the carrier. Rotating the planetary gears, which are engaged in the annulus gear (3), rotates the planetary carrier. The planetary carrier delivers the power to the high/low range sleeve (4). The high/low range sleeve (4) then drives the mainshaft (5), providing a 2.64:1 reduction to the speed of the mainshaft (5).

The mode shift collar (6) locks the mainshaft (5) to the drive sprocket (7). Torque is sent by the chain (14) to the front output shaft (15) and to the front axle.

The rear propeller shaft power flow is delivered by the case of the planetary carrier (8) being splined to the mainshaft (5). The power flows from the planetary carrier case to the rear pinion gears (11), to the rear sun gear (9), and to the rear output shaft (10).

The torque distribution in this mode is now determined by vehicle dynamic conditions and weight distribution. The planetary differential (8) is not operating, and both the front and rear propeller shafts are being driven at equal RPMs, therefore giving a 4 low lock mode. This mode should only be used for extra traction during off road use. Using this mode on dry pavement will cause tire scuffing.

Neutral Mode Power Flow

Shifting to the neutral position, the high/low range sleeve is centered between the input shaft and the high/low planetary carrier. The high/low range sleeve is not engaged with either the input shaft or the high/low planetary carrier teeth. The planetary differential is in the 4HI mode.

Transfer Case Electrical Components

View the list of major electrical components that make up the full time four wheel drive transfer case (FT4WD) system below.

Service 4WD Indicator

The SERVICE 4WD indicator is an integral part of the cluster and cannot be serviced separately. This indicator is used to inform the driver of the vehicle of malfunctions within the FT4WD transfer case system. The SERVICE 4WD indicator is controlled by the transfer case shift control module via a Class 2 message.

Transfer Case Encoder

The encoder is mounted to the transfer case encoder motor assembly and is replaced only as an assembly. The encoder converts the shift detent lever shaft position, representing a mode/range into electrical signal inputs to the transfer case shift control module. The module detects what position the transfer case is in by monitoring the 4 encoder channels, P, B, A, and C. These inputs translate into 4HI, 4LO Lock, and Neutral, or whether the motor is still in transition between gears.

The transfer case encoder channel circuits may be monitored using a scan tool.

Transfer Case Encoder Motor


Object Number: 1385647  Size: SH

The transfer case encoder motor consists of a permanent magnet (PM) DC motor and gear reduction assembly. It is located on the left hand side of the transfer case. When activated, it turns the shift detent lever shaft of the transfer case clockwise or counterclockwise, to shift the transfer case by moving the shift forks and collar assemblies inside the transfer case. The encoder motor is controlled through a 12 volt circuit provided by the transfer case shift control module. This circuit consists of a driver on both the Motor Control A and Motor Control B circuits. The encoder motor is bi-directional to allow the motor to shift the transfer case from 4HI to NEUTRAL and 4LO Lock positions.

Both the motor control drivers and motor control return drivers can be turned on using a scan tool. You may also monitor Motor Control A and B circuits using a scan tool.

Transfer Case Shift Control Module


Object Number: 1385655  Size: SH

The transfer case shift control module monitors vehicle speed via the Class 2 date bus from the powertrain control module as well as controlling the operation of the transfer case encoder motor assembly.