GM Service Manual Online
For 1990-2009 cars only
Table 1: A/C Compressor Clutch
Table 2: A/C Low Pressure Switch
Table 3: A/C Refrigerant Pressure Sensor
Table 4: Air Temperature Actuator - Auxiliary
Table 5: Air Temperature Actuator - Left
Table 6: Air Temperature Actuator - Right
Table 7: Air Temperature Sensor Assembly - Inside
Table 8: Air Temperature Sensor - Lower Auxiliary
Table 9: Air Temperature Sensor - Lower Left
Table 10: Air Temperature Sensor - Lower Right
Table 11: Air Temperature Sensor - Upper Auxiliary
Table 12: Air Temperature Sensor - Upper Left
Table 13: Air Temperature Sensor - Upper Right
Table 14: Ambient Air Temperature Sensor
Table 15: Auxiliary Air Temperature Sensor Assembly - Inside
Table 16: Blower Motor
Table 17: Blower Motor - Auxiliary
Table 18: Blower Motor Control Processor
Table 19: Blower Motor Control Processor - Auxiliary
Table 20: HVAC Control Assembly Front Auxiliary
Table 21: HVAC Control Module - Auxiliary C1
Table 22: HVAC Control Module - Auxiliary C2
Table 23: HVAC Control Module C1
Table 24: HVAC Control Module C2
Table 25: Mode Actuator
Table 26: Mode Actuator - Auxiliary
Table 27: Recirculation Actuator
Table 28: Sunload Sensor

A/C Compressor Clutch


Object Number: 684852  Size: CH

Connector Part Information

    • 12162017
    • 2-Way F Metri-Pack 150 Series (GY)

Pin

Wire Color

Circuit No.

Function

A

BK

550

Ground

B

D GN

59

A/C Compressor Clutch Supply Voltage

A/C Low Pressure Switch


Object Number: 537107  Size: CH

Connector Part Information

    • 12052644
    • 2-Way F Metri-Pack 150 Series (L GY)

Pin

Wire Color

Circuit No.

Function

A

D BU

204

A/C Low Pressure Sensor Signal

B

BK

550

Ground

A/C Refrigerant Pressure Sensor


Object Number: 726824  Size: CH

Connector Part Information

    • 15344137
    • 3-Way F GT 150 Series, Sealed (BK)

Pin

Wire Color

Circuit No.

Function

1

BK

2751

Low Reference

2

GY

2700

5-Volt Reference

3

RD/BK

380

A/C Refrigerant Pressure Sensor Signal

Air Temperature Actuator - Auxiliary


Object Number: 280764  Size: CH

Connector Part Information

    • 12064993
    • 6-Way F Micro-Pack 100 Series (BK)

Pin

Wire Color

Circuit No.

Function

5

BN

541

Ignition 3 Voltage

6

WH/BK

1236

Air Temperature Door Control - Auxiliary

7

YE

1791

Low Reference

8

--

--

Not Used

9

D BU

1646

Auxiliary Air Temperature Door Position Signal

10

GY

598

5-Volt Reference

Air Temperature Actuator - Left


Object Number: 280764  Size: CH

Connector Part Information

    • 12064993
    • 6-Way F Micro-Pack 100 Series (BK)

Pin

Wire Color

Circuit No.

Function

5

BN

341

Ignition 3 Voltage

6

D BU

1199

Auxiliary Air Temperature Door Control

7

YE

1791

Low Reference

8

--

--

Not Used

9

L BU

733

Left Air Temperature Door Position Signal

10

L BU/BK

1688

5-Volt Reference

Air Temperature Actuator - Right


Object Number: 280764  Size: CH

Connector Part Information

    • 12064993
    • 6-Way F Micro-Pack 100 Series (BK)

Pin

Wire Color

Circuit No.

Function

5

BN

341

Ignition 3 Voltage

6

WH/BK

1236

Right Air Temperature Door Control

7

YE

1791

Low Reference

8

--

--

Not Used

9

D BU

1646

Right Air Temperature Door Position Signal

10

L BU/BK

1688

5-Volt Reference

Air Temperature Sensor Assembly - Inside


Object Number: 130635  Size: CH

Connector Part Information

    • 12045813
    • 4-Way F Metri-Pack 150 Series (NA)

Pin

Wire Color

Circuit No.

Function

A

D GN

734

Inside Air Temperature Sensor Signal

B

WH/BK

5515

Inside Air Temperature Sensor Assembly Control

C

BK

1050

Ground

D

BN

718

Low Reference

Air Temperature Sensor - Lower Auxiliary


Object Number: 82383  Size: CH

Connector Part Information

    • 12047662
    • 2-Way F Metri-Pack 150 Series (BK)

Pin

Wire Color

Circuit No.

Function

A

BK

520

Lower Auxiliary Air Temperature Sensor Signal

B

BK

518

Low Reference

Air Temperature Sensor - Lower Left


Object Number: 82383  Size: CH

Connector Part Information

    • 12047662
    • 2-Way F Metri-Pack 150 Series (BK)

Pin

Wire Color

Circuit No.

Function

A

BN

718

Low Reference

B

WH/BK

2339

Lower Left Air Temperature Sensor Signal

Air Temperature Sensor - Lower Right


Object Number: 82383  Size: CH

Connector Part Information

    • 12047662
    • 2-Way F Metri-Pack 150 Series (BK)

Pin

Wire Color

Circuit No.

Function

A

BN

718

Low Reference

B

GY/BK

2337

Lower Right Air Temperature Sensor Signal

Air Temperature Sensor - Upper Auxiliary


Object Number: 82383  Size: CH

Connector Part Information

    • 12047662
    • 2-Way F Metri-Pack 150 Series (BK)

Pin

Wire Color

Circuit No.

Function

A

TN

517

Upper Auxiliary Air Temperature Sensor Signal

B

BK

516

Low Reference

Air Temperature Sensor - Upper Left


Object Number: 82383  Size: CH

Connector Part Information

    • 12047662
    • 2-Way F Metri-Pack 150 Series (BK)

Pin

Wire Color

Circuit No.

Function

A

BN

718

Low Reference

B

WH

2338

Upper Left Air Temperature Sensor Signal

Air Temperature Sensor - Upper Right


Object Number: 82383  Size: CH

Connector Part Information

    • 12047662
    • 2-Way F Metri-Pack 150 Series (BK)

Pin

Wire Color

Circuit No.

Function

A

BN

718

Low Reference

B

GY

2336

Upper Right Air Temperature Sensor Signal

Ambient Air Temperature Sensor


Object Number: 635009  Size: CH

Connector Part Information

    • 12052641
    • 2-Way F Metri-Pack 150 Series (BK)

Pin

Wire Color

Circuit No.

Function

A

L GN/BK

735

Ambient Air Temperature Sensor Signal

B

BN

718

Low Reference

Auxiliary Air Temperature Sensor Assembly - Inside


Object Number: 130635  Size: CH

Connector Part Information

    • 12045813
    • 4-Way F Metri-Pack 150 Series (NA)

Pin

Wire Color

Circuit No.

Function

A

D BU

5518

Auxiliary Inside Air Temperature Sensor Signal

B

D BU

5516

Inside Air Temperature Sensor Assembly Control

C

BK

1050

Ground

D

BN

5517

Low Reference

Blower Motor


Object Number: 35456  Size: CH

Connector Part Information

    • 12064749
    • 2-Way F Metri-Pack 280 Series (BK)

Pin

Wire Color

Circuit No.

Function

A

PU

--

Blower Motor Supply Voltage

B

BK

--

Ground

Blower Motor - Auxiliary


Object Number: 35456  Size: CH

Connector Part Information

    • 12064749
    • 2-Way F Metri-Pack 280 Series (BK)

Pin

Wire Color

Circuit No.

Function

A

PU

--

Blower Motor - Auxiliary Supply Voltage

B

BK

--

Ground

Blower Motor Control Processor


Object Number: 68737  Size: CH

Connector Part Information

    • 12129489
    • 3-Way F Metri-Pack 280 Series (BK)

Pin

Wire Color

Circuit No.

Function

A

RD

542

Battery Positive Voltage

B

PU/WH

760

Blower Motor Speed Control

C

BK

1050

Ground

Blower Motor Control Processor - Auxiliary


Object Number: 68737  Size: CH

Connector Part Information

    • 12129489
    • 3-Way F Metri-Pack 280 Series (BK)

Pin

Wire Color

Circuit No.

Function

A

BK

1450

Ground

B

PU

374

Auxiliary Blower Motor Speed Control

C

OG

1740

Battery Positive Voltage

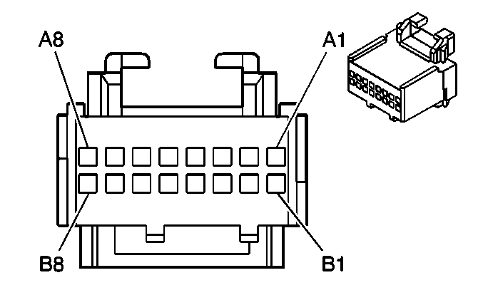
HVAC Control Assembly Front Auxiliary


Object Number: 744295  Size: CH

Connector Part Information

    • 12084944
    • 16-Way F Micro-Pack 100 Series (BK)

Pin

Wire Color

Circuit No.

Function

A1

--

--

Not Used

A2

GY

2821

5-Volt Reference

A3-A4

--

--

Not Used

A5

BK

1050

Ground

A6-A7

--

--

Not Used

A8

BN/WH

230

Instrument Panel Lamps Dimming Control

B1

OG

2930

Auxiliary Front Air Temperature Switch Signal

B2

--

--

Not Used

B3

WH

454

Auxiliary Front Mode Switch Signal

B4-B5

--

--

Not Used

B6

YE

2933

Ground

B7

--

--

Not Used

B8

PU/WH

760

Auxiliary Front Blower Motor Switch Signal

HVAC Control Module - Auxiliary C1


Object Number: 73152  Size: CH

Connector Part Information

    • 12084945
    • 16-Way F Micro-Pack 100 Series (GY)

Pin

Wire Color

Circuit No.

Function

A1

GY

2821

5-Volt Reference

A2

D BU

5518

Auxiliary Inside Air Temperature Sensor Signal

A3

TN

517

Upper Auxiliary Air Temperature Sensor Signal

A4

BN

5517

Low Reference

A5

OG

2930

Auxiliary Front Air Temperature Switch Signal

A6

WH

454

Auxiliary Front Mode Switch Signal

A7-A8

--

--

Not Used

B1

D BU

5516

Inside Air Temperature Sensor Assembly Control

B2

PU/WH

760

Auxiliary Front Blower Motor Switch Signal

B3-B5

--

--

Not Used

B6

BK

516

Low Reference

B7

YE

2933

Ground

B8

--

--

Not Used

HVAC Control Module - Auxiliary C2


Object Number: 356307  Size: CH

Connector Part Information

    • 12092632
    • 16-Way F Micro-Pack 100 Series (RD)

Pin

Wire Color

Circuit No.

Function

A1

D BU

1646

Auxiliary Air Temperature Door Position Signal

A2

YE/BK

1814

Auxiliary Mode Door Position Signal

A3

--

--

Not Used

A4

BK

1450

Ground

A5

WH/BK

1236

Auxiliary Air Temperature Door Control

A6

WH

454

Auxiliary Front Mode Switch Signal

A7

OG

3140

Battery Positive Voltage

A8

GY

2289

Rear HVAC/Audio Class 2 Serial Data

B1

GY

598

5-Volt Reference

B2

GY

2599

5-Volt Reference

B3

YE

1791

Low Reference

B4

GY/BK

1798

Low Reference

B5

BK

520

Lower Auxiliary Air Temperature Sensor Signal

B6

PU

374

Auxiliary Blower Motor Speed Control

B7

BK

518

Low Reference

B8

--

--

Not Used

HVAC Control Module C1


Object Number: 130690  Size: CH

Connector Part Information

    • 12110206
    • 24-Way F Micro-Pack 100 Series (L BU)

Pin

Wire Color

Circuit No.

Function

A1

D GN

1614

Recirculation Door Control

A2

D BU

1646

Right Air Temperature Door Position Signal

A3

L BU

733

Left Air Temperature Door Position Signal

A4

--

--

Not Used

A5

L GN

2275

Mode Door Position Signal

A6

--

--

Not Used

A7

BN/WH

230

Instrument Panel Lamps Dimming Control

A8

BK/WH

1851

Ground

A9-A11

--

--

Not Used

A12

D BU

204

A/C Low Pressure Sensor Signal

B1

WH/BK

1236

Right Air Temperature Door Control

B2

D BU

1199

Left Air Temperature Door Control

B3

--

--

Not Used

B4

TN

2273

Mode Door Control

B5

BN

341

Ignition 3 Voltage

B6

YE

1791

Low Reference

B7

OG

4340

Battery Positive Voltage

B8

L BU/

BK

1688

5-Volt Reference

B9

BK

1050

Ground

B10

--

--

Not Used

B11

WH

1038

HVAC Class 2 Serial Data

B12

--

--

Not Used

HVAC Control Module C2


Object Number: 684939  Size: CH

Connector Part Information

    • 15336594
    • 12-Way F Micro-Pack 100 Series (GY)

Pin

Wire Color

Circuit No.

Function

A

D GN

734

Inside Air Temperature Sensor Signal

B

L GN/BK

735

Ambient Air Temperature Sensor Signal

C

WH

2338

Upper Left Air Temperature Sensor Signal

D

GY

2336

Upper Right Air Temperature Sensor Signal

E

WH/BK

2339

Lower Left Air Temperature Sensor Signal

F

GY/BK

2337

Lower Right Air Temperature Sensor Signal

G

PU

1838

Recirculation Door Position Signal

H-J

--

--

Not Used

K

BN

718

Low Reference

L

WH/BK

5515

Inside Air Temperature Sensor Assembly Control

M

PU/WH

760

Blower Motor Speed Control

Mode Actuator


Object Number: 280764  Size: CH

Connector Part Information

    • 12064993
    • 6-Way F Micro-Pack 100 Series (BK)

Pin

Wire Color

Circuit No.

Function

5

BN

341

Ignition 3 Voltage

6

TN

2273

Mode Door Control

7

YE

1791

Ground

8

--

--

Not Used

9

L GN

2275

Mode Door Position Signal

10

L BU/BK

1688

5-Volt Reference

Mode Actuator - Auxiliary


Object Number: 280764  Size: CH

Connector Part Information

    • 12064993
    • 6-Way F Micro-Pack 100 Series (BK)

Pin

Wire Color

Circuit No.

Function

5

BN

541

Ignition 3 Voltage

6

WH

454

Mode Door Control - Auxiliary

7

GY/BK

1798

Ground

8

--

--

Not Used

9

YE/BK

1814

Auxiliary Mode Door Position Signal

10

GY

2599

5-Volt Reference

Recirculation Actuator


Object Number: 280764  Size: CH

Connector Part Information

    • 12064993
    • 6-Way F Micro-Pack 100 Series (BK)

Pin

Wire Color

Circuit No.

Function

5

BN

341

Ignition 3 Voltage

6

D GN

1614

Recirculation Door Control

7

YE

1791

Ground

8

--

--

Not Used

9

PU

1838

Recirculation Door Position Signal

10

L BU/BK

1688

5-Volt Reference

Sunload Sensor


Object Number: 130637  Size: CH

Connector Part Information

    • 12064760
    • 4-Way F Metri-Pack 150 Series (BK)

Pin

Wire Color

Circuit No.

Function

A

L BU/BK

590

Driver Sunload Sensor Signal

B

GY

1548

Passenger Sunload Sensor Signal

C

BK

279

Ambient Light Sensor Low Reference

D

WH

278

Ambient Light Sensor Signal