GM Service Manual Online
For 1990-2009 cars only
Table 1: Ambient Light Sensor (w/CJ2)
Table 2: Ambient Light Sensor (w/o CJ2)
Table 3: Backup Lamp - Left
Table 4: Backup Lamp - Right
Table 5: Cargo Lamp Assembly - Driver (Avalanche and Escalade EXT Only)
Table 6: Cargo Lamp Assembly - Passenger (Avalanche and Escalade EXT Only)
Table 7: Center High Mounted Stop Lamp (CHMSL) (Avalanche and Escalade EXT)
Table 8: Center High Mounted Stop Lamp (CHMSL) (Except Avalanche and Escalade EXT)
Table 9: Clearance Lamp - LF (w/NYS)
Table 10: Clearance Lamp - LR (w/NYS)
Table 11: Clearance Lamp - RF (w/NYS)
Table 12: Clearance Lamp - RR (w/NYS)
Table 13: Clearance Lamps (w/U01)
Table 14: Courtesy/Reading Lamp - Mid
Table 15: Courtesy/Reading Lamp - Rear (Tahoe and Yukon Only)
Table 16: Daytime Running Lamp (DRL) - Left
Table 17: Daytime Running Lamp (DRL) - Left (VD1)
Table 18: Daytime Running Lamp (DRL) - Right
Table 19: Daytime Running Lamp (DRL) - Right (VD1)
Table 20: Dome Lamp - C-Pillar (Suburban and Yukon XL Only)
Table 21: Dome Lamp - D-Pillar (Suburban and Yukon XL Only)
Table 22: Door Courtesy Lamp - Front Passenger
Table 23: Door Courtesy Lamp - LF
Table 24: Door Latch Assembly - Driver - C1
Table 25: Door Latch Assembly - Driver - C2
Table 26: Door Latch Assembly - Driver - C3
Table 27: Door Latch Assembly - Front Passenger - C1
Table 28: Door Latch Assembly - Front Passenger - C2
Table 29: Door Latch Assembly - LR - C1
Table 30: Door Latch Assembly - LR - C2
Table 31: Door Latch Assembly - RR - C1
Table 32: Door Latch Assembly - RR - C2
Table 33: Fog Lamp - LF
Table 34: Fog Lamp - RF
Table 35: Fog Lamp - Rear (VD1)
Table 36: Fog Lamp Switch Rear (VD1)
Table 37: Headlamp Assembly - Left
Table 38: Headlamp Assembly - Right
Table 39: Headlamp Ballast - Left (Z75)
Table 40: Headlamp Ballast - Right (Z75)
Table 41: Headlamp - High Beam - Left
Table 42: Headlamp - High Beam - Left (VD1)
Table 43: Headlamp - High Beam - Right
Table 44: Headlamp - High Beam - Right (VD1)
Table 45: Headlamp - Low Beam - Left
Table 46: Headlamp - Low Beam - Right
Table 47: Headlamp Leveling Actuator - Left (VD1)
Table 48: Headlamp Leveling Actuator - Right (VD1)
Table 49: Headlamp Leveling Switch (VD1)
Table 50: Headlamp Switch
Table 51: Junction Block - Rear Lamps - C1
Table 52: Junction Block - Rear Lamps - C2
Table 53: Junction Block - Rear Lamps - C3
Table 54: Junction Block - Rear Lamps - C4
Table 55: License Lamp - Left
Table 56: License Lamp - Right
Table 57: Marker Lamp - LF
Table 58: Marker Lamp - LF (VD1)
Table 59: Marker Lamp - LR (w/X88)
Table 60: Marker Lamp - RF
Table 61: Marker Lamp - RF (VD1)
Table 62: Marker Lamp - RR (w/X88)
Table 63: Marker Lamp - Body Rear (w/NYS)
Table 64: Multifunction Accessory Switch
Table 65: Park/Turn Signal Lamp - LF
Table 66: Park/Turn Signal Lamp - RF
Table 67: Repeater Lamp - LF (VD1)
Table 68: Repeater Lamp - RF (VD1)
Table 69: Roof Beacon Relay (w/5G4)
Table 70: Roof Beacon Switch (w/ 5G4)
Table 71: Roof Marker Lamp - Left (w/U01)
Table 72: Roof Marker Lamp - Right (w/U01)
Table 73: Stop Lamp Switch
Table 74: Tail/Stop Lamp - Left
Table 75: Tail/Stop Lamp - Right
Table 76: Turn Signal - LR
Table 77: Turn Signal - RR
Table 78: Turn Signal Multifunction Switch - C1
Table 79: Turn Signal Multifunction Switch - C2
Table 80: Turn Signal Multifunction Switch - C3
Table 81: Turn Signal Multifunction Switch - C4
Table 82: Trailer Connector
Table 83: Vanity Mirror Lamp - Left
Table 84: Vanity Mirror Lamp - Right

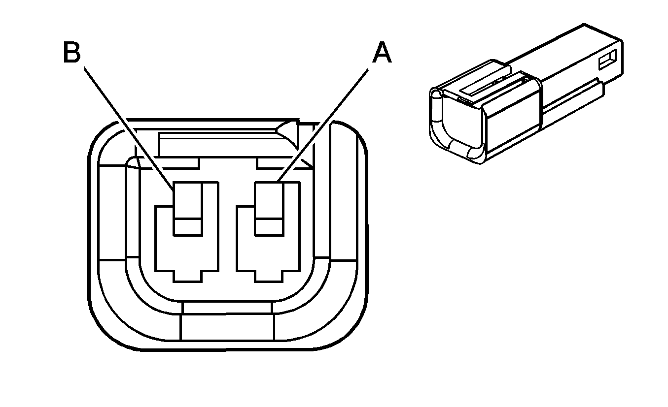
Ambient Light Sensor (w/CJ2)


Object Number: 130637  Size: CH

Connector Part Information

    • 12064760
    • 4-Way F Metri-Pack 150 Series (BK)

Pin

Wire Color

Circuit No.

Function

A

L-BU/BK

590

Driver Sunload Sensor Signal

B

GY

1548

Passenger Sunload Sensor Signal

C

BK

279

Ambient Light Sensor Low Reference

D

WH

278

Ambient Light Sensor Signal

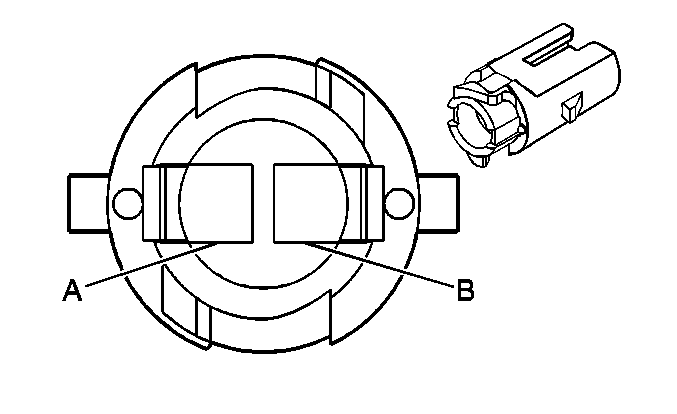
Ambient Light Sensor (w/o CJ2)


Object Number: 82383  Size: CH

Connector Part Information

    • 12047662
    • 2-Way F Metri-Pack 150 Series (BK)

Pin

Wire Color

Circuit No.

Function

A

WH

278

Ambient Light Sensor Signal

B

BK

279

Ambient Light Sensor Low Reference

Backup Lamp - Left


Object Number: 82372  Size: CH

Connector Part Information

    • 12160393
    • 2-Way Lamp Socket Wedge Base W3 Right Angle (L-GY)

Pin

Wire Color

Circuit No.

Function

A

L-GN

24

Backup Lamp Supply Voltage

G

BK

1750

Ground

Backup Lamp - Right


Object Number: 82372  Size: CH

Connector Part Information

    • 12160393
    • 2-Way Lamp Socket Wedge Base W3 Right Angle (L-GY)

Pin

Wire Color

Circuit No.

Function

A

L-GN

24

Backup Lamp Supply Voltage

G

BK

1750

Ground

Cargo Lamp Assembly - Driver (Avalanche and Escalade EXT Only)


Object Number: 632349  Size: CH

Connector Part Information

    • 15326806
    • 2-Way F GT 150 Series Sealed (BK)

Pin

Wire Color

Circuit No.

Function

A

OG

1732

Inadvertent Power Supply Voltage

B

D-BU/WH

149

Cargo Lamp Low Control

Cargo Lamp Assembly - Passenger (Avalanche and Escalade EXT Only)


Object Number: 632349  Size: CH

Connector Part Information

    • 15326806
    • 2-Way F GT 150 Series Sealed (BK)

Pin

Wire Color

Circuit No.

Function

A

OG

1732

Inadvertent Power Supply Voltage

B

D-BU/WH

149

Cargo Lamp Low Control

Center High Mounted Stop Lamp (CHMSL) (Avalanche and Escalade EXT)


Object Number: 39660  Size: CH

Connector Part Information

    • 12047785
    • 4-Way F Metri-Pack 150 Series (BK)

Pin

Wire Color

Circuit No.

Function

A

L-BU

1620

CHMSL Supply Voltage

B

BK

1250

Ground

C-D

--

--

Not Used

Center High Mounted Stop Lamp (CHMSL) (Except Avalanche and Escalade EXT)


Object Number: 35441  Size: CH

Connector Part Information

    • 12047663
    • 2-Way M Metri-Pack 150 Series (BK)

Pin

Wire Color

Circuit No.

Function

A

L-BU

1620

CHMSL Supply Voltage

B

BK

1450

Ground

Clearance Lamp - LF (w/NYS)


Object Number: 635009  Size: CH

Connector Part Information

    • 12052641
    • 2-Way F Metri-Pack 150 Series (BK)

Pin

Wire Color

Circuit No.

Function

A

BN

2509

Left Rear Park Lamps Supply Voltage

B

BK

1750

Ground

Clearance Lamp - LR (w/NYS)


Object Number: 635009  Size: CH

Connector Part Information

    • 12052641
    • 2-Way F Metri-Pack 150 Series (BK)

Pin

Wire Color

Circuit No.

Function

A

BN

2509

Left Rear Park Lamps Supply Voltage

B

BK

1750

Ground

Clearance Lamp - RF (w/NYS)


Object Number: 635009  Size: CH

Connector Part Information

    • 12052641
    • 2-Way F Metri-Pack 150 Series (BK)

Pin

Wire Color

Circuit No.

Function

A

BN/WH

2609

Right Rear Park Lamps Supply Voltage

B

BK

1750

Ground

Clearance Lamp - RR (w/NYS)


Object Number: 635009  Size: CH

Connector Part Information

    • 12052641
    • 2-Way F Metri-Pack 150 Series (BK)

Pin

Wire Color

Circuit No.

Function

A

BN/WH

2609

Right Rear Park Lamps Supply Voltage

B

BK

1750

Ground

Clearance Lamps (w/U01)


Object Number: 82383  Size: CH

Connector Part Information

    • 12047662
    • 2-Way F Metri-Pack 150 Series (BK)

Pin

Wire Color

Circuit No.

Function

A

BN

2409

Interior Park Lamps Supply Voltage

B

BK

1050

Ground

Courtesy/Reading Lamp - Mid


Object Number: 333035  Size: CH

Connector Part Information

    • 12047781
    • 3-Way F Metri-Pack 150 Series (BK)

Pin

Wire Color

Circuit No.

Function

A

GY/BK

690

Courtesy Lamp Supply Voltage

B

BK

1050

Ground

C

OG

1732

Inadvertent Power Supply Voltage

Courtesy/Reading Lamp - Rear (Tahoe and Yukon Only)


Object Number: 333035  Size: CH

Connector Part Information

    • 12047781
    • 3-Way F Metri-Pack 150 Series (BK)

Pin

Wire Color

Circuit No.

Function

A

GY/BK

690

Courtesy Lamp Supply Voltage

B

BK

1050

Ground

C

OG

1732

Inadvertent Power Supply Voltage

Daytime Running Lamp (DRL) - Left


Object Number: 82372  Size: CH

Connector Part Information

    • 15354859
    • 2-Way F Lamp Socket BB W-3 (NA)

Pin

Wire Color

Circuit No.

Function

A

D-BU

545

DRL Supply Voltage

G

BK

150

Ground

Daytime Running Lamp (DRL) - Left (VD1)


Object Number: 95769  Size: CH

Connector Part Information

    • 15354865
    • 3-Way F Lamp Socket Wedge Base W3 Right Angle (GY)

Pin

Wire Color

Circuit No.

Function

A

D-BU

545

DRL Supply Voltage

B

BN

2309

Front Park Lamps Supply Voltage

G

BK

150

Ground

Daytime Running Lamp (DRL) - Right


Object Number: 82372  Size: CH

Connector Part Information

    • 15354859
    • 2-Way F Lamp Socket BB W-3 (NA)

Pin

Wire Color

Circuit No.

Function

A

D-BU

545

DRL Supply Voltage

G

BK

150

Ground

Daytime Running Lamp (DRL) - Right (VD1)


Object Number: 95769  Size: CH

Connector Part Information

    • 15354865
    • 3-Way F Lamp Socket Wedge Base W3 Right Angle (GY)

Pin

Wire Color

Circuit No.

Function

A

D-BU

545

DRL Supply Voltage

B

BN

2309

Front Park Lamps Supply Voltage

G

BK

150

Ground

Dome Lamp - C-Pillar (Suburban and Yukon XL Only)


Object Number: 333035  Size: CH

Connector Part Information

    • 12047781
    • 3-Way F Metri-Pack 150 Series (BK)

Pin

Wire Color

Circuit No.

Function

A

GY/BK

690

Courtesy Lamps Supply Voltage

B

BK

1050

Ground

C

--

--

Not Used

Dome Lamp - D-Pillar (Suburban and Yukon XL Only)


Object Number: 333035  Size: CH

Connector Part Information

    • 12047781
    • 3-Way F Metri-Pack 150 Series (BK)

Pin

Wire Color

Circuit No.

Function

A

WH

690

Courtesy Lamps Supply Voltage

B

OG

1450

Ground

C

--

--

Not Used

Door Courtesy Lamp - Front Passenger


Object Number: 82383  Size: CH

Connector Part Information

    • 12047662
    • 2-Way F Metri-Pack 150 Series (BK)

Pin

Wire Color

Circuit No.

Function

A

WH

156

Courtesy Lamp Low Control

B

L-BU

661

Right Door Courtesy Lamp Ground

Door Courtesy Lamp - LF


Object Number: 82383  Size: CH

Connector Part Information

    • 12047662
    • 2-Way F Metri-Pack 150 Series (BK)

Pin

Wire Color

Circuit No.

Function

A

D-BU/WH

149

Left Door Courtesy Lamp Supply Voltage

B

D-BU

660

Left Door Courtesy Lamp Ground

Door Latch Assembly - Driver - C1


Object Number: 68721  Size: CH

Connector Part Information

    • 15300027
    • 2-Way F Metri-Pack 280 Series Sealed (BK)

Pin

Wire Color

Circuit No.

Function

A

TN

294

Door Lock Actuator Unlock Control

694

Door Lock Actuator Unlock Control

B

GY

295

Door Lock Actuator Lock Control

Door Latch Assembly - Driver - C2


Object Number: 684972  Size: CH

Connector Part Information

    • 15366025
    • 3-Way F GT 150 Series Sealed 3.2 X 4.0 (BK)

Pin

Wire Color

Circuit No.

Function

A

--

--

Not Used

B

GY/BK

745

Left Front Door Ajar Switch Signal

C

--

--

Not Used

D

BN

1183

Left Front Door Switch Low Reference

Door Latch Assembly - Driver - C3


Object Number: 684793  Size: CH

Connector Part Information

    • 12052642
    • 2-Way F Metri-Pack 150 Series Sealed (L-GN)

Pin

Wire Color

Circuit No.

Function

A

D-BU

536

Driver Door Key Switch Low Reference

B

L-GN

262

Driver Door Key Switch Signal

Door Latch Assembly - Front Passenger - C1


Object Number: 68721  Size: CH

Connector Part Information

    • 15300027
    • 2-Way F Metri-Pack 280 Series Sealed (BK)

Pin

Wire Color

Circuit No.

Function

A

TN

294

Door Lock Actuator Unlock Control

B

GY

295

Door Lock Actuator Lock Control

Door Latch Assembly - Front Passenger - C2


Object Number: 684974  Size: CH

Connector Part Information

    • 15366027
    • 2-Way F GT 150 Series Sealed 3.2 X 4.0 (BK)

Pin

Wire Color

Circuit No.

Function

A

D-GN

1178

Right Front Door Switch Low Reference

C

BK/WH

746

Right Front Door Ajar Switch Signal

Door Latch Assembly - LR - C1


Object Number: 68721  Size: CH

Connector Part Information

    • 15300027
    • 2-Way F Metri-Pack 280 Series Sealed (BK)

Pin

Wire Color

Circuit No.

Function

A

TN

294

Door Lock Actuator Unlock Control

B

GY

295

Door Lock Actuator Lock Control

Door Latch Assembly - LR - C2


Object Number: 684972  Size: CH

Connector Part Information

    • 15366025
    • 2-Way F GT 150 Series Sealed 3.2x4.0 (BK)

Pin

Wire Color

Circuit No.

Function

B

L-BU/BK

747

Left Rear Door Ajar Switch Signal

D

BK

1150

Ground

Door Latch Assembly - RR - C1


Object Number: 68721  Size: CH

Connector Part Information

    • 15300027
    • 2-Way F Metri-Pack 280 Series Sealed (BK)

Pin

Wire Color

Circuit No.

Function

A

TN

294

Door Lock Actuator Unlock Control

B

GY

295

Door Lock Actuator Lock Control

Door Latch Assembly - RR - C2


Object Number: 684972  Size: CH

Connector Part Information

    • 15366025
    • 2-Way F GT 150 Series Sealed 3.2x4.0 (BK)

Pin

Wire Color

Circuit No.

Function

B

L-GN/BK

748

Right Rear Door Ajar Switch Signal

D

BK

1250

Ground

Fog Lamp - LF


Object Number: 684797  Size: CH

Connector Part Information

    • 12059183
    • 2-Way F Metri-Pack 280 Series Sealed (BK)

Pin

Wire Color

Circuit No.

Function

A

PU

34

Fog Lamps Supply Voltage

B

BK

150

Ground

Fog Lamp - RF


Object Number: 684797  Size: CH

Connector Part Information

    • 12059183
    • 2-Way F Metri-Pack 280 Series Sealed (BK)

Pin

Wire Color

Circuit No.

Function

A

PU

34

Fog Lamps Supply Voltage

B

BK

150

Ground

Fog Lamp - Rear (VD1)


Object Number: 537107  Size: CH

Connector Part Information

    • 12052644
    • 2-Way F Metri-Pack 150 Series Sealed (GY)

Pin

Wire Color

Circuit No.

Function

A

PU

122

Off Road Lamps Supply Voltage

B

BK

2250

Ground

Fog Lamp Switch Rear (VD1)


Object Number: 347262  Size: CH

Connector Part Information

    • 15336500
    • 6-Way F Metri-Pack 150.2 Series (GN)

Pin

Wire Color

Circuit No.

Function

A

--

--

Not Used

B

YE

1977

Rear Fog Lamp Relay and Indicator Control

C

L-BU

187

Rear Fog Lamp Switch Signal

D

BK/WH

1851

Ground

E

PU/WH

1382

LED Dimming Supply

F

BN/WH

230

Instrument Panel Lamps Dimming Control

Headlamp Assembly - Left


Object Number: 570216  Size: CH

Connector Part Information

    • 12065425
    • 10-Way F Metri-Pack 150 Series Sealed (BK)

Pin

Wire Color

Circuit No.

Function

A

BK

150

Ground

B

--

--

Not Used

C

BK

150

Ground

D

L-BU

2114

Left Turn Signal Lamps Supply Voltage

E

BN

2309

Front Park Lamps Supply Voltage

F

D-GN/WH

711

Left Headlamp High Beam Supply Voltage

G

BK

550

Ground

H-J

--

--

Not Used

K

D-BU

545

DRL Supply Voltage

Headlamp Assembly - Right


Object Number: 570216  Size: CH

Connector Part Information

    • 12065425
    • 10-Way F Metri-Pack 150 Series Sealed (BK)

Pin

Wire Color

Circuit No.

Function

A

BK

150

Ground

B

--

--

Not Used

C

BK

150

Ground

D

L-BU

2115

Right Turn Signal Lamps Supply Voltage

E

BN

2309

Front Park Lamps Supply Voltage

F

D-GN/WH

311

Right Headlamp High Beam Supply Voltage

G

BK

150

Ground

H-J

--

--

Not Used

K

D-BU

545

DRL Supply Voltage

Headlamp Ballast - Left (Z75)


Object Number: 833729  Size: CH

Connector Part Information

    • 10757671
    • 3-Way FCI/Delphi 2.8 mm Apex Sealed (BK)

Pin

Wire Color

Circuit No.

Function

1

BK

550

Ground

2

OG

3540

Battery Positive Voltage

3

YE

712

Left Headlamp Low Beam Supply Voltage

Headlamp Ballast - Right (Z75)


Object Number: 833729  Size: CH

Connector Part Information

    • 10757671
    • 3-Way FCI/Delphi 2.8 mm Apex Sealed (BK)

Pin

Wire Color

Circuit No.

Function

1

BK

550

Ground

2

OG

3540

Battery Positive Voltage

3

TN/WH

312

Right Headlamp Low Beam Supply Voltage

Headlamp - High Beam - Left


Object Number: 684797  Size: CH

Connector Part Information

    • 12059183
    • 2-Way F Metri-Pack 280 Series Sealed (BK)

Pin

Wire Color

Circuit No.

Function

A

D-GN/WH

711

Left Headlamp High Beam Supply Voltage

B

BK

550

Ground

Headlamp - High Beam - Left (VD1)


Object Number: 684796  Size: CH

Connector Part Information

    • 12059181
    • 2-Way F Metri-Pack 280 Series Sealed (GY)

Pin

Wire Color

Circuit No.

Function

A

D-GN/WH

711

Left Headlamp High Beam Supply Voltage

B

BK

550

Ground

Headlamp - High Beam - Right


Object Number: 684797  Size: CH

Connector Part Information

    • 12059183
    • 2-Way F Metri-Pack 280 Series Sealed (BK)

Pin

Wire Color

Circuit No.

Function

A

L-GN/BK

311

Right Headlamp High Beam Supply Voltage

B

BK

150

Ground

Headlamp - High Beam - Right (VD1)


Object Number: 684796  Size: CH

Connector Part Information

    • 12059181
    • 2-Way F Metri-Pack 280 Series Sealed (GY)

Pin

Wire Color

Circuit No.

Function

A

L-GN/BK

311

Right Headlamp High Beam Supply Voltage

B

BK

150

Ground

Headlamp - Low Beam - Left


Object Number: 684796  Size: CH

Connector Part Information

    • 12059181
    • 2-Way F Metri-Pack 280 Series Sealed (GY)

Pin

Wire Color

Circuit No.

Function

A

YE

712

Left Headlamp Low Beam Supply Voltage

B

BK

550

Ground

Headlamp - Low Beam - Right


Object Number: 684796  Size: CH

Connector Part Information

    • 12059181
    • 2-Way F Metri-Pack 280 Series Sealed (GY)

Pin

Wire Color

Circuit No.

Function

A

TN/WH

312

Right Headlamp Low Beam Supply Voltage

B

BK

150

Ground

Headlamp Leveling Actuator - Left (VD1)


Object Number: 655688  Size: CH

Connector Part Information

    • 12124971
    • 3-Way F Sealed (BK)

Pin

Wire Color

Circuit No.

Function

1

BK

150

Ground

2

D-GN

189

Headlamp Leveling Motor Supply Voltage

3

PK

639

Ignition 1 Voltage

Headlamp Leveling Actuator - Right (VD1)


Object Number: 655688  Size: CH

Connector Part Information

    • 12124971
    • 3-Way F Sealed (BK)

Pin

Wire Color

Circuit No.

Function

1

BK

150

Ground

2

D-GN

189

Headlamp Leveling Motor Supply Voltage

3

PK

639

Ignition 1 Voltage

Headlamp Leveling Switch (VD1)


Object Number: 62439  Size: CH

Connector Part Information

    • 12047886
    • 8-Way F Metri-Pack 150 Series (BK)

Pin

Wire Color

Circuit No.

Function

A

PK

639

Ignition 1 Voltage

B

D-GN

189

Headlamp Leveling Motor Supply Voltage

C

BK

150

Ground

D

BN/WH

230

Instrument Panel Lamps Dimming Control

E-H

--

--

Not Used

Headlamp Switch


Object Number: 845611  Size: CH

Connector Part Information

    • 15393872
    • 14-Way F (GN)

Pin

Wire Color

Circuit No.

Function

1

PU

328

Interior Lamp Defeat Switch Signal

2

GY/BK

308

Park Lamp Switch ON Signal

3

BK/WH

1851

Ground

4

WH

103

Headlamp Switch Headlamps ON Signal

5

D-GN

588

DRL Switch Signal

6

BK

1050

Ground

7

PK

1348

Headlamp ON Indicator Control

8

PU

359

DRL OFF Indicator Control

9

PU/WH

1382

LED Dimming Supply

10

D-BU/WH

1495

Courtesy Lamp ON Signal

11

OG/BK

2090

Dimming Input

12

GY/BK

2226

Dimming Return

13

GY

1056

5-Volt Reference

14

BN/WH

230

Instrument Panel Lamps Dimming Control

Junction Block - Rear Lamps - C1


Object Number: 374043  Size: CH

Connector Part Information

    • 15305595
    • 8-Way F Global Tech 280 Series (BU)

Pin

Wire Color

Circuit No.

Function

A

L-BU

2114

Left Turn Signal Lamps Supply Voltage

B

L-BU

1320

CHMSL Supply Voltage

C

L-GN

24

Backup Lamp Supply Voltage

D

BN/WH

2609

Right Rear Park Lamps Supply Voltage

E

BK

1750

Ground

F

--

--

Not Used

G

BN

2509

Left Rear Park Lamps Supply Voltage

H

D-BU

2115

Right Turn Signal Lamps Supply Voltage

Junction Block - Rear Lamps - C2


Object Number: 374045  Size: CH

Connector Part Information

    • 15305596
    • 7-Way F Global Tech 280 Series (GY)

Pin

Wire Color

Circuit No.

Function

A

BK

1750

Ground

B

BK

1750

Ground

C

BK

1750

Ground

D

L-BU

1320

CHMSL Supply Voltage

E

BN

2509

Left Rear Park Lamps Supply Voltage

F

L-GN

24

Backup Lamp Supply Voltage

H

L-BU

2114

Left Turn Signal Lamps Supply Voltage

Junction Block - Rear Lamps - C3


Object Number: 374048  Size: CH

Connector Part Information

    • 15305599
    • 8-Way F Global Tech 280 Series (BN)

Pin

Wire Color

Circuit No.

Function

A

BN/WH

2609

Right Rear Park Lamps Supply Voltage

B

--

--

Not Used

C

BK

1750

Ground

D

BK

1750

Ground (Domestic)

E

BK

1750

Ground (Domestic)

F

--

--

Not Used

G

BN

2509

Left Rear Park Lamps Supply Voltage

H

BK

1750

Ground

Junction Block - Rear Lamps - C4


Object Number: 374047  Size: CH

Connector Part Information

    • 15305597
    • 7-Way F Global Tech 280 Series (BK)

Pin

Wire Color

Circuit No.

Function

A

L-BU

1320

CHMSL Supply Voltage

B

BN/WH

2609

Right Rear Park Lamps Supply Voltage

C

BK

1750

Ground

D

BK

1750

Ground

E

L-GN

24

Backup Lamp Supply Voltage

F

D-BU

2115

Right Turn Signal Lamps Supply Voltage

H

BK

1750

Ground

License Lamp - Left


Object Number: 309447  Size: CH

Connector Part Information

    • 12110053
    • Bulb Type W-2, Axial (GY)

Pin

Wire Color

Circuit No.

Function

A

BN

2509

Left Rear Park Lamps Supply Voltage

B

BK

1750

Ground

License Lamp - Right


Object Number: 309447  Size: CH

Connector Part Information

    • 12110053
    • Bulb Type W-2, Axial (GY)

Pin

Wire Color

Circuit No.

Function

A

BN

2609

Right Rear Park Lamps Supply Voltage (w/o NYS)

BN/WH

2509

Left Rear Park Lamps Supply Voltage (w/NYS)

B

BK

1750

Ground

Marker Lamp - LF


Object Number: 309447  Size: CH

Connector Part Information

    • 12110053
    • Bulb Type W-2, Axial (NA)

Pin

Wire Color

Circuit No.

Function

A

L-BU

2114

Left Turn Signal Lamps Supply Voltage

B

BN

2309

Front Park Lamps Supply Voltage

Marker Lamp - LF (VD1)


Object Number: 309447  Size: CH

Connector Part Information

    • 12110053
    • Bulb Type W-2, Axial

Pin

Wire Color

Circuit No.

Function

A

BK

150

Ground

B

BN

2309

Front Park Lamps Supply Voltage

Marker Lamp - LR (w/X88)


Object Number: 309447  Size: CH

Connector Part Information

    • 12110053
    • Bulb Type W-2, Axial

Pin

Wire Color

Circuit No.

Function

A

BN

2509

Left Rear Park Lamps Supply Voltage

B

L-BU

2114

Left Turn Signal Lamps Supply Voltage

Marker Lamp - RF


Object Number: 309447  Size: CH

Connector Part Information

    • 12110053
    • Bulb Type W-2, Axial (NA)

Pin

Wire Color

Circuit No.

Function

A

D-BU

2115

Right Turn Signal Lamps Supply Voltage

B

BN

2309

Front Park Lamps Supply Voltage

Marker Lamp - RF (VD1)


Object Number: 309447  Size: CH

Connector Part Information

    • 12110053
    • Bulb Type W-2, Axial

Pin

Wire Color

Circuit No.

Function

A

BK

150

Ground

B

BN

2309

Front Park Lamps Supply Voltage

Marker Lamp - RR (w/X88)


Object Number: 309447  Size: CH

Connector Part Information

    • 12110053
    • Bulb Type W-2, Axial

Pin

Wire Color

Circuit No.

Function

A

BN/WH

2609

Right Rear Park Lamps Supply Voltage

B

BK

1750

Ground

Marker Lamp - Body Rear (w/NYS)


Object Number: 816551  Size: CH

Connector Part Information

    • 12059252
    • 2-Way M Metri-Pack 150 Series Sealed (RD)

Pin

Wire Color

Circuit No.

Function

A

BN

2409

Interior Park Lamps Supply Voltage

B

BK

1450

Ground

Multifunction Accessory Switch


Object Number: 845610  Size: CH

Connector Part Information

    • 15393435
    • 10-Way F Micro 64 (GY)

Pin

Wire Color

Circuit No.

Function

A

PU/WH

1382

LED Dimming Supply (w/T96)

B

D-GN/WH

1317

Fog Lamp Relay Control (w/T96)

C

OG

192

Front Fog Lamp Switch Signal (w/T96)

D

BK/WH

1851

Ground

E

BN/WH

230

Instrument Panel Lamps Dimming Control

F

GY

391

Cargo Lamp Low Control (Avalanche/Escalade EXT Only)

Rear Window Wiper Switch Signal (w/E52)

G

YE

343

Accessory Voltage (w/E52)

H

D-GN/WH

266

Rear Window Washer Pump Supply Voltage (w/E52)

J

D-GN

392

Rear Window Washer Pump Control (w/E52)

K

--

--

Not Used

Park/Turn Signal Lamp - LF


Object Number: 38605  Size: CH

Connector Part Information

    • 15324084
    • Bulb Type W-3, Right Angle (BN)

Pin

Wire Color

Circuit No.

Function

A

L-BU

2114

Left Turn Signal Lamps Supply Voltage

B

BN

2309

Front Park Lamps Supply Voltage

G

BK

150

Ground

Park/Turn Signal Lamp - RF


Object Number: 38605  Size: CH

Connector Part Information

    • 15324084
    • Bulb Type W-3, Right Angle (BN)

Pin

Wire Color

Circuit No.

Function

A

D-BU

2115

Right Turn Signal Lamps Supply Voltage

B

BN

2309

Front Park Lamps Supply Voltage

G

BK

150

Ground

Repeater Lamp - LF (VD1)


Object Number: 333041  Size: CH

Connector Part Information

    • 12162000
    • 2-Way M Metri-Pack 150 Series (BK)

Pin

Wire Color

Circuit No.

Function

A

L-BU

2114

Left Turn Signal Lamps Supply Voltage

B

BK

150

Ground

Repeater Lamp - RF (VD1)


Object Number: 333041  Size: CH

Connector Part Information

    • 12162000
    • 2-Way M Metri-Pack 150 Series (BK)

Pin

Wire Color

Circuit No.

Function

A

D-BU

2115

Right Turn Signal Lamps Supply Voltage

B

BK

150

Ground

Roof Beacon Relay (w/5G4)


Object Number: 281201  Size: CH

Connector Part Information

    • 12110541
    • 6-Way F Metri-Pack 280 Series Flexlock (BK)

Pin

Wire Color

Circuit No.

Function

A1

BK

2650

Ground

A2

BN

27

Hazard Flasher Signal

B1-B2

--

--

Not Used

C1

OG

2340

Battery Positive Voltage

C2

WH

111

Hazard Switch Signal

Roof Beacon Switch (w/ 5G4)


Object Number: 304345  Size: CH

Connector Part Information

    • 12177195
    • 6-Way F Metri-Pack 150 Series (BK)

Pin

Wire Color

Circuit No.

Function

A

--

--

Not Used

B

BK

1050

Ground

C

WH

111

Hazard Switch Signal

D

PU/WH

1382

LED Dimming Signal

E

BN/WH

230

Instrument Panel Lamp Supply Voltage

F

OG

4540

Battery Positive Voltage

Roof Marker Lamp - Left (w/U01)


Object Number: 82383  Size: CH

Connector Part Information

    • 12047662
    • 2-Way F Metri-Pack 150 Series (BK)

Pin

Wire Color

Circuit No.

Function

A

BN

2409

Interior Park Lamps Supply Voltage

B

BK

1050

Ground

Roof Marker Lamp - Right (w/U01)


Object Number: 82383  Size: CH

Connector Part Information

    • 12047662
    • 2-Way F Metri-Pack 150 Series (BK)

Pin

Wire Color

Circuit No.

Function

A

BN

2409

Interior Park Lamps Supply Voltage

B

BK

1050

Ground

Stop Lamp Switch


Object Number: 62424  Size: CH

Connector Part Information

    • 12040551
    • 6-Way F Metri-Pack 480 Series (BK)

Pin

Wire Color

Circuit No.

Function

A

WH

17

Stop Lamp Switch Signal (w/o JF4)

D-GN/WH

1135

A/T Shift Lock Control Solenoid Supply Voltage (w/JF4)

B

OG

1540

Battery Positive Voltage (w/o JF4)

L-GN/BK

584

A/T Shift Lock Control Switch Supply Voltage (w/JF4)

C

BN

441

Ignition 3 Voltage

D

PU

420

TCC Brake Switch Signal

E

L-GN/BK

584

A/T Shift Lock Control Switch Supply Voltage (w/o JF4)

OG

1540

Battery Positive Voltage (w/JF4)

F

D-GN/WH

1135

A/T Shift Lock Control Solenoid Supply Voltage (w/o JF4)

WH

17

Stop Lamp Switch Signal (w/JF4)

Tail/Stop Lamp - Left


Object Number: 95769  Size: CH

Connector Part Information

    • 12160395
    • 3-Way Lamp Socket Wedge Base W3 Right Angle (GY)

Pin

Wire Color

Circuit No.

Function

A

L-BU

1320

Stop Lamp Supply Voltage

B

BN

2509

Left Rear Park Lamps Supply Voltage

G

BK

1750

Ground

Tail/Stop Lamp - Right


Object Number: 95769  Size: CH

Connector Part Information

    • 12160395
    • 3-Way Lamp Socket Wedge Base W3 Right Angle (GY)

Pin

Wire Color

Circuit No.

Function

A

L-BU

1320

Stop Lamp Supply Voltage

B

BN/WH

2609

Right Rear Park Lamps Supply Voltage

G

BK

1750

Ground

Turn Signal - LR


Object Number: 38605  Size: CH

Connector Part Information

    • 12160394
    • 3-Way Lamp Socket Wedge Base W3 Right Angle (NA)

Pin

Wire Color

Circuit No.

Function

A

L-BU

2114

Left Turn Signal Lamps Supply Voltage

B

--

--

Not Used

G

BK

1750

Ground

Turn Signal - RR


Object Number: 38605  Size: CH

Connector Part Information

    • 12160394
    • 3-Way Lamp Socket Wedge Base W3 Right Angle (NA)

Pin

Wire Color

Circuit No.

Function

A

D-BU

2115

Right Turn Signal Lamps Supply Voltage

B

--

--

Not Used

G

BK

1750

Ground

Turn Signal Multifunction Switch - C1


Object Number: 39746  Size: CH

Connector Part Information

    • 12064862
    • 8-Way F Metri-Pack 150 Series (BK)

Pin

Wire Color

Circuit No.

Function

A

L-GN

1427

Right Turn Signal Switch Signal

B

PK

639

Ignition 1 Voltage

C

D-GN

1428

Left Turn Signal Switch Signal

D

OG

57

Left Cornering Lamp Supply Voltage

E

BN

2309

Front Park Lamps Supply Voltage

F

TN

58

Right Cornering Lamp Supply Voltage

G

TN

28

Horn Relay Control

H

WH

111

Hazard Switch Signal

Turn Signal Multifunction Switch - C2


Object Number: 130718  Size: CH

Connector Part Information

    • 12059800
    • 5-Way F Metri-Pack 150 Series (BK)

Pin

Wire Color

Circuit No.

Function

A

BK/WH

1851

Ground

B

YE

307

Headlamp Switch Flash to Pass Signal

C

L-GN

11

Headlamp Dimmer Switch Signal

D-E

--

--

Not Used

Turn Signal Multifunction Switch - C3


Object Number: 811190  Size: CH

Connector Part Information

    • 15339058
    • 7-Way F Metri-Pack 150 Series (BK)

Pin

Wire Color

Circuit No.

Function

G

--

--

Not Used

H

PK

94

Windshield Wiper Switch Signal 1

J

GY

478

Windshield Wiper Switch Supply Voltage

K

D-BU

477

Windshield Wiper Switch High Signal

L-N

--

--

Not Used

Turn Signal Multifunction Switch - C4


Object Number: 39661  Size: CH

Connector Part Information

    • 12047786
    • 4-Way F Metri-Pack 150 Series (BK)

Pin

Wire Color

Circuit No.

Function

A

BN

341

Ignition 3 Voltage

B

GY

397

Cruise Control On Switch Signal

C

GY/BK

87

Cruise Control Resume/Accel Switch Signal

D

D-BU

84

Cruise Control Set/Coast Switch Signal

Trailer Connector


Object Number: 525095  Size: CH

Connector Part Information

    • 15354653
    • 7-Way F Metri-Pack 280 Series Sealed (BK)

Pin

Wire Color

Circuit No.

Function

A

L-GN

1624

Trailer Backup Lamps Supply Voltage

B

BK

1550

Ground (30 Series Except Chassis Cab)

1650

Ground (30 Series Chassis Cab)

1750

Ground (10/20 Series)

C

D-BU

47

Trailer Auxiliary Supply Voltage

D

D-GN

1619

Trailer Right Rear Turn/Stop Lamp Supply Voltage

E

RD

742

Battery Positive Voltage

F

BN

2109

Trailer Park Lamps Supply Voltage

G

YE

1618

Trailer Left Rear Turn/Stop Lamp Supply Voltage

Vanity Mirror Lamp - Left


Object Number: 35441  Size: CH

Connector Part Information

    • 12047663
    • 2-Way M Metri-Pack 150 Series Sealed (BK)

Pin

Wire Color

Circuit No.

Function

A

OG

1732

Inadvertent Power Supply Voltage

B

BK

1050

Ground

Vanity Mirror Lamp - Right


Object Number: 35441  Size: CH

Connector Part Information

    • 12047663
    • 2-Way M Metri-Pack 150 Series Sealed (BK)

Pin

Wire Color

Circuit No.

Function

A

OG

1732

Inadvertent Power Supply Voltage

B

BK

1050

Ground