GM Service Manual Online
For 1990-2009 cars only
Table 1: Climate Control Seat Module - Driver C1 (ULT)
Table 2: Climate Control Seat Module - Driver C2 (ULT)
Table 3: Climate Control Seat Module - Front Passenger C1 (ULT)
Table 4: Climate Control Seat Module - Front Passenger C2 (ULT)
Table 5: Climate Control Seat Module - Left Rear C1 (ULT)
Table 6: Climate Control Seat Module - Left Rear C2 (ULT)
Table 7: Climate Control Seat Module - Right Rear C1 (ULT)
Table 8: Climate Control Seat Module - Right Rear C2 (ULT)
Table 9: Driver Door Module (DDM) - C5 (Memory/Heated Seat Switch - Driver)
Table 10: Front Passenger Door Module (FPDM) - C5 (Heated Seat Switch - Front Passenger)
Table 11: Heated Seat Control Module - LR
Table 12: Heated Seat Control Module - RR
Table 13: Heated Seat Switch - LR
Table 14: Heated Seat Switch - RR
Table 15: Heat/Cool Seat Switch -- Driver/Passenger C1
Table 16: Heat/Cool Seat Switch -- Driver/Passenger C2
Table 17: Heat/Cool Seat Switch -- Left Rear
Table 18: Heat/Cool Seat Switch -- Right Rear
Table 19: Heat/Cool Switch Signal Converter C1
Table 20: Heat/Cool Switch Signal Converter C2
Table 21: Heat/Cool Switch Signal Converter C3
Table 22: Lumbar/Bolster Switch - Driver
Table 23: Lumbar/Bolster Switch - Front Passenger
Table 24: Memory Seat Module - Driver C1
Table 25: Memory Seat Module - Driver C2
Table 26: Memory Seat Module - Driver C3
Table 27: Memory Seat Module - Driver C4
Table 28: Seat Adjuster Switch - Driver (AG2)
Table 29: Seat Adjuster Switch - Driver (AN3)
Table 30: Seat Adjuster Switch - Front Passenger
Table 31: Seat Bolster Motor/Position Sensor - Driver
Table 32: Seat Front Vertical Motor - Driver
Table 33: Seat Front Vertical Motor - Front Passenger
Table 34: Seat Front Vertical Motor Position Sensor - Driver
Table 35: Seat Horizontal Motor Position Sensor - Driver
Table 36: Seat Lumbar Motor/Position Sensor - Driver
Table 37: Seat Rear Vertical Motor - Driver
Table 38: Seat Rear Vertical Motor - Front Passenger
Table 39: Seat Rear Vertical Motor Position Sensor - Driver
Table 40: Seat Recliner Motor - Driver
Table 41: Seat Recliner Motor - Front Passenger
Table 42: Seat Recliner Motor Position Sensor - Driver

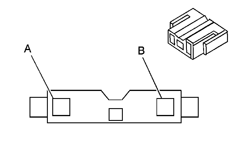
Climate Control Seat Module - Driver C1 (ULT)


Object Number: 62450  Size: CH

Connector Part Information

    • 12052856
    • 4-Way F Metri-Pack 280 Series (BLK)

Pin

Wire Color

Circuit No.

Function

A

--

--

Not Used

B

D-BU/WH

541

Ignition 3 Voltage

C

BK

1150

Ground

D

OG

6909

Battery Positive Voltage

Climate Control Seat Module - Driver C2 (ULT)


Object Number: 1317472  Size: CH

Connector Part Information

    • 638082-1
    • 20-Way F Hybrid Series (BLK)

Pin

Wire Color

Circuit No.

Function

1

L-GN/WH

2078

Driver Seat Cushion Heated/Cool Ventilation Module Heat Control

2

BK

2077

Driver Seat Cushion Heated/Cool Ventilation Module Cool Control

3

D-GN

904

Logic Power

4

BN

903

Low Reference

5-7

--

--

Not Used

8

D-GN/WH

940

Logic Power

9

BN/WH

930

Low Reference

10

L-BU

901

Driver Seat Back Blower Speed Control

11

L-GN

2024

Driver Seat Back Heated/Cool Ventilation Module Heat Control

12

WH

2032

Driver Seat Back Heated/Cool Ventilation Module Cool Control

13

D-BU

909

Driver Seat Cushion Blower Speed Control

14

YE

902

Driver Seat Back Blower Tach Signal

15

RD/WH

6884

Heated/Cool Seat Mode Signal

16

PU

910

Driver Seat Cushion Blower Tachometer Signal

17

TN/WH

2080

Low Reference

18

RD

2079

Driver Seat Cushion Temperature Sensor Signal

19

PK

2425

Driver Seat Back Temperature Sensor Signal

20

TN

2426

Low Reference

Climate Control Seat Module - Front Passenger C1 (ULT)


Object Number: 62450  Size: CH

Connector Part Information

    • 12052856
    • 4-Way F Metri-Pack 280 Series (BLK)

Pin

Wire Color

Circuit No.

Function

A

--

--

Not Used

B

D-BU/WH

541

Ignition 3 Voltage

C

BK

1250

Ground

D

OG

6918

Battery Positive Voltage

Climate Control Seat Module - Front Passenger C2 (ULT)


Object Number: 1317472  Size: CH

Connector Part Information

    • 638082-1
    • 20-Way F Hybrid Series (BLK)

Pin

Wire Color

Circuit No.

Function

1

L-GN/WH

2078

Passenger Seat Cushion Heated/Cool Ventilation Module Heat Control

2

BK

2077

Passenger Seat Cushion Heated/Cool Ventilation Module Cool Control

3

D-GN

904

Logic Power

4

BN

903

Low Reference

5-7

--

--

Not Used

8

D-GN/WH

940

Logic Power

9

BN/WH

930

Low Reference

10

L-BU

901

Passenger Seat Back Blower Speed Control

11

L-GN

905

Passenger Seat Back Heated/Cool Ventilation Module Heat Control

12

D-BU

906

Passenger Seat Back Heated/Cool Ventilation Module Cool Control

13

D-BU

909

Passenger Seat Cushion Blower Speed Control

14

YE

902

Passenger Seat Back Blower Tach Signal

15

RD/WH

6905

Heated/Cool Seat Mode Signal

16

PU

910

Passenger Seat Cushion Blower Tachometer Signal

17

TN/WH

2080

Low Reference

18

RD

2079

Passenger Seat Cushion Temperature Sensor Signal

19

PK

2425

Passenger Seat Back Temperature Sensor Signal

20

TN

2426

Low Reference

Climate Control Seat Module - Left Rear C1 (ULT)


Object Number: 62450  Size: CH

Connector Part Information

    • 12052856
    • 4-Way F Metri-Pack 280 Series (BLK)

Pin

Wire Color

Circuit No.

Function

A

--

--

Not Used

B

BN

541

Ignition 3 Voltage

C

BK

1150

Ground

D

OG

6908

Battery Positive Voltage

Climate Control Seat Module - Left Rear C2 (ULT)


Object Number: 1317472  Size: CH

Connector Part Information

    • 638082-1
    • 20-Way F Hybrid Series (BLK)

Pin

Wire Color

Circuit No.

Function

1

L-GN

2078

Left Rear Seat Cushion Heated/Cool Ventilation Module Heat Control

2

RD/WH

2077

Left Rear Seat Cushion Heated/Cool Ventilation Module Cool Control

3

OG

904

Logic Power

4

OG

903

Low Reference

5-7

--

--

Not Used

8

OG

940

Logic Power

9

OG

930

Low Reference

10

OG

901

Left Rear Seat Back Blower Speed Control

11

OG

2024

Left Rear Seat Back Heated/Cool Ventilation Module Heat Control

12

OG

2032

Left Rear Seat Back Heated/Cool Ventilation Module Cool Control

13

OG

909

Left Rear Seat Cushion Blower Speed Control

14

OG

902

Left Rear Seat Back Blower Tach Signal

15

RD/WH

1637

Heated/Cool Seat Mode Signal

16

OG

910

Left Rear Seat Cushion Blower Tachometer Signal

17

YE

2080

Low Reference

18

YE/BK

2079

Left Rear Seat Cushion Temperature Sensor Signal

19

D-BU

2425

Left Rear Seat Back Temperature Sensor Signal

20

PK

2426

Low Reference

Climate Control Seat Module - Right Rear C1 (ULT)


Object Number: 62450  Size: CH

Connector Part Information

    • 12052856
    • 4-Way F Metri-Pack 280 Series (BLK)

Pin

Wire Color

Circuit No.

Function

A

--

--

Not Used

B

BN

541

Ignition 3 Voltage

C

BK

1250

Ground

D

OG

6907

Battery Positive Voltage

Climate Control Seat Module - Right Rear C2 (ULT)


Object Number: 1317472  Size: CH

Connector Part Information

    • 638082-1
    • 20-Way F Hybrid Series (BLK)

Pin

Wire Color

Circuit No.

Function

1

L-GN

2078

Right Rear Seat Cushion Heated/Cool Ventilation Module Heat Control

2

RD/WH

2077

Right Rear Seat Cushion Heated/Cool Ventilation Module Cool Control

3

OG

904

Logic Power

4

OG

903

Low Reference

5-7

--

--

Not Used

8

OG

940

Logic Power

9

OG

930

Low Reference

10

OG

901

Right Rear Seat Back Blower Speed Control

11

OG

2024

Right Rear Seat Back Heated/Cool Ventilation Module Heat Control

12

OG

2032

Right Rear Seat Back Heated/Cool Ventilation Module Cool Control

13

OG

909

Right Rear Seat Cushion Blower Speed Control

14

OG

902

Right Rear Seat Back Blower Tach Signal

15

RD/WH

1634

Heated/Cool Seat Mode Signal

16

OG

910

Right Rear Seat Cushion Blower Tachometer Signal

17

YE

2080

Low Reference

18

YE/BK

2079

Right Rear Seat Cushion Temperature Sensor Signal

19

D-BU

2425

Right Rear Seat Back Temperature Sensor Signal

20

PK

2426

Low Reference

Driver Door Module (DDM) - C5 (Memory/Heated Seat Switch - Driver)


Object Number: 849815  Size: CH

Connector Part Information

    • 6383393-4
    • 12-Way F Amp 0.64 mm Unsealed (GN)

Pin

Wire Color

Circuit No.

Function

1

WH/BK

--

Medium Heat Indicator Control

2

YE

--

Low Heat Indicator Control

3

GY

--

Back Only Select

4

L-BU

--

Memory/Heated Seat Backlight

5

PK

--

Memory 2 Switch Signal

6

TN

--

Adjustable Pedals Motor Forward Control (JF4)

7

D-GN

--

High Heat Indicator Control

8

BK

--

Back Only Indicator

9

D-BU

--

Back and Cushion Select

10

RD

--

Memory 1 Switch Signal

11

BN

--

Memory/Heated Switch Supply Voltage

12

OG

--

Adjustable Pedals Motor Rearward Control (JF4)

Front Passenger Door Module (FPDM) - C5 (Heated Seat Switch - Front Passenger)


Object Number: 849815  Size: CH

Connector Part Information

    • 6383393-4
    • 12-Way F Amp 0.64 mm Unsealed (GN)

Pin

Wire Color

Circuit No.

Function

1

YE

--

Low Heat Indicator Control

2

GN

--

High Heat Indicator Control

3

D-BU

--

Back and Cushion Select

4

GY

--

Back Only Select

5

--

--

Not Used

6

BN

--

Memory/Heated Seat Switch Supply Voltage

7

BK

--

Back Only Indicator Control

8

WH/BK

--

Medium Heat Indicator Control

9-11

--

--

Not Used

12

L-BU

--

Heated Seat Switch Backlight

Heated Seat Control Module - LR


Object Number: 887125  Size: CH

Connector Part Information

    • 15339007
    • 9-Way F Metri-Pack 280 630 Series (BN)

Pin

Wire Color

Circuit No.

Function

A

RD/WH

2075

Heated Seat Cushion Element Control

B

BN/WH

1637

Left Rear Heated Seat Switch Signal

C

BN

541

Ignition 3 Voltage

D

OG

4540

Battery Positive Voltage

E

YE

2079

Heated Seat Cushion Temperature Sensor Signal

F

BK

1150

Ground

G

BK/WH

1638

Left Rear Heated Seat High Temperature Indicator Control

H

PK

1631

Left Rear Heated Seat Low Temperature Indicator Control

J

BK

2080

Low Reference

Heated Seat Control Module - RR


Object Number: 887125  Size: CH

Connector Part Information

    • 15339007
    • 9-Way F Metri-Pack 280 630 Series (BN)

Pin

Wire Color

Circuit No.

Function

A

RD/WH

2075

Heated Seat Cushion Element Control

B

BN/WH

1634

Right Rear Heated Seat Switch Signal

C

BN

541

Ignition 3 Voltage

D

OG

4540

Battery Positive Voltage

E

YE

2079

Heated Seat Cushion Temperature Sensor Signal

F

BK

1250

Ground

G

BK/WH

1635

Right Rear Heated Seat High Temperature Indicator Control

H

PK

1636

Right Rear Heated Seat Low Temperature Indicator Control

J

BK

2080

Low Reference

Heated Seat Switch - LR


Object Number: 130714  Size: CH

Connector Part Information

    • 12124997
    • 5-Way F Metri-Pack 150 Series (BK)

Pin

Wire Color

Circuit No.

Function

A

PK

1631

Left Rear Heated Seat Low Indicator Control

B

BK/WH

1638

Left Rear Heated Seat High Indicator Control

C

BN

1637

Left Rear Heated Seat Switch Signal

D

BN/WH

230

Instrument Panel Lamps Dimming Control

E

BK

1050

Ground

Heated Seat Switch - RR


Object Number: 130714  Size: CH

Connector Part Information

    • 12124997
    • 5-Way F (BK)

Pin

Wire Color

Circuit No.

Function

A

PK

1636

Right Rear Heated Seat Low Indicator Control

B

BK/WH

1635

Right Rear Heated Seat High Indicator Control

C

BN

1634

Right Rear Heated Seat Switch Signal

D

BN/WH

230

Instrument Panel Lamps Dimming Control

E

BK

1050

Ground

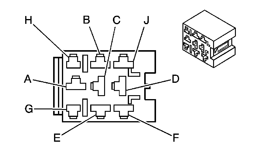
Heat/Cool Seat Switch -- Driver/Passenger C1


Object Number: 1399228  Size: CH

Connector Part Information

    • 15417521
    • 12-Way F (GY)

Pin

Wire Color

Circuit No.

Function

1

GY/BK

6911

Converter Module Driver & Passenger Switch Passenger Select Heat

2

GY/RD

6912

Converter Module Driver & Passenger Switch Passenger Select Cool

3

GY/WH

6915

Converter Module Driver & Passenger Switch Passenger Seat & Back Select

4

GY/YE

6916

Converter Module Driver & Passenger Switch Passenger Back Only Select

5

RD/BK

6920

Converter Module Driver & Passenger Switch Passenger LED High Heat Signal

6

D-GN/OG

6921

Converter Module Driver & Passenger Switch Passenger LED High Cool Signal

7

OG/RD

6924

Convertor Module Driver & Passenger Switch Passenger LED Medium Heat Signal

8

D-GN/WH

6925

Module Convertor Module Driver & Passenger Switch Passenger LED Medium Cool Signal

9

D-GN/YE

6927

Convertor Module Driver & Passenger Switch Passenger LED Low Heat Signal

10

L-GN/BK

6930

Converter Module Driver & Passenger Switch Passenger LED Low Cool Signal

11

L-GN/PU

6931

Converter Module Driver & Passenger Switch Passenger LED Back Only Signal

12

--

--

Not Used

Heat/Cool Seat Switch -- Driver/Passenger C2


Object Number: 1696912  Size: CH

Connector Part Information

    • 13512930
    • 18-Way F (GY)

Pin

Wire Color

Circuit No.

Function

1

L-BU/PK

6910

Converter Mod Driver & Passenger Switch Driver Select Heat

2

L-BU/BK

6913

Converter Module Driver & Passenger Switch Driver Select Cool

3

BN/L-BU

6914

Converter Module Driver & Passenger Switch Driver Seat Back Select

4

L-BU/WH

6917

Converter Module Driver & Passenger Switch Driver Back Only Select

5

L-BU/YE

6919

Converter Module Driver & Passenger Switch Driver LED High Heat Signal

6

TN/BK

6922

Converter Module Driver & Passenger Switch Driver LED High Cool Signal

7

BN/L-GN

6923

Convertor Module Driver & Passenger Switch Driver LED Medium Heat Signal

8

BN/OG

6926

Convertor Module Driver & Passenger Switch Driver LED Medium Cool Signal

9

RD/WH

6928

Module Convertor Module Driver & Passenger Switch Driver LED Low Heat Signal

10

BN/WH

6929

Convertor Module Driver & Passenger Switch Driver LED Low Cool Signal

11

OG/L-BU

6932

Converter Module Driver & Passenger Switch Driver LED Back Only Signal

12

L-GN/YE

230

Instrument Panel Lamp Dimming Control

13

OG/BK

541

Run Ignition 3 Voltage

14

L-GN/RD

1050

Ground

15

--

--

Not Used

16

--

--

Not Used

17

--

--

Not Used

18

--

--

Not Used

Heat/Cool Seat Switch -- Left Rear


Object Number: 1696912  Size: CH

Connector Part Information

    • 13512930
    • 18-Way F (GY)

Pin

Wire Color

Circuit No.

Function

1

D-BU

6937

Converter Module Left Rear Heated/Cooled Switch System Select Heat Signal

2

L-BU

6938

Converter Module Left Rear Heated/Cooled Switch System Select Cool Signal

3

BN

6939

Converter Module Left Rear Heated/Cooled Switch System Select Seat & Back Signal

4

GY

6941

Converter Module Left Rear Heated/Cooled Switch System Select Back Only Signal

5

BK/TN

6942

Converter Module Left Rear Heated/Cooled Switch Indicator High Heat Signall

6

D-GN

6943

Converter Module Left Rear Heated/Cooled Switch Indicator High Cool Signal

7

L-GN

6944

Converter Module Left Rear Heated/Cooled Switch Indicator Medium Heat Signal

8

WH

6945

Converter Module Left Rear Heated/Cooled Switch Indicator Medium Cool Signal

9

OG

6946

Converter Module Left Rear Heated/Cooled Switch Indicator Low Heat Signal

10

PK

6947

Converter Module Left Rear Heated/Cooled Switch Indicator Low Cool Signal

11

RD

6948

Converter Module Left Rear Heated/Cooled Switch Indicator Back Only Signal

12

PU

230

Instrument Panel Lamp Dimming Control

13

YN

541

Run Ignition 3 Voltage

14

YE

1050

Ground

15

--

--

Not Used

16

--

--

Not Used

17

--

--

Not Used

18

--

--

Not Used

Heat/Cool Seat Switch -- Right Rear


Object Number: 1696910  Size: CH

Connector Part Information

    • 13512931
    • 18-Way F (BK)

Pin

Wire Color

Circuit No.

Function

1

BK/GY

6949

Converter Module Right Rear Heated/Cooled Switch System Select Heat Signal

2

BK/L-BU

6952

Converter Module Right Rear Heated/Cooled Switch System Select Cool Signal

3

TN/WH

6953

Converter Module Right Rear Heated/Cooled Switch System Select Seat & Back Signal

4

L-GN/WH

6954

Converter Module Right Rear Heated/Cooled Switch System Select Back Only Signal

5

BK/OG

6955

Converter Module Right Rear Heated/Cooled Switch Indicator High Heat Signal

6

BK/PK

6956

Converter Module Right Rear Heated/Cooled Switch Indicator High Cool Signal

7

WH/BK

6957

Converter Module Right Rear Heated/Cooled Switch Indicator Medium Heat Signal

8

D-BU/OG

6958

Converter Module Right Rear Heated/Cooled Switch Indicator Medium Cool Signal

9

YE/BK

6959

Converter Module Right Rear Heated/Cooled Switch Indicator Low Heat Signal

10

D-BU/WH

6960

Converter Module Right Rear Heated/Cooled Switch Indicator Low Cool Signal

11

BK/WH

61

Converter Module Right Rear Heated/Cooled Switch Indicator Back Only Signal

12

BK/YE

230

Instrument Panel Lamp Dimming Control

13

L-BU/OG

541

Run Ignition 3 Voltage

14

D-BU/L-GN

1050

Ground

15

--

--

Not Used

16

--

--

Not Used

17

--

--

Not Used

18

--

--

Not Used

Heat/Cool Switch Signal Converter C1


Object Number: 130689  Size: CH

Connector Part Information

    • 12110244
    • 24-Way F (PK)

Pin

Wire Color

Circuit No.

Function

A1

BN/WH

230

Instrument Panel Lamp Dimming Control

A2

BK

1050

Ground

A3

BK

541

Run Ignition 3 Voltage

A4

L-BU/PK

6910

Converter Module Driver & Passenger Switch Driver Select Heat

A5

L-BU/BK

6913

Converter Module Driver & Passenger Switch Driver Select Cool

A6

BN/L-BU

6914

Converter Module Driver & Passenger Switch Driver Seat Back Select

A7

L-BU/WH

6917

Converter Module Driver & Passenger Switch Driver Back Only Select

A8

L-BU/YE

6919

Converter Module Driver & Passenger Switch Driver LED High Heat Signal

A9

TN/BK

6922

Converter Module Driver & Passenger Switch Driver LED High Cool Signal

A10

BN/L-GN

6923

Convertor Module Driver & Passenger Switch Driver LED Medium Heat Signal

A11

BN/OG

6926

Convertor Module Driver & Passenger Switch Driver LED Medium Cool Signal

A12

RD/WH

6928

Module Convertor Module Driver & Passenger Switch Driver LED Low Heat Signal

B1

BN/WH

6929

Convertor Module Driver & Passenger Switch Driver LED Low Cool Signal

B2

OG/L-BU

6932

Converter Module Driver & Passenger Switch Driver LED Back Only Signal

B3

PU/WH

1382

LED Dimming Signal

B4

--

--

Not Used

B5

--

--

Not Used

B6

GY/BK

6911

Converter Module Driver & Passenger Switch Passenger Select Heat

B7

GY/RD

6912

Converter Module Driver & Passenger Switch Passenger Select Cool

B8

GY/WH

6915

Converter Module Driver & Passenger Switch Passenger Seat & Back Select

B9

GY/YE

6916

Converter Module Driver & Passenger Switch Passenger Back Only Select

B10

RD/BK

6920

Converter Module Driver & Passenger Switch Passenger LED High Heat Signal

B11

D-GN/OG

6921

Converter Module Driver & Passenger Switch Passenger LED High Cool Signal

B12

OG/RD

6924

Convertor Module Driver & Passenger Switch Passenger LED Medium Heat Signal

Heat/Cool Switch Signal Converter C2


Object Number: 73156  Size: CH

Connector Part Information

    • 12110088
    • 24-Way F (GY)

Pin

Wire Color

Circuit No.

Function

A1

D-GN/WH

6925

Module Convertor Module Driver & Passenger Switch Passenger LED Medium Cool Signal

A2

D-GN/YE

6927

Convertor Module Driver & Passenger Switch Passenger LED Low Heat Signal

A3

L-GN/BK

6930

Converter Module Driver & Passenger Switch Passenger LED Low Cool Signal

A4

L-GN/PU

6931

Converter Module Driver & Passenger Switch Passenger LED Back Only Signal

A5

L-GN/RD

1050

Ground

A6

L-GN/YE

230

Instrument Panel Lamp Dimming Control

A7

OG/BK

541

Run Ignition 3 Voltage

A8

D-BU

6937

Converter Module Left Rear Heated/Cooled Switch System Select Heat Signal

A9

L-BU

6938

Converter Module Left Rear Heated/Cooled Switch System Select Cool Signal

A10

BN

6939

Converter Module Left Rear Heated/Cooled Switch System Select Seat & Back Signal

A11

GY

6941

Converter Module Left Rear Heated/Cooled Switch System Select Back Only Signal

A12

BK/TN

6942

Converter Module Left Rear Heated/Cooled Switch Indicator High Heat Signal

B1

D-GN

6943

Converter Module Left Rear Heated/Cooled Switch Indicator High Cool Signal

B2

L-GN

6944

Converter Module Left Rear Heated/Cooled Switch Indicator Medium Heat Signal

B3

WH

6945

Converter Module Left Rear Heated/Cooled Switch Indicator Medium Cool Signal

B4

OG

6946

Converter Module Left Rear Heated/Cooled Switch Indicator Low Heat Signal

B5

PK

6947

Converter Module Left Rear Heated/Cooled Switch Indicator Low Cool Signal

B6

RD

6948

Converter Module Left Rear Heated/Cooled Switch Indicator Back Only Signal

B7

YE

1050

Ground

B8

PU

230

Instrument Panel Lamp Dimming Control

B9

TN

541

Run Ignition 3 Voltage

B10

BK/GY

6949

Converter Module Right Rear Heated/Cooled Switch System Select Heat Signal

B11

BK/L-BU

6952

Converter Module Right Rear Heated/Cooled Switch System Select Cool Signal

B12

TN/WH

6953

Converter Module Right Rear Heated/Cooled Switch System Select Seat & Back Signal

Heat/Cool Switch Signal Converter C3


Object Number: 73152  Size: CH

Connector Part Information

    • 12084945
    • 16-Way F (GY)

Pin

Wire Color

Circuit No.

Function

A1

L-GN/WH

6954

Converter Module Right Rear Heated/Cooled Switch System Select Back Only Signal

A2

BK/OG

6955

Converter Module Right Rear Heated/Cooled Switch Indicator High Heat Signal

A3

PK/BK

6956

Converter Module Right Rear Heated/Cooled Switch Indicator High Cool Signal

A4

WH/BK

6957

Converter Module Right Rear Heated/Cooled Switch Indicator Medium Heat Signal

A5

D-BU/OG

6958

Converter Module Right Rear Heated/Cooled Switch Indicator Medium Cool Signal

A6

YE-BK

6959

Converter Module Right Rear Heated/Cooled Switch Indicator Low Heat Signal

A7

D-BU/WH

6960

Converter Module Right Rear Heated/Cooled Switch Indicator Low Cool Signal

A8

BK/WH

6961

Converter Module Right Rear Heated/Cooled Switch Indicator Back Only Signal

B1

D-BU/L-GN

1050

Ground

B2

BK/YE

230

Instrument Panel Lamp Dimming Control

B3

L-BU/OG

541

Run Ignition 3 Voltage

B4

PK/L-BU

6864

Driver Seat Control Module Heated/Cooled Seat Seat Switch Input

B5

OG/WH

6905

Passenger Seat Control Module Heated/Cooled Seat Switch Input

B6

PK/BK

1637

Left Rear Heated Seat Switch Signal

B7

PK/L-GN

1634

Right Rear Heated Seat Switch Signal

B8

PU/WH

1382

LED Dimming Signal

Lumbar/Bolster Switch - Driver


Object Number: 73146  Size: CH

Connector Part Information

    • 12052854
    • 7-Way F GT 280 Series (BK)

Pin

Wire Color

Circuit No.

Function

A

OG

1540

Battery Positive Voltage

B

WH/RD

5701

Driver Seat Torso Bolster in Switch Signal

C-D

--

--

Not Used

E

TN

2408

Driver Seat Lumbar Motor Rearward Switch Signal

F

YE

2407

Driver Seat Lumbar Motor Forward Switch Signal

G

GY/RD

5702

Driver Seat Torso Bolster Out Switch Signal

Lumbar/Bolster Switch - Front Passenger


Object Number: 73146  Size: CH

Connector Part Information

    • 12052854
    • 7-Way F Metri-Pack 280 Series (BK)

Pin

Wire Color

Circuit No.

Function

A

OG

1440

Battery Positive Voltage

B

D-BU

2462

Passenger Seat Bolster Motor Forward Control

C

BK

1250

Ground

D

--

--

Not Used

E

D-BU

211

Passenger Seat Lumbar Motor Forward Control

F

WH

210

Passenger Seat Lumbar Motor Rearward Control

G

L-BU

2427

Passenger Seat Bolster Motor Rearward Control

Memory Seat Module - Driver C1


Object Number: 845625  Size: CH

Connector Part Information

    • 7283-5560-40
    • 8-Way F Yazaki 2.8 mm Unsealed (L-GY)

Pin

Wire Color

Circuit No.

Function

1

L-GN

276

Driver Seat Recline Motor Forward Control

2

L-BU

277

Driver Seat Recline Motor Rearward Control

3

TN

285

Driver Seat Horizontal Motor Forward Control

4

L-GN

284

Driver Seat Horizontal Motor Rearward Control

5

L-BU

283

Driver Seat Rear Vertical Motor Down Control

6

YE

282

Driver Seat Rear Vertical Motor Up Control

7

D-BU

287

Driver Seat Front Vertical Motor Down Control

8

D-GN

286

Driver Seat Front Vertical Motor Up Control

Memory Seat Module - Driver C2


Object Number: 845613  Size: CH

Connector Part Information

    • 7283-5625-40
    • 13-Way F Yazaki Hybrid Unsealed (L-GY)

Pin

Wire Color

Circuit No.

Function

1

OG

1440

Battery Positive Voltage

2-3

--

--

Not Used

4

D-BU

611

Driver Seat Lumbar Motor Forward Control

5

PK

610

Driver Seat Lumbar Motor Rearward Control

6

--

--

Not Used

7

BK

1150

Ground

8

--

--

Not Used

9

YE

1257

Driver Seat Torso Bolster In Control

10

PU

1258

Driver Seat Torso Bolster Out Control

11-13

--

--

Not Used

Memory Seat Module - Driver C3


Object Number: 845626  Size: CH

Connector Part Information

    • 174516-2
    • 26-Way F Amp Hybrid (BK)

Pin

Wire Color

Circuit No.

Function

1

RD/WH

2077

Heated Seat Cushion Element Supply Voltage - w/KA7

2-3

--

--

Not Used

4

TN

2408

Driver Seat Lumbar Motor Rearward Control

5

GY/RD

5702

Driver Seat Torso Bolster Out Switch Signal

6

D-GN/WH

1270

Power Seat Recline Rearward Switch Signal

7

--

--

Not Used

8

L-GN

1523

Power Seat Horizontal Rearward Switch Signal

9

L-BU

1521

Power Seat Rear Vertical Down Switch Signal

10

D-BU

1520

Power Seat Front Vertical Down Switch Signal

11

--

--

Not Used

12

WH

940

12-Volt Reference

13

WH

570B

Driver Seat Recline Motor Position Sensor Voltage Reference

14

BN

2432

Driver Heated Seat Back Element Supply Voltage - w/KA7

15-16

--

--

Not Used

17

YE

2407

Driver Seat Lumbar Motor Forward Switch Signal

18

WH/RD

5701

Driver Seat Torso Bolster in Switch Signal

19

GY/BK

1269

Power Seat Recline Forward Switch Signal

20

--

--

Not Used

21

TN

1522

Power Seat Horizontal Forward Switch Signal

22

YE

1519

Power Seat Rear Vertical Up Switch Signal

23

D-GN

1518

Power Seat Front Vertical Up Switch Signal

24

OG

1540

Switch Voltage Supply

25

BN/WH

5288

Low Reference

26

BK

570A

Low Reference

Memory Seat Module - Driver C4


Object Number: 845627  Size: CH

Connector Part Information

    • 174515-6
    • 22-Way F Amp Hybrid (GY)

Pin

Wire Color

Circuit No.

Function

1

L-BU

2433

Passenger Heated Seat Back Element Control - w/KA7

2

PK

2480

Heated Seat Cushion Element Control - w/KA7

3

BN/WH

557

Front Vertical Seat Motor Position Sensor Signal

4

D-GN

569

Horizontal Seat Motor Position Sensor Signal

5

YE

1063

Driver Seat Lumbar Horizontal Position Sensor Signal

6

PU

5700

Driver Seat Torso Bolster Position Sensor Signal

7

--

--

Not Used

8

D-BU

2425

Driver Heated Seat Back Temperature Sensor Signal - w/KA7

9

BN/WH

1048

SCM (Seat) Class 2 Serial Data

10

--

--

Not Used

11

D-BU

2479

Passenger Heated Seat Element Supply Voltage - w/KA7

12

PU

2424

Driver Heated Seat Back Element Control - w/KA7

13

L-GN

2078

Heated Seat Cushion Element Control - w/KA7

14

TN

568

Rear Vertical Seat Motor Position Sensor Signal

15

--

--

Not Used

16

BK/WH

570

Driver Seat Recline Motor Position Sensor Signal

17

PK

5289

Adjustable Pedals Position Sensor Signal

18

--

--

Not Used

19

D-BU

5475

Front Passenger Heated Seat Back Temperature Signal

20-21

--

--

Not Used

22

D-BU

2479

Passenger Heated Seat Element Supply Voltage

Seat Adjuster Switch - Driver (AG2)


Object Number: 62469  Size: CH

Connector Part Information

    • 12064998
    • 8-Way F Metri-Pack 280 Series (BK)

Pin

Wire Color

Circuit No.

Function

A

D-GN

286

Driver Seat Front Vertical Motor Up Control

B

D-BU

287

Driver Seat Front Vertical Motor Down Control

C

YE

282

Driver Seat Rear Vertical Motor Up Control

D

L-BU

283

Driver Seat Rear Vertical Motor Down Control

E

BK

1150

Ground

F

L-GN

284

Driver Seat Horizontal Motor Rearward Control

G

TN

285

Driver Seat Horizontal Motor Forward Control

H

OG

1440

Battery Positive Voltage

Seat Adjuster Switch - Driver (AN3)


Object Number: 476149  Size: CH

Connector Part Information

    • 15326110
    • 12-Way F GT 280 Series (BK)

Pin

Wire Color

Circuit No.

Function

A

D-GN/WH

1270

Power Seat Recline Rearward Switch Signal

B

GY/BK

1269

Power Seat Recline Forward Switch Signal

C

--

--

Not Used

D

L-GN

1523

Power Seat Horizontal Rearward Switch Signal

E

TN

1522

Power Seat Horizontal Forward Switch Signal

F

OG

1540

Battery Positive Voltage - Memory Seat Module

OG

1540

Battery Positive Voltage - Lumbar/Bolster Switch

G-H

--

--

Not Used

J

L-BU

1521

Power Seat Rear Vertical Down Switch Signal

K

YE

1519

Power Seat Rear Vertical Up Switch Signal

L

D-BU

1520

Power Seat Front Vertical Down Switch Signal

M

D-GN

1518

Power Seat Front Vertical Up Switch Signal

Seat Adjuster Switch - Front Passenger


Object Number: 476149  Size: CH

Connector Part Information

    • 15326110
    • 12-Way F GT 280 Series (BK)

Pin

Wire Color

Circuit No.

Function

A

OG

1440

Battery Positive Voltage

B

L-GN

290

Passenger Seat Horizontal Motor Rearward Control

C

TN

296

Passenger Seat Horizontal Motor Forward Control

D

BK

1250

Ground

E

D-BU

77

Passenger Seat Recline Motor Rearward

F

D-GN

76

Passenger Seat Recline Motor Forward

G

D-BU

298

Passenger Seat Front Vertical Motor Down Control

H

D-GN

297

Passenger Seat Front Vertical Motor Up Control

J

L-BU

289

Passenger Seat Rear Vertical Motor Down Control

K

YE

288

Passenger Seat Rear Vertical Motor Up Control

L-M

--

--

Not Used

Seat Bolster Motor/Position Sensor - Driver


Object Number: 815374  Size: CH

Connector Part Information

    • 15-97-5061
    • 6-Way F MOLEX (BK)

Pin

Wire Color

Circuit No.

Function

1

PK/BK

1257

Driver Seat Torso Bolster In Control

2

--

--

Not Used

3

TN/WH

1258

Driver Seat Torso Bolster Out Control

4

D-BU/WH

5288

Low Reference

5

PU/WH

5700

Driver Seat Torso Bolster Position Sensor Signal

6

BN

5287

12-Volt Reference

Seat Front Vertical Motor - Driver


Object Number: 1073782  Size: CH

Connector Part Information

    • 12052109
    • 2-Way F Metri-Pack 280 Series (BK)

Pin

Wire Color

Circuit No.

Function

A

BK

287

Driver Seat Front Vertical Motor Down Control

B

RD

286

Driver Seat Front Vertical Motor Up Control

Seat Front Vertical Motor - Front Passenger


Object Number: 1073782  Size: CH

Connector Part Information

    • 12052109
    • 2-Way F Metri-Pack 280 Series (BK)

Pin

Wire Color

Circuit No.

Function

A

RD

1518

Power Seat Front Vertical Up Switch Signal

B

BK

1520

Power Seat Front Vertical Down Switch Signal

Seat Front Vertical Motor Position Sensor - Driver


Object Number: 900006  Size: CH

Connector Part Information

    • 104257-2
    • 3-Way F Amp (BK)

Pin

Wire Color

Circuit No.

Function

A

RD

940

12-Volt Reference

B

L-BU

557

Front Vertical Seat Motor Position Sensor Signal

C

BK

950

Low Reference

Seat Horizontal Motor Position Sensor - Driver


Object Number: 900006  Size: CH

Connector Part Information

    • 104257-2
    • 3-Way F Amp (BK)

Pin

Wire Color

Circuit No.

Function

A

RD

940

12-Volt Reference

B

L-BU

569

Horizontal Seat Motor Position Sensor Signal

C

BK

950

Low Reference

Seat Lumbar Motor/Position Sensor - Driver


Object Number: 815374  Size: CH

Connector Part Information

    • 15-97-5061
    • 6-Way F MOLEX (BK)

Pin

Wire Color

Circuit No.

Function

1

PU/WH

611

Driver Seat Lumbar Motor Forward Control

2

--

--

Not Used

3

D-BU/WH

610

Driver Seat Lumbar Motor Rearward Control

4

D-BU/WH

5288

Low Reference

5

L-BU

1063

Driver Seat Lumbar Horizontal Position Sensor Signal

6

BN

5287

12-Volt Reference

Seat Rear Vertical Motor - Driver


Object Number: 1073782  Size: CH

Connector Part Information

    • 12129082
    • 2-Way F Metri-Pack 280 Series (BK)

Pin

Wire Color

Circuit No.

Function

A

BK

283

Driver Seat Rear Vertical Motor Down Control

B

RD

282

Driver Seat Rear Vertical Motor Up Control

Seat Rear Vertical Motor - Front Passenger


Object Number: 1073782  Size: CH

Connector Part Information

    • 12129082
    • 2-Way F Metri-Pack 280 Series (BK)

Pin

Wire Color

Circuit No.

Function

A

RD

1519

Power Seat Rear Vertical Up Switch Signal

B

BK

1521

Power Seat Rear Vertical Down Switch Signal

Seat Rear Vertical Motor Position Sensor - Driver


Object Number: 900006  Size: CH

Connector Part Information

    • 104257-2
    • 3-Way F Metri-Pack 150 Series (BK)

Pin

Wire Color

Circuit No.

Function

A

RD

940

12-Volt Reference

B

L-BU

568

Rear Vertical Seat Motor Position Sensor Signal

C

BK

950

Low Reference

Seat Recliner Motor - Driver


Object Number: 153645  Size: CH

Connector Part Information

    • 12129082
    • 2-Way F Metri-Pack 280 Series (GY)

Pin

Wire Color

Circuit No.

Function

A

L-BU

277

Driver Seat Recline Motor Rearward Control

B

L-GN

276

Driver Seat Recline Motor Forward Control

Seat Recliner Motor - Front Passenger


Object Number: 153645  Size: CH

Connector Part Information

    • 12129082
    • 2-Way F Metri-Pack 280 Series (GY)

Pin

Wire Color

Circuit No.

Function

A

D-BU

77

Front Passenger Seat Recline Motor Rearward Control

B

D-GN

76

Front Passenger Seat Recline Motor Forward Control

Seat Recliner Motor Position Sensor - Driver


Object Number: 405591  Size: CH

Connector Part Information

    • 12059584
    • 3-Way F Metri-Pack 150 Series (BK)

Pin

Wire Color

Circuit No.

Function

A

--

--

Not Used

B

BK

570C

Low Reference

C

BK/WH

570

Driver Seat Recline Position Sensor Signal

D

WH

570D

5-Volt Reference