GM Service Manual Online
For 1990-2009 cars only

Steering Wheel Inflatable Restraint Module Coil Replacement Coil and Harness Assembly

Tools Required

J 42640 Steering Column Anti Rotation Pin

Removal Procedure

    Caution: Refer to SIR Caution in the Preface section.


    Object Number: 294367  Size: SH
  1. Disable the SIR System. Refer to SIR Disabling and Enabling .
  2. Notice: The wheels of the vehicle must be straight ahead and the steering column in the LOCK position before disconnecting the steering column or intermediate shaft from the steering gear. Failure to do so will cause the SIR coil assembly to become uncentered, which may cause damage to the coil assembly.

  3. Verify the following before removing the SIR coil:
  4. • The wheels on the vehicle are straight ahead.
    • That J 42640 is installed or the ignition switch is in the LOCK position.
  5. Remove the steering wheel from the steering shaft. Refer to Steering Wheel Replacement in Steering Wheel and Column.

  6. Object Number: 82174  Size: SH
  7. On vehicles with a tilt column, pull the tilt lever straight out from the steering column.

  8. Object Number: 283270  Size: SH
  9. Remove 2 TORX® head screws (1) from the lower trim cover (2).
  10. Remove the lower trim cover (2).

  11. Object Number: 283271  Size: SH
  12. Remove 2 TORX® head screws (2) from the upper trim cover (1).
  13. Remove the upper trim cover (1).

  14. Object Number: 1561386  Size: SH
  15. Remove the wire harness straps from the steering wheel column wire harness.
  16. Remove the retaining ring.

  17. Object Number: 1561385  Size: SH
  18. Disconnect the wire harness assembly from the base of the column.
  19. Remove the SIR coil and wire harness assembly from the steering shaft.
  20. If replacing, discard the SIR coil.

Installation Procedure


    Object Number: 293254  Size: SH

    Notice: The new SIR coil assembly will be centered. Improper alignment of the SIR coil assembly may damage the unit, causing an inflatable restraint malfunction.

    Notice: The wheels of the vehicle must be straight ahead and the steering column in the LOCK position before disconnecting the steering column or intermediate shaft from the steering gear. Failure to do so will cause the SIR coil assembly to become uncentered, which may cause damage to the coil assembly.

  1. Verify the following:
  2. • The wheels on the vehicle are straight ahead.
    • ThatJ 42640 is installed or the ignition switch is in the LOCK position.

    Object Number: 396373  Size: SH

    Important: Do not remove the centering tab from the new SIR coil until the installation is complete. If the SIR coil does not come with a centering tab, you MUST center the SIR coil.

  3. If reusing the existing coil it MUST be centered, refer to Inflatable Restraint Steering Wheel Module Coil Centering in Steering Wheel and Column.

  4. Object Number: 1561385  Size: SH
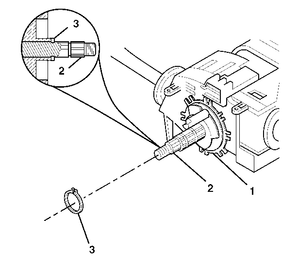
  5. Align the SIR coil assembly (1) with the horn tower on the turn signal cancel cam assembly and install onto the steering shaft.

  6. Object Number: 1561384  Size: SH
  7. Firmly seat the retaining ring (3) into the groove on the steering shaft assembly (2).
  8. Remove and discard the centering tab from the new SIR coil.
  9. Route the wire harness assembly around the column and install the wire harness straps.
  10. Connect the connectors of the wire harness assembly.
  11. Notice: Refer to Fastener Notice in the Preface section.


    Object Number: 283271  Size: SH
  12. Install the upper trim cover (1) and secure by using 2 TORX® head screws (2).
  13. Tighten
    Tighten the screws to 1.5 N·m (13 lb in).


    Object Number: 283270  Size: SH
  14. Install the lower trim cover (2) and secure by using 2 TORX® head screws (1).

  15. Object Number: 283273  Size: SH
  16. Verify that the tabs on the lower trim cover (1) engage with the tabs on the upper trim cover (2). Snap the tabs together.
  17. Tighten
    Tighten the screws to 1.5 N·m (13 lb in).


    Object Number: 82174  Size: SH
  18. On vehicles with a tilt column, align the tilt lever into the steering column.
  19. Slide the tilt lever handle into the steering column until the handle locks into position.

  20. Object Number: 294367  Size: SH
  21. Install the steering wheel onto the steering shaft. Refer to Steering Wheel Replacement in Steering Wheel and Column.
  22. Enable the SIR system. Refer to SIR Disabling and Enabling .