GM Service Manual Online
For 1990-2009 cars only
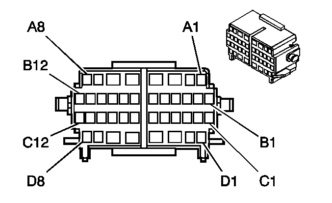
Table 1: C100 I/P Harness to Engine Harness
Table 2: C102 I/P Harness to Chassis Harness (w/o NYS or JL4)
Table 3: C102 Chassis Harness to I/P Harness (w/NYS or JL4)
Table 4: C103 I/P Harness to Forward Lamp Harness (VD1)
Table 5: C104 I/P Harness to Forward Lamp Harness
Table 6: C116 Engine Harness to Knock Sensor Jumper (Except L18)
Table 7: C117 Battery Negative to Accessory Jumper (9L4)
Table 8: C119 Accessory Jumper to Brake/Clutch Harness (9L4)
Table 9: C125 Snowplow Harness to Forward Lamp Harness (VYU)
Table 10: C127 Snowplow Harness to Forward Lamp Harness (VYU)
Table 11: C148 Engine Harness to Coil Jumper Harness
Table 12: C149 Engine Harness to Coil Jumper Harness
Table 13: C150 4-Wheel Drive Harness to 4-Wheel Drive Jumper Harness (NP8)
Table 14: C151 I/P Harness to ATC Harness (w/NP8)
Table 15: C152 Chassis Harness to Engine Harness
Table 16: C153 4-Wheel Drive Harness to Engine Harness (NP8)
Table 17: C154 I/P Harness to ATC Harness (NP8)
Table 18: C155 Engine Harness to Injector Jumper Harness (8.1L Only)
Table 19: C180 Engine Harness to Forward Lamp Harness (1500 Series)
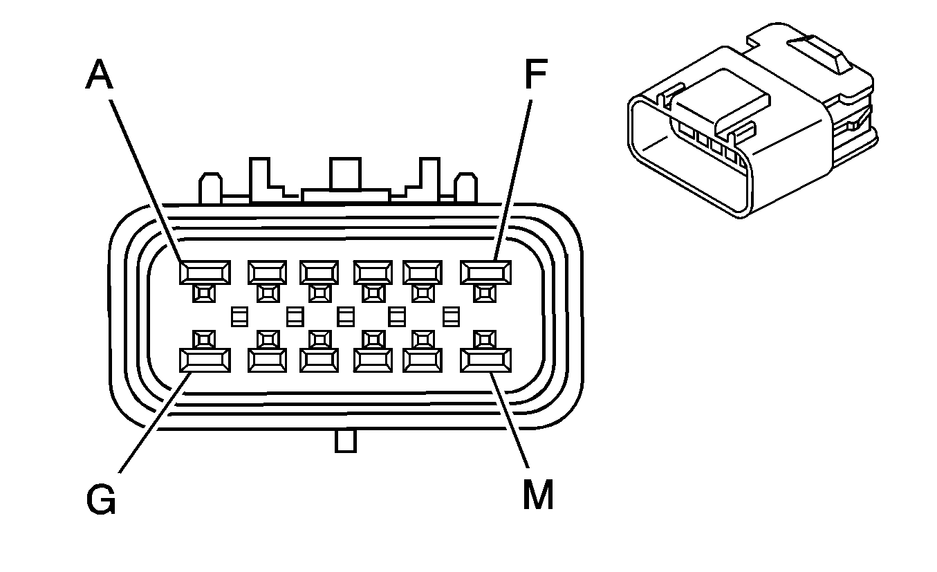
Table 20: C198 I/P Harness to Chassis Harness
Table 21: C201 Steering Column Harness to I/P Harness
Table 22: C202 Brake/Clutch Harness to I/P Harness (w/o JF4)
Table 23: C202 Brake/Clutch Harness to I/P Harness (w/JF4)
Table 24: C203 I/P Harness to Left Front Door Harness (w/JF4)
Table 25: C206 I/P Harness to Body Harness
Table 26: C209 I/P Harness to Body Harness
Table 27: C210 Brake/Clutch Harness to Roof Beacon Harness (w/5G4)
Table 28: C214 I/P Harness to Headliner Harness (w/UE1 w/U42)
Table 29: C214 I/P Harness to Headliner Harness (w/UE1 w/o U42)
Table 30: C216 Brake/Clutch Harness to Fuse Block Jumper (9L4)
Table 31: C220 I/P Harness to Infotainment Jumper Harness (UQ7 w/o Y91)
Table 32: C221 I/P Harness to Body Harness
Table 33: C222 I/P Harness to Body Harness
Table 34: C230 I/P Harness to A-Pillar Harness (UE1)
Table 35: C231 Radio Antenna Harness to I/P Harness (Z75 Except EXT)
Table 36: C249 I/P Harness to Infotainment Harness (UQ7 w/oY91) or Console Jumper (UQ3)
Table 37: C250 Brake/Clutch Harness to Brake Clutch Jumper Harness (w/5G4)
Table 38: C275 Steering Column Harness to Steering Wheel Module Coil
Table 39: C277 Steering Wheel Module Coil to Steering Wheel Harness
Table 40: C305 Body Harness to Drivers Seat Harness
Table 41: C306 Infotainment Jumper Harness (w/o Y91) or I/P Harness (w/Y91) to Console Harness
Table 42: C310 Body Harness to Left Rear Door Harness
Table 43: C312 Headliner Harness to Rear Blower Harness (CJ3)
Table 44: C313 LF Door Harness to Body Harness (w/AJ7)
Table 45: C315 RF Door Harness to Body Harness (w/AJ7)
Table 46: C320 Seat Jumper Harness to Seat Harness (AN3)
Table 47: C321 Seat Jumper Harness to Seat Harness (AN3)
Table 48: C322 Seat Motor Jumper Harness to Seat Jumper Harness (AN3)
Table 49: C323 Seat Motor Jumper Harness to Seat Jumper Harness (AN3)
Table 50: C324 Lumbar Bolster Harness to Seat Harness (AN3)
Table 51: C325 Heated Seat Jumper Harness to Seat Jumper Harness (AN3)
Table 52: C326 Heated Seat Jumper Harness to Passenger Seat Harness (AN3)
Table 53: C327 Body Harness to Left Rear Seat Harness (w/KA6)
Table 54: C328 Heated Seat Element Harness to Left Rear Seat Harness (w/KA6)
Table 55: C329 Lumbar Bolster Harness to Passenger Seat Harness (AN3)
Table 56: C350 Engine Harness to 4 Wheel Drive Harness (NP8)
Table 57: C370 Body Harness to Console Harness (w/Y91)
Table 58: C386 Body Harness to Right Rear Seat Harness (w/KA6)
Table 59: C388 Seat Motor Jumper Harness to Passenger Seat Harness (AN3)
Table 60: C389 Heated Seat Element Harness to Right Rear Seat Harness (w/KA6)
Table 61: C390 CHMSL/Cargo Harness to Body Harness (Avalanche/Escalade EXT)
Table 62: C396 Body Harness to Right Rear Door Harness
Table 63: C397 Aux. Blower Harness to Body Harness
Table 64: C399 Body Harness to Passenger Seat Harness
Table 65: C402 LH Tail Lamp Harness to Chassis Harness
Table 66: C403 Chassis Harness to License Plate Harness (NYS)
Table 67: C404 License Lamp Harness to Right Clearance Lamp Harness (NYS)
Table 68: C405 Chassis Harness to Left Clearance Lamp Harness (NYS)
Table 69: C406 License Lamp Harness to Body Harness (Z75)
Table 70: C410 Right Rear Lamp Harness to Chassis Harness (VD1)
Table 71: C411 Left Rear Lamp Harness to Chassis Harness (VD1)
Table 72: C450 Chassis Harness to Body Harness (Z55)
Table 73: C499 Body Harness to Endgate Extension Harness (Except Avalanche/Escalade EXT)
Table 74: C900 Endgate Harness to Endgate Extension Harness (Except Avalanche/Escalade EXT)
Table 75: C901 Endgate Extension Harness to Endgate (Except Avalanche/Escalade EXT)

C100 I/P Harness to Engine Harness


Object Number: 655811  Size: CH

Object Number: 655813  Size: CH

Connector Part Information

    • 15326084
    • 16-Way F GT 150 280 Series Sealed 4.0 5.8 (BK)

Connector Part Information

    • 15326085
    • 16-Way M GT 150 280 Series Sealed 4.0 5.8 (BK)

Pin

Wire Color

Circuit No.

Function

Pin

Wire Color

Circuit No.

Function

A

D-BU

84

Cruise Control Set/Coast Switch Signal (w/K34)

A

D-BU

84

Cruise Control Set/Coast Switch Signal (w/K34)

B-C

--

--

Not Used

B-C

--

--

Not Used

D

D-GN/WH

817

Vehicle Speed Signal

D

D-GN/WH

817

Vehicle Speed Signal

E

OG/BK

6752

Class 2 Serial Data (1500 Series)

E

OG/BK

6752

Class 2 Serial Data (1500 Series)

F

PK/WH

1101

Damping Lift/Dive Signal

F

PK/WH

1101

Damping Lift/Dive Signal

G

BN/WH

419

MIL Control

G

BN/WH

419

MIL Control

H

D-GN

1049

PCM Class 2 Serial Data

H

D-GN

1049

PCM Class 2 Serial Data

J

--

--

Not Used

J

--

--

Not Used

K

WH

121

Engine Speed Signal

K

WH

121

Engine Speed Signal

L

GY

397

Cruise Control ON Switch Signal

L

GY

397

Cruise Control ON Switch Signal

M

--

--

Not Used

M

--

--

Not Used

N

BN

241

Ignition 3 Voltage (w/NP8)

N

BN

241

Ignition 3 Voltage (w/NP8)

P

D-BU

204

A/C Low Pressure Sensor Signal

P

D-BU

204

A/C Low Pressure Sensor Signal

R

--

--

Not Used

R

--

--

Not Used

S

GY/BK

87

Cruise Control Resume/Accel Switch Signal

S

GY/BK

87

Cruise Control Resume/Accel Switch Signal

C102 I/P Harness to Chassis Harness (w/o NYS or JL4)


Object Number: 632344  Size: CH

Object Number: 632342  Size: CH

Connector Part Information

    • 15326842
    • 10-Way F Metri-Pack 150 Series Sealed (BK)

Connector Part Information

    • 15326847
    • 10-Way M Metri-Pack 150 Series Sealed (BK)

Pin

Wire Color

Circuit No.

Function

Pin

Wire Color

Circuit No.

Function

A

D-GN

1619

Trailer Right Rear Turn/Stop Lamp Supply Voltage

A

D-GN

1619

Trailer Right Rear Turn/Stop Lamp Supply Voltage

B

L-GN

24

Backup Lamp Supply Voltage

B

L-GN

24

Backup Lamp Supply Voltage

C

L-BU

1122

ABS/TCS Class 2 Serial Data

C

L-BU

1122

ABS/TCS Class 2 Serial Data

D

BN

441

Ignition 3 Voltage

D

BN

441

Ignition 3 Voltage

E

PK

139

Ignition 1 Voltage

E

PK

139

Ignition 1 Voltage

F

TN/WH

1384

Selective Ride Control Switch Signal

F

--

--

Not Used

G

RD

122

Rear Fog Lamp Supply Voltage (VD1)

G

RD

122

Rear Fog Lamp Supply Voltage (VD1)

H

YE

1618

Trailer Left Rear Turn/Stop Lamp Supply Voltage

H

YE

1618

Trailer Left Rear Turn/Stop Lamp Supply Voltage

J-K

--

--

Not Used

J-K

--

--

Not Used

C102 Chassis Harness to I/P Harness (w/NYS or JL4)


Object Number: 872523  Size: CH

Object Number: 873042  Size: CH

Connector Part Information

    • 15441988
    • 38-Way F GT 150/280 Series (Mixed) (BK)

Connector Part Information

    • 15317380
    • 38-Way M GT 150/280 Series (Mixed) (BK)

Pin

Wire Color

Circuit No.

Function

Pin

Wire Color

Circuit No.

Function

A1

D-BU

2544

Rear Wheel Steer Mode Select Switch 5-Volt Reference (NYS)

A1

D-BU

2544

Rear Wheel Steer Mode Select Switch 5-Volt Reference (NYS)

A2

--

--

Not Used

A2

--

--

Not Used

A3

OG

2538

4-Wheel Steer Trailer Mode Indicator Supply Voltage (NYS)

A3

OG

2538

4-Wheel Steer Trailer Mode Indicator Supply Voltage (NYS)

A4

L-BU

2568

2-Wheel Steer Mode Indicator Control (NYS)

A4

L-BU

2568

2-Wheel Steer Mode Indicator Control (NYS)

A5

TN

2569

4-Wheel Steer Mode Indicator Control (NYS)

A5

TN

2569

4-Wheel Steer Mode Indicator Control (NYS)

A6

D-GN/WH

817

Vehicle Speed Signal (NYS)

A6

D-GN/WH

817

Vehicle Speed Signal (NYS)

A7

D-GN

2567

Rear Wheel Steering Module Class 2 Serial Data (NYS)

A7

D-GN

2567

Rear Wheel Steering Module Class 2 Serial Data (NYS)

A8

D-GN/WH

2891

Rear Wheel Steering Mode Select Switch Signal (NYS)

A8

D-GN/WH

2891

Rear Wheel Steering Mode Select Switch Signal (NYS)

B1

D-GN

2087

Steering Wheel Position Sensor 5V Reference (JL4)

B1

D-GN

2087

Steering Wheel Position Sensor 5V Reference (JL4)

B2

L-GN

1763

Steering Wheel Position Signal A

B2

L-GN

1763

Steering Wheel Position Signal A

B3

L-BU

1764

Steering Wheel Position Signal B

B3

L-BU

1764

Steering Wheel Position Signal B

B4

WH

1765

Steering Wheel Position Marker Pulse Signal (NYS)

B4

WH

1765

Steering Wheel Position Marker Pulse Signal (NYS)

B4

YE

5353

Yaw rate frequency (JL4)

B4

YE

5353

Yaw rate frequency (JL4)

B5

L-BU

2088

Steering Wheel Position Sensor Low Reference (JL4)

B5

L-BU

2088

Steering Wheel Position Sensor Low Reference (JL4)

B6

L-BU

715

Lateral Accelerometer Signal (JL4)

B6

L-BU

715

Lateral Accelerometer Signal (JL4)

B7

D-BU

716

Yaw Rate Sensor Signal (JL4)

B7

D-BU

716

Yaw Rate Sensor Signal (JL4)

B8

BN

541

Ignition 3 Voltage (NYS)

B8

BN

541

Ignition 3 Voltage (NYS)

B9-B12

--

--

Not Used

B9-B12

--

--

Not Used

C1-C2

--

--

Not Used

C1-C2

--

--

Not Used

C3

D-GN

1619

Trailer Right Rear Turn/Stop Lamp Supply Voltage

C3

D-GN

1619

Trailer Right Rear Turn/Stop Lamp Supply Voltage

C4

L-GN

24

Backup Lamp Supply Voltage

C4

L-GN

24

Backup Lamp Supply Voltage

C5

L-BU

1122

ABS/TCS Class 2 Serial Data

C5

L-BU

1122

ABS/TCS Class 2 Serial Data

C6

BN

441

Ignition 3 Voltage

C6

BN

441

Ignition 3 Voltage

C7

TN

1384

Selective Ride Control Switch Signal

C7

TN

1384

Selective Ride Control Switch Signal

C8

--

--

Not Used

C8

--

--

Not Used

C9

YE

1618

Trailer Left Rear Turn/Stop Lamp Supply Voltage

C9

YE

1618

Trailer Left Rear Turn/Stop Lamp Supply Voltage

C10

--

--

Not Used

C10

--

--

Not Used

C11

L-BU

2206

Traction Control Preference Switch Signal (JL4)

C11

L-BU

2206

Traction Control Preference Switch Signal (JL4)

C12

--

--

Not Used

C12

--

--

Not Used

D1

PK

139

Ignition 1 Voltage

D1

PK

139

Ignition 1 Voltage

D2-D3

--

--

Not Used

D2-D3

--

--

Not Used

D4-D5

--

--

Not Available

D4-D5

--

--

Not Available

D6-D8

--

--

Not Used

D6-D8

--

--

Not Used

C103 I/P Harness to Forward Lamp Harness (VD1)


Object Number: 697039  Size: CH

Object Number: 333040  Size: CH

Connector Part Information

    • 12052848
    • 6-Way F Metri-Pack 150 Series Sealed (BK)

Connector Part Information

    • 12124107
    • 6-Way M Metri-Pack 150 Series Sealed (BK)

Pin

Wire Color

Circuit No.

Function

Pin

Wire Color

Circuit No.

Function

A

--

--

Not Used

A

--

--

Not Used

B

BK

150

Ground

B

BK

150

Ground

C

D-GN

189

Headlamp Leveling Motor Supply Voltage

C

D-GN

189

Headlamp Leveling Motor Supply Voltage

D

--

--

Not Used

D

--

--

Not Used

E

PK

639

Ignition 1 Voltage

E

PK

639

Ignition 1 Voltage

F

PK

639

Ignition 1 Voltage

F

PK

639

Ignition 1 Voltage

C104 I/P Harness to Forward Lamp Harness


Object Number: 831372  Size: CH

Object Number: 831369  Size: CH

Connector Part Information

    • 15326849
    • 12-Way F GT 150 Series Sealed 4.0 (BK)

Connector Part Information

    • 12052189
    • 12-Way M GT 150 Series Sealed 4.0 (BK)

Pin

Wire Color

Circuit No.

Function

Pin

Wire Color

Circuit No.

Function

A

GY

349

Discriminating Sensor - Left - Signal

A

GY

349

Discriminating Sensor - Left - Signal

B

YE

354

Discriminating Sensor - Left - Low Reference

B

YE

354

Discriminating Sensor - Left - Low Reference

C

YE

1834

Forward Discriminating Sensor - Right - Signal

C

YE

1834

Forward Discriminating Sensor - Right - Signal

D

D-GN

1409

Discriminating Sensor - Right - Low Reference

D

D-GN

1409

Discriminating Sensor - Right - Low Reference

E

--

--

Not Used

E

--

--

Not Used

F

BK/WH

174

Low Washer Fluid Indicator Signal

F

BK/WH

174

Low Washer Fluid Indicator Signal

G

D-GN/WH

636

Ambient Air Temperature Sensor Signal

G

D-GN/WH

636

Ambient Air Temperature Sensor Signal

H

BK/WH

1704

Low Reference

H

BK/WH

1704

Low Reference

J

L-GN/BK

735

Ambient Air Temperature Sensor Signal (CJ2)

J

L-GN/BK

735

Ambient Air Temperature Sensor Signal (CJ2)

K

BN

718

Low Reference (CJ2)

K

BN

718

Low Reference (CJ2)

L

D-GN/WH

266

Rear Window Washer Pump Supply Voltage (C25)

L

D-GN/WH

266

Rear Window Washer Pump Supply Voltage (C25)

M

--

--

Not Used

M

--

--

Not Used

C116 Engine Harness to Knock Sensor Jumper (Except L18)


Object Number: 635009  Size: CH

Object Number: 605500  Size: CH

Connector Part Information

    • 12052641
    • 2-Way F Metri-Pack 150 Series Sealed (BK)

Connector Part Information

    • 12052647
    • 2-Way M Metri-Pack 150 Series Sealed (BK)

Pin

Wire Color

Circuit No.

Function

Pin

Wire Color

Circuit No.

Function

A

D-BU

496

Knock Sensor 1 Signal

A

D-BU

496

Knock Sensor 1 Signal

B

L-BU

1876

Knock Sensor 2 Signal

B

L-BU

1876

Knock Sensor 2 Signal

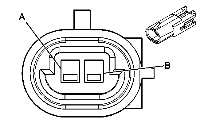
C117 Battery Negative to Accessory Jumper (9L4)


Object Number: 684792  Size: CH

Object Number: 655682  Size: CH

Connector Part Information

    • 12124388
    • 1-Way F Metri-Pack 480 Series Sealed (GY)

Connector Part Information

    • 12065863
    • 1-Way M Metri-Pack 480 Series Sealed (BK)

Pin

Wire Color

Circuit No.

Function

Pin

Wire Color

Circuit No.

Function

A

BK

50

Ground

A

BK

50

Ground

B

--

--

Not Available

B

--

--

Not Available

C119 Accessory Jumper to Brake/Clutch Harness (9L4)


Object Number: 684792  Size: CH

Object Number: 655682  Size: CH

Connector Part Information

    • 12055613
    • 2-Way F Metri-Pack 480 Series Sealed (BK)

Connector Part Information

    • 12065863
    • 2-Way M Metri-Pack 480 Series Sealed (BK)

Pin

Wire Color

Circuit No.

Function

Pin

Wire Color

Circuit No.

Function

A

BK

50

Ground

A

BK

50

Ground

B

RD

2

Battery Positive Voltage

B

RD

2

Battery Positive Voltage

C125 Snowplow Harness to Forward Lamp Harness (VYU)


Object Number: 684790  Size: CH

Object Number: 365940  Size: CH

Connector Part Information

    • 12047938
    • 8-Way F Metri-Pack 150 Series Sealed (L-GY)

Connector Part Information

    • 12047933
    • 8-Way M Metri-Pack 150 Series Sealed (L-GY)

Pin

Wire Color

Circuit No.

Function

Pin

Wire Color

Circuit No.

Function

A

BN

2309

Front Park Lamps Supply Voltage

A

BN

2309

Front Park Lamps Supply Voltage

B

BN

2309

Front Park Lamps Supply Voltage

B

BN

2309

Front Park Lamps Supply Voltage

C

L-BU

2114

Left Turn Signal Lamps Supply Voltage

C

L-BU

2114

Left Turn Signal Lamps Supply Voltage

E

L-BU

2114

Left Turn Signal Lamps Supply Voltage

E

L-BU

2114

Left Turn Signal Lamps Supply Voltage

F

BK

150

Ground

F

BK

150

Ground

G

D-BU

545

DRL Supply Voltage

G

D-BU

545

DRL Supply Voltage

H

BK

150

Ground

H

BK

150

Ground

C127 Snowplow Harness to Forward Lamp Harness (VYU)


Object Number: 684790  Size: CH

Object Number: 365940  Size: CH

Connector Part Information

    • 12047938
    • 8-Way F Metri-Pack 150 Series Sealed (L-GY)

Connector Part Information

    • 12047933
    • 8-Way M Metri-Pack 150 Series Sealed (L-GY)

Pin

Wire Color

Circuit No.

Function

Pin

Wire Color

Circuit No.

Function

A

BN

2309

Front Park Lamps Supply Voltage

A

BN

2309

Front Park Lamps Supply Voltage

B

BN

2309

Front Park Lamps Supply Voltage

B

BN

2309

Front Park Lamps Supply Voltage

C

D-BU

2115

Right Turn Signal Lamps Supply Voltage

C

D-BU

2115

Right Turn Signal Lamps Supply Voltage

E

D-BU

2115

Right Turn Signal Lamps Supply Voltage

E

D-BU

2115

Right Turn Signal Lamps Supply Voltage

F

BK

150

Ground

F

BK

150

Ground

G

D-BU

545

DRL Supply Voltage

G

D-BU

545

DRL Supply Voltage

H

BK

150

Ground

H

BK

150

Ground

C148 Engine Harness to Coil Jumper Harness


Object Number: 684790  Size: CH

Object Number: 365940  Size: CH

Connector Part Information

    • 12047938
    • 7-Way F Metri-Pack 150 Series (L-GY)

Connector Part Information

    • 12047933
    • 7-Way M Metri-Pack 150 Series (L-GY)

Pin

Wire Color

Circuit No.

Function

Pin

Wire Color

Circuit No.

Function

A

BK

550

Ground

A

BK

550

Ground

B

RD

2127

IC 7 Control

B

RD

2127

IC 7 Control

C

D-GN

2125

IC 5 Control

C

D-GN

2125

IC 5 Control

D

--

--

Not Available

D

--

--

Not Available

E

BN

2129

Low Reference

E

BN

2129

Low Reference

F

L-BU

2123

IC 3 Control

F

L-BU

2123

IC 3 Control

G

PU

2121

IC 1 Control

G

PU

2121

IC 1 Control

H

PK

1039

Ignition 1 Voltage

H

PK

1039

Ignition 1 Voltage

C149 Engine Harness to Coil Jumper Harness


Object Number: 684790  Size: CH

Object Number: 365940  Size: CH

Connector Part Information

    • 12047938
    • 7-Way F Metri-Pack 150 Series (L-GY)

Connector Part Information

    • 12047933
    • 7-Way M Metri-Pack 150 Series (L-GY)

Pin

Wire Color

Circuit No.

Function

Pin

Wire Color

Circuit No.

Function

A

BK

550

Ground

A

BK

550

Ground

B

RD/WH

2122

IC 2 Control

B

RD

2122

IC 2 Control

C

D-GN/WH

2124

IC 4 Control

C

D-GN

2124

IC 4 Control

D

--

--

Not Available

D

--

--

Not Available

E

BN/WH

2130

Low Reference

E

BN

2130

Low Reference

F

L-BU/WH

2126

IC 6 Control

F

L-BU

2126

IC 6 Control

G

PU/WH

2128

IC 8 Control

G

PU

2128

IC 8 Control

H

PK

1239

Ignition 1 Voltage

H

PK

1239

Ignition 1 Voltage

C150 4-Wheel Drive Harness to 4-Wheel Drive Jumper Harness (NP8)


Object Number: 684854  Size: CH

Object Number: 396241  Size: CH

Connector Part Information

    • 12162144
    • 4-Way F Metri-Pack 150 Series Sealed (BK)

Connector Part Information

    • 12162102
    • 4-Way M Metri-Pack 150 Series Sealed (BK)

Pin

Wire Color

Circuit No.

Function

Pin

Wire Color

Circuit No.

Function

A

BK/WH

1695

Axle Switch Signal

A

BK/WH

1695

Axle Switch Signal

B

L-BU

1296

Axle Actuator - Control

B

L-BU

1296

Axle Actuator - Control

C

BN

241

Ignition 3 Voltage

C

BN

241

Ignition 3 Voltage

D

BK

2150

Ground

D

BK

2150

Ground

C151 I/P Harness to ATC Harness (w/NP8)


Object Number: 831375  Size: CH

Object Number: 1394019  Size: CH

Connector Part Information

    • 15326939
    • 12-Way F GT 150 280 Series, Sealed (BK)

Connector Part Information

    • 15336033
    • 12-Way M GT 150 280 Series, Sealed (BK)

Pin

Wire Color

Circuit No.

Function

Pin

Wire Color

Circuit No.

Function

A

BK

2150

Ground

A

BK

2150

Ground

B

BK/WH

1695

Axle Switch Signal (NP8)

B

BK/WH

1695

Axle Switch Signal (NP8)

C

L-BU

1296

Axle Actuator Control

C

L-BU

1296

Axle Actuator Control

D

GY/BK

1694

4WD Low Signal

D

GY/BK

1694

4WD Low Signal

E

BN/WH

1555

Encoder Signal

E

BN/WH

1555

Encoder Signal

F

BK

1552

Motor Control B

F

BK

1552

Motor Control B

G

RD

1553

Motor Control A

G

RD

1553

Motor Control A

H

YE

400

Signal High - Front (NP8)

H

YE

400

Signal High - Front (NP8)

J

PU

401

Signal Low - Front

J

PU

401

Signal Low - Front

K

L-BU

2221

Signal High - Rear

K

L-BU

2221

Signal High - Rear

L

D-GN

2222

Signal Low - Rear

L

D-GN

2222

Signal Low - Rear

M

OG

1640

Battery Positive Voltage

M

OG

1640

Battery Positive Voltage

D-BU/WH

1557

Channel A Encoder - Signal

D-BU/WH

1557

Channel A Encoder - Signal

C152 Chassis Harness to Engine Harness


Object Number: 831370  Size: CH

Object Number: 831371  Size: CH

Connector Part Information

    • 15373533
    • 12-Way F GT Mixed (NA)

Connector Part Information

    • 15373547
    • 12-Way M GT Mixed (NA)

Pin

Wire Color

Circuit No.

Function

Pin

Wire Color

Circuit No.

Function

A

--

--

Not Used

A

--

--

Not Used

B

TN

1465

Fuel Pump Relay Control - Secondary - Dual Fuel Tanks

B

TN

1465

Fuel Pump Relay Control - Secondary - Dual Fuel Tanks

C

GY

474

5-Volt Reference

C

GY

474

5-Volt Reference

D

D-GN

890

Fuel Tank Pressure Sensor Signal (w/EVA)

D

D-GN

890

Fuel Tank Pressure Sensor Signal (w/EVA)

E

YE/BK

1827

Vehicle Speed Signal

E

YE/BK

1827

Vehicle Speed Signal

F

WH

1310

EVAP Canister Vent Solenoid Control (w/EVA)

F

WH

1310

EVAP Canister Vent Solenoid Control (w/EVA)

G

--

--

Not Used

G

--

--

Not Used

H

D-BU

1936

Fuel Level Sensor Signal - Secondary - Dual Fuel Tanks

H

D-BU

1936

Fuel Level Sensor Signal - Secondary - Dual Fuel Tanks

J

BK

470

Low Reference

J

BK

470

Low Reference

K

PU

1589

Fuel Level Sensor Signal - Primary

K

PU

1589

Fuel Level Sensor Signal - Primary

L

TN/BK

464

Delivered Torque Signal

L

TN/BK

464

Delivered Torque Signal

M

OG/BK

463

Requested Torque Signal

M

OG/BK

463

Requested Torque Signal

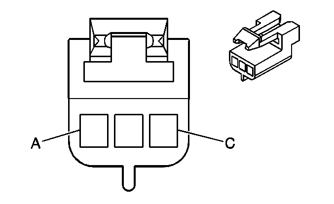
C153 4-Wheel Drive Harness to Engine Harness (NP8)


Object Number: 684807  Size: CH

Object Number: 655690  Size: CH

Connector Part Information

    • 12110293
    • 3-Way F Metri-Pack 150 Series Sealed (BK)

Connector Part Information

    • 12129615
    • 3-Way M Metri-Pack 150 Series Sealed (BK)

Pin

Wire Color

Circuit No.

Function

Pin

Wire Color

Circuit No.

Function

A

GY/BK

1694

4WD Low Signal

A

GY/BK

1694

4WD Low Signal

B

--

--

Not Used

B

BK/WH

1695

Axle Switch Signal

C

BN

241

Ignition 3 Voltage

C

BN

241

Ignition 3 Voltage

C154 I/P Harness to ATC Harness (NP8)


Object Number: 847206  Size: CH

Object Number: 887079  Size: CH

Connector Part Information

    • 12040977
    • 3-Way F Metri-Pack 280 Series Sealed (BK)

Connector Part Information

    • 15300003
    • 3-Way M Metri-Pack 280 Series Sealed (BK)

Pin

Wire Color

Circuit No.

Function

Pin

Wire Color

Circuit No.

Function

A

L-GN/BK

431

5-Volt Reference

A

L-GN/BK

431

5-Volt Reference

B

TN

1569

Lock Solenoid Control

B

TN

1569

Lock Solenoid Control

C

BK/WH

1554

Encoder Low Reference

C

BK/WH

1554

Encoder Low Reference

C155 Engine Harness to Injector Jumper Harness (8.1L Only)


Object Number: 570216  Size: CH

Object Number: 258921  Size: CH

Connector Part Information

    • 12065425
    • 10-Way F 150 Series (BK)

Connector Part Information

    • 12045808
    • 10-Way M 150 Series (BK)

Pin

Wire Color

Circuit No.

Function

Pin

Wire Color

Circuit No.

Function

A

BK

1744

Fuel Injector 1 Control

A

BK

1744

Fuel Injector 1 Control

B

D-BU/WH

878

Fuel Injector 8 Control

B

D-BU/WH

878

Fuel Injector 8 Control

C

L-BU/BK

844

Fuel Injector 4 Control

C

L-BU/BK

844

Fuel Injector 4 Control

D

PK/BK

1746

Fuel Injector 3 Control

D

PK/BK

1746

Fuel Injector 3 Control

E

YE/BK

846

Fuel Injector 6 Control

E

YE/BK

846

Fuel Injector 6 Control

F

BK/WH

845

Fuel Injector 5 Control

F

BK/WH

845

Fuel Injector 5 Control

G

RD/BK

877

Fuel Injector 7 Control

G

RD/BK

877

Fuel Injector 7 Control

H

L-GN/BK

1745

Fuel Injector 2 Control

H

L-GN/BK

1745

Fuel Injector 2 Control

J

PK

1039

Ignition 1 Voltage

J

PK

1039

Ignition 1 Voltage

K

PK

1239

Ignition 1 Voltage

K

PK

1239

Ignition 1 Voltage

C180 Engine Harness to Forward Lamp Harness (1500 Series)


Object Number: 523630  Size: CH

Object Number: 632349  Size: CH

Connector Part Information

    • 15326801
    • 2-Way F GT150 Series (BK)

Connector Part Information

    • 15326806
    • 2-Way M GT150 Series (BK)

Pin

Wire Color

Circuit No.

Function

Pin

Wire Color

Circuit No.

Function

A

D-BU

473

High Speed Cooling Fan Relay Control

A

D-BU

473

High Speed Cooling Fan Relay Control

B

D-GN

335

Low Speed Cooling Fan Relay Control

B

D-GN

335

Low Speed Cooling Fan Relay Control

C198 I/P Harness to Chassis Harness


Object Number: 696940  Size: CH

Object Number: 696937  Size: CH

Connector Part Information

    • 12065172
    • 1-Way F Metri-Pack 280 Series Sealed (BK)

Connector Part Information

    • 12065171
    • 1-Way M Metri-Pack 280 Series Sealed (BK)

Pin

Wire Color

Circuit No.

Function

Pin

Wire Color

Circuit No.

Function

A

D-BU

47

Trailer Auxiliary Supply Voltage

A

D-BU

47

Trailer Auxiliary Supply Voltage

C201 Steering Column Harness to I/P Harness


Object Number: 831641  Size: CH

Object Number: 831640  Size: CH

Connector Part Information

    • 15336852 and 15336853
    • 20-Way F GT 280 Series (BK) and 32-Way F GT 280 Series (BK)

Connector Part Information

    • 15336851
    • 52-Way M GT 150/280 Series (BK)

Pin

Wire Color

Circuit No.

Function

Pin

Wire Color

Circuit No.

Function

A1

--

--

Not Used

A1

--

--

Not Used

A2

PK

3

Ignition 1 Voltage

A2

PK

3

Ignition 1 Voltage

A3

L-GN

1763

Steering Wheel Position Signal A

A3

L-GN

1763

Steering Wheel Position Signal A

L-GN

1763

Steering Wheel Position Signal A (Z55)

A4

PU

1358

DIC Switch Signal

A4

D-GN/WH

1358

DIC Switch Signal

A5

BK

1851

Ground

A5

BK/WH

1851

Ground

A6

L-BU

1764

Steering Wheel Position Signal B

A6

L-BU

1764

Steering Wheel Position Signal B

L-BU

1764

Steering Wheel Position Signal B (Z55)

A7

WH

1765

Steering Wheel Position Marker Pulse Signal

A7

WH

1765

Steering Wheel Position Marker Pulse Signal

A8

PK

639

Ignition 1 Voltage

A8

PK

639

Ignition 1 Voltage

A9

--

--

Not Used

A9

--

--

Not Used

A10

RD

142

Battery Positive Voltage

A10

RD

142

Battery Positive Voltage

B1

GY/BK

87

Cruise Control Resume/Accel Switch Signal

B1

GY/BK

87

Cruise Control Resume/Accel Switch Signal

B2

YE

1327

DIC Fuel Signal

B2

YE

1327

DIC Fuel Signal

B3

BK/YE

28

Horn Relay Control

B3

BK

28

Horn Relay Control

B4

L-BU

1059

Steering Wheel Position Sensor Signal 1

B4

L-BU

1059

Steering Wheel Position Sensor Signal 1

B5

L-BU

553

Tow/Haul Switch Signal

B5

L-BU

553

Tow/Haul Switch Signal

B6

BN/WH

230

Instrument Panel Lamps Dimming Control

B6

BN/WH

230

Instrument Panel Lamps Dimming Control

B7

YE

143

Accessory Voltage

B7

YE

143

Accessory Voltage

B8

BK

1050

Ground

B8

BK

1050

Ground

B9

TN

1851

Ground

B9

BK/WH

1851

Ground

B10

D-BU

84

Cruise Control Set/Coast Switch Signal

B10

D-BU

84

Cruise Control Set/Coast Switch Signal

B11

--

--

Not Used

B11

--

--

Not Used

B12

PK

1796

Steering Wheel Controls Signal

B12

D-BU

1796

Steering Wheel Controls Signal

B13

OG/BK

1816

DIC Set/Reset Switch Signal

B13

OG

1816

DIC Set/Reset Switch Signal

B14

D-GN

1932

Ignition Lock Cylinder Control Actuator Signal

B14

D-GN/WH

1932

Ignition Lock Cylinder Control Actuator Signal

B15

PK

94

Windshield Washer Switch Signal

B15

PK

94

Windshield Washer Switch Signal

B16

YE/BK

307

Headlamp Switch Flash to Pass Signal

B16

YE

307

Headlamp Switch Flash to Pass Signal

B17

L-GN

11

Headlamp High Beam Supply Voltage

B17

L-GN

11

Headlamp High Beam Supply Voltage

B18

BN

41

Ignition 3 Voltage

B18

BN

41

Ignition 3 Voltage

B19-B22

--

--

Not Used

B19-B22

--

--

Not Used

B23

GY

1056

Steering Wheel Position Sensor 5-Volt Reference Voltage

B23

GY

1056

Steering Wheel Position Sensor 5-Volt Reference Voltage

B24

D-BU/WH

477

Windshield Wiper Switch High Signal

B24

D-BU

477

Windshield Wiper Switch High Signal

B25

L-GN

80

Key In Ignition Switch Signal

B25

L-GN

80

Key In Ignition Switch Signal

B26

D-BU

894

DIC Toggle Switch Signal

B26

D-BU

894

DIC Toggle Switch Signal

B27

BK

1835

Security System Sensor Low Reference

B27

BK

1835

Security System Sensor Low Reference

B28

YE

1836

Security System Sensor Signal

B28

YE

1836

Security System Sensor Signal

B29

RD/WH

812

12-Volt Reference

B29

RD/WH

812

12-Volt Reference

B30

D-GN/WH

1135

A/T Shift Lock Control Solenoid Supply Voltage

B30

D-GN/WH

1135

A/T Shift Lock Control Solenoid Supply Voltage

B31

L-GN

1011

Remote Radio Control Signal

B31

L-GN

1011

Remote Radio Control Signal

B32

GY/WH

397

Cruise Control On Switch Signal

B32

GY

397

Cruise Control On Switch Signal

C1

RD/WH

342

Battery Positive Voltage

C1

RD

342

Battery Positive Voltage

C2-C4

--

--

Not Used

C2-C6

--

--

Not Used

C5

OG

1140

Battery Positive Voltage (Export)

C5

OG

1140

Battery Positive Voltage (Export)

C6

PU

1807

Class 2 Serial Data (VD1)

C6

PU

1807

Class 2 Serial Data (VD1)

C7

PK

1020

Ignition 0 Voltage (VD1)

C7

PK

1020

Ignition 0 Voltage (VD1)

C8

--

--

Not Used

C8

--

--

Not Used

C9

YE

5

Crank Voltage

C9

YE

5

Crank Voltage

C10

--

--

Not Used

C10

--

--

Not Used

C202 Brake/Clutch Harness to I/P Harness (w/o JF4)


Object Number: 813080  Size: CH

Object Number: 813079  Size: CH

Connector Part Information

    • 15336209
    • 12-Way F GT Mixed (BK)

Connector Part Information

    • 15336205
    • 12-Way M GT Mixed (BK)

Pin

Wire Color

Circuit No.

Function

Pin

Wire Color

Circuit No.

Function

A

PU

420

TCC Brake Switch/Cruise Control Release Signal

A

PU

420

TCC Brake Switch/Cruise Control Release Signal

PU

420

TCC Brake Switch/Cruise Control Release Signal

B

D-GN

1433

Clutch Start Switch Signal

B

--

--

Not Used

C

PK

639

Ignition 1 Voltage

C

PK

639

Ignition 1 Voltage

D

D-GN/WH

1135

A/T Shift Lock Control Solenoid Supply Voltage

D

D-GN/WH

1135

A/T Shift Lock Control Solenoid Supply Voltage

E

L-GN/BK

584

A/T Shift Lock Control Switch Supply Voltage

E

L-GN/BK

584

A/T Shift Lock Control Switch Supply Voltage

F

BN

441

Ignition 3 Voltage

F

BN

441

Ignition 3 Voltage

G

OG

1540

Battery Positive Voltage

G

OG

1540

Battery Positive Voltage

H

WH

17

Stop Lamp Switch Signal

H

WH

17

Stop Lamp Switch Signal

J

L-BU

1134

Park Brake Switch Signal

J

L-BU

1134

Park Brake Switch Signal

K

--

--

Not Used

K

--

--

Not Used

L

PU

420

TCC Brake Switch/Cruise Control Release Signal

L

--

--

Not Used

M

--

--

Not Used

M

--

--

Not Used

C202 Brake/Clutch Harness to I/P Harness (w/JF4)


Object Number: 808699  Size: CH

Object Number: 655857  Size: CH

Connector Part Information

    • 15304692
    • 18-Way F Metri-Pack 150 280 Series (BK)

Connector Part Information

    • 15336468
    • 18-Way M Metri-Pack 150 280 Series (BK)

Pin

Wire Color

Circuit No.

Function

Pin

Wire Color

Circuit No.

Function

A1

BN/WH

5288

Adjustable Pedals Position Sensor Low Reference

A1

BN/WH

5288

Adjustable Pedals Position Sensor Low Reference

A2

WH

5287

Adjustable Pedals Position Sensor 5-Volt Reference

A2

WH

5287

Adjustable Pedals Position Sensor 5-Volt Reference

A3

L-BU

1134

Park Brake Switch Signal

A3

L-BU

1134

Park Brake Switch Signal

A4

YE

5129

Adjustable Pedals Relay Rearward Control

A4

YE

5129

Adjustable Pedals Relay Rearward Control

A5

OG

1540

Battery Positive Voltage

A5

OG

1540

Battery Positive Voltage

A6

WH

17

Stop Lamp Switch Signal

A6

WH

17

Stop Lamp Switch Signal

A7

L-GN/BK

584

A/T Shift Lock Control Switch Supply Voltage

A7

L-GN/BK

584

A/T Shift Lock Control Switch Supply Voltage

A8

--

--

Not Used

A8

--

--

Not Used

A9

D-GN/WH

1135

A/T Shift Lock Control Solenoid Supply Voltage

A9

D-GN/WH

1135

A/T Shift Lock Control Solenoid Supply Voltage

B1

PU

420

TCC Brake Switch/Cruise Control Release Signal

B1

--

--

Not Used

B2-B3

--

--

Not Used

B2-B3

--

--

Not Used

B4

BN

441

Ignition 3 Voltage

B4

BN

441

Ignition 3 Voltage

B5

PU

420

TCC Brake Switch/Cruise Control Release Signal

B5

PU

420

TCC Brake Switch/Cruise Control Release Signal

PU

420

TCC Brake Switch/Cruise Control Release Signal

B6

PU

5130

Adjustable Pedals Relay Forward Signal

B6

PU

5130

Adjustable Pedals Relay Forward Signal

B7

PK

5289

Adjustable Pedals Position Sensor Signal

B7

PK

5289

Adjustable Pedals Position Sensor Signal

B8

L-BU

5499

Adjustable Pedals Relay Control

B8

L-BU

5499

Adjustable Pedals Relay Control

B9

OG

3940

Battery Positive Voltage

B9

OG

3940

Battery Positive Voltage

C203 I/P Harness to Left Front Door Harness (w/JF4)


Object Number: 68737  Size: CH

Object Number: 130696  Size: CH

Connector Part Information

    • 12129489
    • 3-Way F Metri-Pack 280 Series (BK)

Connector Part Information

    • 12129490
    • 3-Way M Metri-Pack 280 Series (BK)

Pin

Wire Color

Circuit No.

Function

Pin

Wire Color

Circuit No.

Function

A

YE

5129

Adjustable Pedals Relay Rearward Control

A

YE

5129

Adjustable Pedals Relay Rearward Control

B

L-BU

5499

Adjustable Pedals Relay Control

B

L-BU

5499

Adjustable Pedals Relay Control

C

PU

5130

Adjustable Pedals Relay Forward Signal

C

PU

5130

Adjustable Pedals Relay Forward Signal

C206 I/P Harness to Body Harness


Object Number: 655774  Size: CH

Object Number: 655773  Size: CH

Connector Part Information

    • 15317325
    • 22-Way F Metri-Pack 150 280 Series (L-GY)

Connector Part Information

    • 15317322
    • 22-Way M Metri-Pack 150 280 Series (L-GY)

Pin

Wire Color

Circuit No.

Function

Pin

Wire Color

Circuit No.

Function

A1

--

--

Not Used

A1

--

--

Not Used

A2

YE

354

Discriminating Sensor - Signal

A2

YE

354

Discriminating Sensor - Signal

A3

GY

349

Discriminating Sensor - Left - Signal

A3

GY

349

Discriminating Sensor - Left - Signal

A4

L-BU

115

Right Rear Speaker Output (-) (Y91)

A4

L-BU

115

Right Rear Speaker Output (-) (Y91)

L-BU

115

Right Rear Speaker Output (-) (Y91)

A5

D-BU

46

Right Rear Speaker Output (+) (Y91)

A5

D-BU

46

Right Rear Speaker Output (+) (Y91)

D-BU

46

Right Rear Speaker Output (+) (Y91)

A6

OG

1740

Battery Positive Voltage

A6

OG

1740

Battery Positive Voltage

A7

YE

116

Left Rear Speaker Output (-) (Y91)

A7

YE

116

Left Rear Speaker Output (-) (Y91)

YE

116

Left Rear Speaker Output (-) (Y91)

A8

BN

199

Left Rear Speaker Output (+) (Y91)

A8

BN

199

Left Rear Speaker Output (+) (Y91)

BN

199

Left Rear Speaker Output (+) (Y91)

A9

YE

1834

Forward Discriminating Sensor Signal

A9

YE

1834

Forward Discriminating Sensor Signal

A10-A11

--

--

Not Used

A10-A11

--

--

Not Used

B1

D-GN

1409

Discriminating Sensor - Right - Signal

B1

D-GN

1409

Discriminating Sensor - Right - Signal

B2

WH

5287

Adjustable Pedals Position Sensor 5-Volt Reference (w/JF4 and AN3)

B2

WH

5287

Adjustable Pedals Position Sensor 5-Volt Reference (w/JF4 and AN3)

B3

BN/WH

5288

Adjustable Pedals Position Sensor Low Reference (w/JF4 and AN3)

B3

BN/WH

5288

Adjustable Pedals Position Sensor Low Reference (w/JF4 and AN3)

B4

PK

5289

Adjustable Pedals Position Sensor Signal (w/JF4 and AN3)

B4

PK

5289

Adjustable Pedals Position Sensor Signal (w/JF4 and AN3)

B5

D-BU/WH

2218

Serial Communications Circuit

B5

D-BU/WH

2218

Serial Communications Circuit

B6

D-GN

2087

Yaw Rate Sensor 5-Volt Reference (w/Z55)

B6

D-GN

2087

Yaw Rate Sensor 5-Volt Reference (w/Z55)

B7

D-BU

716

Yaw Rate Sensor Signal (w/Z55)

B7

D-BU

716

Yaw Rate Sensor Signal (w/Z55)

B8

L-BU

2088

Yaw Rate Sensor Low Reference (w/Z55)

B8

L-BU

2088

Yaw Rate Sensor Low Reference (w/Z55)

B9

L-BU

715

Lateral Accelerometer Signal (w/Z55)

B9

L-BU

715

Lateral Accelerometer Signal (w/Z55)

B10

--

--

Not Used

B10

--

--

Not Used

B11

YE

5353

Yaw Rate Frequency (w/Z55)

B11

YE

5353

Yaw Rate Frequency (w/Z55)

C209 I/P Harness to Body Harness


Object Number: 655767  Size: CH

Object Number: 655765  Size: CH

Connector Part Information

    • 15305133
    • 16-Way F GT 150 Series (BK)

Connector Part Information

    • 15305132
    • 16-Way M GT 150 Series (BK)

Pin

Wire Color

Circuit No.

Function

Pin

Wire Color

Circuit No.

Function

A

OG

3140

Battery Positive Voltage

A

OG

3140

Battery Positive Voltage (Except Avalanche and Escalade EXT)

A

OG

3140

Battery Positive Voltage (Except Avalanche and Escalade EXT)

B

GY

2555

Rear Parking Assist Disable Input (Z75)

B

GY

2555

Rear Parking Assist Disable Input (Z75)

C

D-BU/WH

149

Cargo Lamp Low Control (Avalanche/Escalade EXT)

C

D-BU/WH

149

Cargo Lamp Low Control (Avalanche/Escalade EXT)

D

L-GN

1763

Steering Wheel Position Signal A (Z55)

D

L-GN

1763

Steering Wheel Position Signal A (Z55)

E

L-BU

1764

Steering Wheel Position Signal B (Z55)

E

L-BU

1764

Steering Wheel Position Signal B (Z55)

F

WH

1765

Steering Wheel Position Marker Pulse Signal (Z55)

F

WH

1765

Steering Wheel Position Marker Pulse Signal (Z55)

G

BN

2409

Interior Park Lamps Supply Voltage (NYS)

G

BN

2409

Interior Park Lamps Supply Voltage (NYS)

H

L-GN

24

Backup Lamp Supply Voltage (w/Z75)

H

L-GN

24

Backup Lamp Supply Voltage (w/Z75)

J

OG

2040

Battery Positive Voltage (Except Avalanche/Escalade EXT)

J

OG

2040

Battery Positive Voltage (Except Avalanche/Escalade EXT)

K

PK/WH

1101

Damping Lift/Dive Signal (Z55)

K

PK/WH

1101

Damping Lift/Dive Signal (Z55)

L

WH

1304

Liftgate Lock Relay Control (Except Avalanche/Escalade EXT)

L

WH

1304

Liftgate Lock Relay Control (Except Avalanche/Escalade EXT)

M

--

--

Not Used

M

--

--

Not Used

N

GY

391

Rear Window Wiper Switch Signal (Except Avalanche/Escalade EXT)

N

GY

391

Rear Window Wiper Switch Signal (Except Avalanche/Escalade EXT)

GY

149

Cargo Lamp Low Control (Avalanche/Escalade EXT)

D-BU/WH

149

Cargo Lamp Low Control (Avalanche/Escalade EXT)

P

D-GN

392

Rear Window Washer Pump Control (Except Avalanche/Escalade EXT)

P

D-GN

392

Rear Window Washer Pump Control (Except Avalanche/Escalade EXT)

R

PK

739

Ignition 1 Voltage (Z75)

R

PK

739

Ignition 1 Voltage (Z75)

S

OG

1732

Courtesy Lamps Supply Voltage (Avalanche/Escalade EXT)

S

OG

1732

Courtesy Lamps Supply Voltage (Avalanche/Escalade EXT)

C210 Brake/Clutch Harness to Roof Beacon Harness (w/5G4)


Object Number: 153645  Size: CH

Object Number: 258179  Size: CH

Connector Part Information

    • 12129081
    • 2-Way F Metri-Pack 280 Series Flexlock (BK)

Connector Part Information

    • 12129155
    • 2-Way M Metri-Pack 280 Series Flexlock (BK)

Pin

Wire Color

Circuit No.

Function

Pin

Wire Color

Circuit No.

Function

A

OG

2340

Battery Positive Voltage

A

OG

2340

Battery Positive Voltage

B

WH

111

Hazard Switch Signal

B

WH

111

Hazard Switch Signal

C214 I/P Harness to Headliner Harness (w/UE1 w/U42)


Object Number: 800518  Size: CH

Object Number: 646377  Size: CH

Connector Part Information

    • 15332177
    • 16-Way F GT 150 Series (BK)

Connector Part Information

    • 15332182
    • 16-Way M GT 150 Series (BK)

Pin

Wire Color

Circuit No.

Function

Pin

Wire Color

Circuit No.

Function

A

YE/BK

2516

Keypad Green LED Signal (UE1)

A

YE/BK

2516

Keypad Green LED Signal (UE1)

B

BN/WH

2517

Keypad Red LED Signal (UE1)

B

BN/WH

2517

Keypad Red LED Signal (UE1)

C

L-GN/BK

2515

Keypad Supply Voltage (UE1)

C

L-GN/BK

2515

Keypad Supply Voltage (UE1)

D

D-GN/WH

2514

Keypad Signal (UE1)

D

D-GN/WH

2514

Keypad Signal (UE1)

E-G

--

--

Not Used

E-G

--

--

Not Used

H

D-GN/WH

368

Remote Playback Device Right Audio Signal (U42)

H

D-GN/WH

368

Remote Playback Device Right Audio Signal (U42)

J

BN/WH

367

Remote Playback Device Left Audio Signal (U42)

J

BN/WH

367

Remote Playback Device Left Audio Signal (U42)

K

BK/WH

372

Radio On Signal (U42)

K

BK/WH

372

Radio On Signal (U42)

L

BARE

1573

Drain Wire (U42)

L

BARE

1573

Drain Wire (U42)

M

L-GN/BK

1098

Class 2 Serial Data (U42)

M

L-GN/BK

1098

Class 2 Serial Data (U42)

N

OG

3240

Battery Positive Voltage (U42)

N

OG

3240

Battery Positive Voltage (U42)

P

BK/WH

1851

Ground (U42)

P

BK/WH

1851

Ground (U42)

R-S

--

--

Not Used

R-S

--

--

Not Used

C214 I/P Harness to Headliner Harness (w/UE1 w/o U42)


Object Number: 62439  Size: CH

Object Number: 62434  Size: CH

Connector Part Information

    • 12047886
    • 8-Way F Metri-Pack 150 Series (BK)

Connector Part Information

    • 12045688
    • 8-Way M Metri-Pack 150 Series (BK)

Pin

Wire Color

Circuit No.

Function

Pin

Wire Color

Circuit No.

Function

A

YE/BK

2516

Keypad Green LED Signal (UE1)

A

YE/BK

2516

Keypad Green LED Signal (UE1)

B

BN/WH

2517

Keypad Red LED Signal (UE1)

B

BN/WH

2517

Keypad Red LED Signal (UE1)

C

L-GN/BK

2515

Keypad Supply Voltage (UE1)

C

L-GN/BK

2515

Keypad Supply Voltage (UE1)

D

D-GN/WH

2514

Keypad Signal (UE1)

D

D-GN/WH

2514

Keypad Signal (UE1)

E-H

--

--

Not Used

E-H

--

--

Not Used

C216 Brake/Clutch Harness to Fuse Block Jumper (9L4)


Object Number: 365938  Size: CH

Object Number: 655680  Size: CH

Connector Part Information

    • 12015664
    • 4-Way F Metri-Pack 630 Series Sealed (GY)

Connector Part Information

    • 12052623
    • 4-Way M Metri-Pack 630 Series Sealed (BK)

Pin

Wire Color

Circuit No.

Function

Pin

Wire Color

Circuit No.

Function

A

BK

50

Ground

A

BK

50

Ground

B

--

--

Not Used

B

--

--

Not Used

C

YE

243

Accessory Voltage

C

YE

243

Accessory Voltage

D

RD

2

Battery Positive Voltage

D

RD

2

Battery Positive Voltage

C220 I/P Harness to Infotainment Jumper Harness (UQ7 w/o Y91)


Object Number: 73156  Size: CH

Object Number: 770798  Size: CH

Connector Part Information

    • 12110088
    • 24-Way F Micro-Pack 100 Series (GY)

Connector Part Information

    • 15305213
    • 24-Way M Micro-Pack 100 Series (BK)

Pin

Wire Color

Circuit No.

Function

Pin

Wire Color

Circuit No.

Function

A1

OG

1044

Class 2 Serial Data

A1

OG

1044

Class 2 Serial Data

A2-A7

--

--

Not Used

A2-A7

--

--

Not Used

A8

TN

201

Left Front Speaker Output (+)

A8

TN

201

Left Front Speaker Output (+)

A9

GY

118

Left Front Speaker Output (-)

A9

GY

118

Left Front Speaker Output (-)

A10

L-BU

115

Right Rear Speaker Output (-)

A10

L-BU

115

Right Rear Speaker Output (-)

A11

D-BU

46

Right Rear Speaker Output (+)

A11

D-BU

46

Right Rear Speaker Output (+)

A12

BK/WH

1851

Ground

A12

BK/WH

1851

Ground

B1

OG

340

Battery Positive Voltage

B1

OG

340

Battery Positive Voltage

B2-B7

--

--

Not Used

B2-B7

--

--

Not Used

B8

BN

199

Left Rear Speaker Output (+)

B8

BN

199

Left Rear Speaker Output (+)

B9

YE

116

Left Rear Speaker Output (-)

B9

YE

116

Left Rear Speaker Output (-)

B10

D-GN

117

Right Front Speaker Output (-)

B10

D-GN

117

Right Front Speaker Output (-)

B11

L-GN

200

Right Front Speaker Output (+)

B11

L-GN

200

Right Front Speaker Output (+)

B12

--

--

Not Used

B12

--

--

Not Used

C221 I/P Harness to Body Harness


Object Number: 594473  Size: CH

Object Number: 684931  Size: CH

Connector Part Information

    • 15336479
    • 4-Way F Metri-Pack 280 Series (YE)

Connector Part Information

    • 15336476
    • 4-Way M Metri-Pack 280 Series (YE)

Pin

Wire Color

Circuit No.

Function

Pin

Wire Color

Circuit No.

Function

A1

TN

3021

Steering Wheel Module - Stage 1 - High Control

A1

TN

3021

Steering Wheel Module - Stage 1 - High Control

A2

BN

3020

Steering Wheel Module - Stage 1 - Low Control

A2

BN

3020

Steering Wheel Module - Stage 1 - Low Control

B1

WH

3023

Steering Wheel Module - Stage 2 - High Control

B1

WH

3023

Steering Wheel Module - Stage 2 - High Control

B2

PK

3022

Steering Wheel Module - Stage 2 - Low Control

B2

PK

3022

Steering Wheel Module - Stage 2 - Low Control

C222 I/P Harness to Body Harness


Object Number: 594473  Size: CH

Object Number: 684931  Size: CH

Connector Part Information

    • 15336479
    • 4-Way F Metri-Pack 280 Series (YE)

Connector Part Information

    • 15336476
    • 4-Way M Metri-Pack 280 Series (YE)

Pin

Wire Color

Circuit No.

Function

Pin

Wire Color

Circuit No.

Function

A1

YE

3025

I/P Module - Stage 1 - High Control

A1

YE

3025

I/P Module - Stage 1 - High Control

A2

OG

3024

I/P Module - Stage 1 - Low Control

A2

OG

3024

I/P Module - Stage 1 - Low Control

B1

GY

3027

I/P Module - Stage 2 - High Control

B1

GY

3027

I/P Module - Stage 2 - High Control

B2

PU

3026

I/P Module - Stage 2 - Low Control

B2

PU

3026

I/P Module - Stage 2 - Low Control

C230 I/P Harness to A-Pillar Harness (UE1)


Object Number: 82383  Size: CH

Object Number: 35441  Size: CH

Connector Part Information

    • 12089868
    • 2-Way F Metri-Pack 150 Series (BK)

Connector Part Information

    • 12047662
    • 2-Way M Metri-Pack 150 Series (BK)

Pin

Wire Color

Circuit No.

Function

Pin

Wire Color

Circuit No.

Function

A

D-GN

654

Cellular Telephone Microphone Low Reference

A

D-GN

654

Cellular Telephone Microphone Low Reference

B

GY

655

Cellular Telephone Microphone Low Reference

B

GY

655

Cellular Telephone Microphone Low Reference

C231 Radio Antenna Harness to I/P Harness (Z75 Except EXT)


Object Number: 280768  Size: CH

Object Number: 766913  Size: CH

Connector Part Information

    • 12052832
    • 2-Way F Metri-Pack 150 Series (BK)

Connector Part Information

    • 15393225
    • 2-Way M Metri-Pack 150 Series (GY)

Pin

Wire Color

Circuit No.

Function

Pin

Wire Color

Circuit No.

Function

A

RD

1486

FM Composite Signal

A

RD

1486

FM Composite Signal

B

D-GN

145

Antenna Enable Signal

B

D-GN

145

Antenna Enable Signal

C249 I/P Harness to Infotainment Harness (UQ7 w/oY91) or Console Jumper (UQ3)


Object Number: 39667  Size: CH

Object Number: 130711  Size: CH

Connector Part Information

    • 12129136
    • 4-Way F Metri-Pack 280 Series Flexlock (BK)

Connector Part Information

    • 12129135
    • 4-Way M Metri-Pack 280 Series Flexlock (BK)

Pin

Wire Color

Circuit No.

Function

Pin

Wire Color

Circuit No.

Function

A

RD/WH

1040

Battery Positive Voltage

A

RD/WH

1040

Battery Positive Voltage

B

RD/WH

640

Battery Positive Voltage

B

RD/WH

640

Battery Positive Voltage

C

BK

1050

Ground

C

BK

1050

Ground

D

BK

1050

Ground

D

--

--

Not Used (UQ7 w/o Y91)

BK

1050

Ground (UQ3)

C250 Brake/Clutch Harness to Brake Clutch Jumper Harness (w/5G4)


Object Number: 40422  Size: CH

Object Number: 40425  Size: CH

Connector Part Information

    • 12064762
    • 6-Way F Metri-Pack 150 Series (GY)

Connector Part Information

    • 12064763
    • 6-Way M Metri-Pack 150 Series (GY)

Pin

Wire Color

Circuit No.

Function

Pin

Wire Color

Circuit No.

Function

A

--

--

Not Used

A

--

--

Not Used

B

BK

1050

Ground

B

BK

1050

Ground

C

WH

111

Hazard Switch Signal

C

WH

111

Hazard Switch Signal

D

PU/WH

1382

LED Dimming Signal

D

PU/WH

1382

LED Dimming Signal

E

BN/WH

230

Instrument Panel Lamps Dimming Control

E

BN/WH

230

Instrument Panel Lamps Dimming Control

F

OG

4540

Battery Positive Voltage

F

OG

4540

Battery Positive Voltage

C275 Steering Column Harness to Steering Wheel Module Coil


Object Number: 594473  Size: CH

Object Number: 684931  Size: CH

Connector Part Information

    • 15336479
    • 4-Way F Metri-Pack 280 Series (YE)

Connector Part Information

    • 15336476
    • 4-Way M Metri-Pack 280 Series (YE)

Pin

Wire Color

Circuit No.

Function

Pin

Wire Color

Circuit No.

Function

A1

TN

3021

Steering Wheel Module - Stage 1 - High Control

A1

TN

3021

Steering Wheel Module - Stage 1 - High Control

A2

BN

3020

Steering Wheel Module - Stage 1 - Low Control

A2

BN

3020

Steering Wheel Module - Stage 1 - Low Control

B1

WH

3023

Steering Wheel Module - Stage 2 - High Control

B1

WH

3023

Steering Wheel Module - Stage 2 - High Control

B2

PK

3022

Steering Wheel Module - Stage 2 - Low Control

B2

PK

3022

Steering Wheel Module - Stage 2 - Low Control

C277 Steering Wheel Module Coil to Steering Wheel Harness


Object Number: 62439  Size: CH

Object Number: 62434  Size: CH

Connector Part Information

    • 12047886
    • 8-Way F Metri-Pack 150 Series (BK)

Connector Part Information

    • 12045688
    • 8-Way M Metri-Pack 150 Series (BK)

Pin

Wire Color

Circuit No.

Function

Pin

Wire Color

Circuit No.

Function

A

YE

1327

DIC Fuel Signal

A

YE

1327

DIC Fuel Signal

B

D-BU

894

DIC Toggle Switch Signal

B

D-BU

894

DIC Toggle Switch Signal

C

PU

1358

DIC Switch Signal

C

D-GN

1358

DIC Switch Signal

D

OG/BK

1816

DIC Set/Reset Switch Signal

D

OG

1816

DIC Set/Reset Switch Signal

E

PK

1796

Steering Wheel Controls Signal

E

WH

2283

12-Volt Reference

F

BN/WH

230

Instrument Panel Lamps Dimming Control

F

BN

230

Instrument Panel Lamps Dimming Control

G

L-GN

1011

Remote Radio Control Signal

G

L-GN

1011

Remote Radio Control Signal

G

L-GN

1011

Remote Radio Control Signal

H

BK

1851

Ground

H

BK

2250

Ground

C305 Body Harness to Drivers Seat Harness


Object Number: 655767  Size: CH

Object Number: 655765  Size: CH

Connector Part Information

    • 15305133
    • 16-Way F GT 150 280 Series (BK)

Connector Part Information

    • 15305132
    • 16-Way M GT 150 280 Series (BK)

Pin

Wire Color

Circuit No.

Function

Pin

Wire Color

Circuit No.

Function

A

OG

1440

Battery Positive Voltage

A

OG

1440

Battery Positive Voltage

B

PK

2480

Passenger Heated Seat Cushion Element Control (w/AN3)

B

PK

2480

Passenger Heated Seat Cushion Element Control (w/AN3)

C

PK

5289

Adjustable Pedals Position Sensor Signal (w/AN3/JL4)

C

PK

5289

Adjustable Pedals Position Sensor Signal (w/AN3/JL4)

D

BN/WH

1048

Class 2 Serial Data (w/AN3)

D

BN/WH

1048

Class 2 Serial Data (w/AN3)

E

BK/WH

238

Seat Belt Switch - Left

E

BK/WH

238

Seat Belt Switch - Left

F

L-GN

5055

Seat Position Switch - Left - Signal

F

L-GN

5055

Seat Position Switch - Left - Signal

G

L-BU

2433

Passenger Heated Seat Back Element Control (w/AN3)

G

L-BU

2433

Passenger Heated Seat Back Element Control (w/AN3)

H

D-BU

2479

Passenger Heated Seat Element Supply Voltage (w/AN3)

H

D-BU

2479

Passenger Heated Seat Element Supply Voltage (w/AN3)

J

D-BU

1363

Low Reference

J

YE

1363

Low Reference

D-BU

1363

Low Reference

YE

1363

Low Reference

K

D-BU

5475

Front Passenger Heated Seat Back Temperature Signal (w/AN3)

K

D-BU

5475

Front Passenger Heated Seat Back Temperature Signal (w/AN3)

L

L-BU

5476

Low Reference (w/AN3)

L

L-BU

5476

Low Reference (w/AN3)

M-N

--

--

Not Used

M-N

--

--

Not Used

P

WH

5287

Adjustable Pedals Position Sensor 5-Volt Reference (w/JL4)

P

WH

5287

Adjustable Pedals Position Sensor 5-Volt Reference (w/JL4)

R

BN/WH

5288

Adjustable Pedals Position Sensor Low Reference (w/AN3/JL4)

R

BN/WH

5288

Adjustable Pedals Position Sensor Low Reference (w/AN3/JL4)

S

BK

1150

Ground

S

BK

1150

Ground

C306 Infotainment Jumper Harness (w/o Y91) or I/P Harness (w/Y91) to Console Harness


Object Number: 768086  Size: CH

Object Number: 768088  Size: CH

Connector Part Information

    • 15359287
    • 40-Way F GT 150 280 Series (BK)

Connector Part Information

    • 15359284
    • 40-Way M GT 150 280 Series (BK)

Pin

Wire Color

Circuit No.

Function

Pin

Wire Color

Circuit No.

Function

A1

BARE

2011

Drain Wire (w/o Y91)

A1

BARE

2011

Drain Wire (w/o Y91)

BN/WH

230

Instrument Panel Lamps Dimming Control (w/Y91)

BN/WH

230

Instrument Panel Lamps Dimming Control (w/Y91)

A2

--

--

Not Used

A2-A3

--

--

Not Used

A3

--

--

Not Used (Except Z75)

A3

--

--

Not Used (Except Z75)

BN/WH

230

Instrument Panel Lamps Dimming Control (w/Z75)

BN/WH

230

Instrument Panel Lamps Dimming Control (w/Z75)

A4

OG

1040

Battery Positive Voltage

A4

OG

1040

Battery Positive Voltage

A5

OG

3740

Battery Positive Voltage

A5

OG

3740

Battery Positive Voltage

A6

--

--

Not Used (w/o Y91)

A6

--

--

Not Used (w/o Y91)

OG

3240

Battery Positive Voltage

OG

3240

Battery Positive Voltage

A7

--

--

Not Used (w/o Y91)

A7

--

--

Not Used (w/o Y91)

D-GN/WH

368

Right Audio Signal (+) (w/Y91)

D-GN/WH

368

Right Audio Signal (+) (w/Y91)

A8

--

--

Not Used (w/o Y91)

A8

--

--

Not Used (w/o Y91)

BN/WH

367

Left Audio Signal (+) (w/Y91)

BN/WH

367

Left Audio Signal (+) (w/Y91)

B1

--

--

Not Used (w/o Y91)

B1

--

--

Not Used (w/o Y91)

BK/WH

372

Remote Playback Device Audio Common Signal (wY91)

BK/WH

372

Remote Playback Device Audio Common Signal (wY91)

B2

--

--

Not Used

B2

--

--

Not Used

B3

L-BU

2288

Class 2 Serial Data (w/UK6 and w/Y91)

B3

L-BU

2288

Class 2 Serial Data (w/UK6 and w/Y91)

B4

GY/BK

2334

Radio Mute (w/o Y91)

B4

GY/BK

2334

Radio Mute (w/o Y91)

--

--

Not Used (w/Y91)

--

--

Not Used (w/Y91)

B5

--

--

Not Used (w/o Y91)

B5

--

--

Not Used (w/o Y91)

TN

5072

Class 2 Serial Data (w/Y91)

TN

5072

Class 2 Serial Data (w/Y91)

B6

PK

314

Radio On Signal

B6

PK

314

Radio On Signal

--

--

Not Used (w/Y91)

--

--

Not Used (w/Y91)

B7

--

--

Not Used (w/o Y91)

B7

--

--

Not Used (w/o Y91)

D-BU

2272

Class 2 Serial Data (w/Y91)

D-BU

2272

Class 2 Serial Data (w/Y91)

B8

BK

1050

Ground

B8

BK

1050

Ground

B9

TN

201

Left Front Speaker Output (+)

B9

TN

201

Left Front Speaker Output (+)

B10

--

--

Not Used (w/o Y91)

B10

--

--

Not Used (w/o Y91)

BARE

1573

Drain Wire (w/Y91)

BARE

1573

Drain Wire (w/Y91)

B11

GY

118

Left Front Speaker Output (-)

B11

GY

118

Left Front Speaker Output (-)

B12

PU

493

Rear Seat Audio Enable Signal (w/o Y91)

B12

PU

493

Rear Seat Audio Enable Signal (w/o Y91)

--

--

Not Used (w/Y91)

--

--

Not Used (w/Y91)

C1

BARE

2099

Drain Wire (w/o Y91)

C1

BARE

2099

Drain Wire (w/o Y91)

--

--

Not Used (w/Y91)

--

--

Not Used (w/Y91)

C2

TN

511

Left Front Low Level Audio Signal (+)

C2

TN

511

Left Front Low Level Audio Signal (+)

C3

D-GN

1947

Left Front Low Level Audio Signal (-)

C3

D-GN

1947

Left Front Low Level Audio Signal (-)

C4

L-GN

512

Right Front Low Level Audio Signal (+)

C4

L-GN

512

Right Front Low Level Audio Signal (+)

C5

OG

640

Battery Positive Voltage

C5

OG

640

Battery Positive Voltage

C6

BK

1946

Right Rear Low Level Audio Signal (-)

C6

BK

1946

Right Rear Low Level Audio Signal (-)

C7

OG/BK

1546

Front Low Level Audio Signal (-)

C7

OG/BK

1546

Front Low Level Audio Signal (-)

C8

BN

599

Left Rear Low Level Audio Signal (+)

C8

BN

599

Left Rear Low Level Audio Signal (+)

C9

D-GN/WH

1547

Rear Low Level Audio Signal (-)

C9

D-GN/WH

1547

Rear Low Level Audio Signal (-)

C10

BN

199

Left Rear Speaker Output (+) (w/o Y91)

C10

BN

199

Left Rear Speaker Output (+) (w/o Y91)

--

--

Not Used (w/Y91)

--

--

Not Used (w/Y91)

C11

D-BU

546

Right Rear Low Level Audio Signal (+)

C11

D-BU

546

Right Rear Low Level Audio Signal (+)

C12

L-GN

200

Right Front Speaker Output (+)

C12

L-GN

200

Right Front Speaker Output (+)

D1

D-GN

117

Right Front Speaker Output (-)

D1

D-GN

117

Right Front Speaker Output (-)

D2

YE

116

Left Rear Speaker Output (-) (w/o Y91)

D2

YE

116

Left Rear Speaker Output (-) (w/o Y91)

--

--

Not Used (w/Y91)

--

--

Not Used (w/Y91)

D3

--

--

Not Used (w/o Y91 or Escalade EXT)

D3

--

--

Not Used (w/o Y91 or Escalade EXT)

BN/WH

230

Instrument Panel Lamps Dimming Control (KA6)

BN/WH

230

Instrument Panel Lamps Dimming Control (KA6)

BN/WH

230

Instrument Panel Lamps Dimming Control (KA6)

D4

--

--

Not Used (w/o Y91)

D4

--

--

Not Used (w/o Y91)

BARE

2011

Drain Wire (w/Y91)

BARE

2011

Drain Wire (w/Y91)

D5

BK/WH

1851

Ground

D5

BK/WH

1851

Ground

D6

OG

340

Battery Positive Voltage (w/UK6)

D6

OG

340

Battery Positive Voltage (w/UK6)

OG

340

Battery Positive Voltage (wZ75)

D7

D-BU

46

Right Rear Speaker Output (+) (w/o Y91)

D7

D-BU

46

Right Rear Speaker Output (+) (w/o Y91)

--

--

Not Used (w/Y91)

--

--

Not Used (w/Y91)

D8

L-BU

115

Right Rear Speaker Output (-) (w/o Y91)

D8

L-BU

115

Right Rear Speaker Output (-) (w/o Y91)

--

--

Not Used (w/Y91)

--

--

Not Used (w/Y91)

C310 Body Harness to Left Rear Door Harness


Object Number: 794439  Size: CH

Object Number: 655695  Size: CH

Connector Part Information

    • 12177260 and 12177259
    • 7-Way F GT 150 280 Series (BK) and 10-Way F GT 150 280 Series (BK)

Connector Part Information

    • 12177258
    • 17-Way M Metri-Pack 150 280 Series (NA)

Pin

Wire Color

Circuit No.

Function

Pin

Wire Color

Circuit No.

Function

A

WH

1185

Power Window Relay Left Rear Up Control

A

WH

1185

Power Window Relay Left Rear Up Control

B

YE

1187

Power Window Relay Left Rear Down Control

B

YE

1187

Power Window Relay Left Rear Down Control

C

L-BU

2265

Power Window Lockout Left Rear Control

C

L-BU

2265

Power Window Lockout Left Rear Control

D

--

--

Not Used

D

--

--

Not Used

E

BN/WH

230

Instrument Panel Lamps Dimming Control

E

BN/WH

230

Instrument Panel Lamps Dimming Control

F

BK

1150

Ground

F

BK

1150

Ground

G

OG

1240

Battery Positive Voltage

G

OG

1240

Battery Positive Voltage

H

L-BU/BK

747

Left Rear Door Ajar Switch Signal

H

L-BU/BK

747

Left Rear Door Ajar Switch Signal

J

--

--

Not Used

J

--

--

Not Used

K

YE

116

Left Rear Speaker Output (-)

K

YE

116

Left Rear Speaker Output (-)

L

BN

199

Left Rear Speaker Output (+)

L

BN

199

Left Rear Speaker Output (+)

M

BK

1150

Ground

M

BK

1150

Ground

N

TN

294

Door Lock Actuator Unlock Control

N

TN

294

Door Lock Actuator Unlock Control

P

GY

295

Door Lock Actuator Lock Control

P

GY

295

Door Lock Actuator Lock Control

R-T

--

--

Not Used

R-T

--

--

Not Used

C312 Headliner Harness to Rear Blower Harness (CJ3)


Object Number: 62463  Size: CH

Object Number: 73217  Size: CH

Connector Part Information

    • 12064766
    • 8-Way F Metri-Pack 150 Series (BU)

Connector Part Information

    • 12064767
    • 8-Way M Metri-Pack 150 Series (BU)

Pin

Wire Color

Circuit No.

Function

Pin

Wire Color

Circuit No.

Function

A

BK

1450

Ground (C69)

A

BK

1450

Ground (C69)

B

D-BU

1926

Auxiliary Blower Motor Low Control (C69)

B

D-BU

1926

Auxiliary Blower Motor Low Control (C69)

C

WH

1924

Auxiliary Blower Motor High Control (C69)

C

WH

1924

Auxiliary Blower Motor High Control (C69)

D

RD

1925

Auxiliary Blower Motor Medium Control (C69)

D

RD

1925

Auxiliary Blower Motor Medium Control (C69)

E

BN

541

Ignition 3 Voltage (w/C36/C69)

E

BN

541

Ignition 3 Voltage (w/C36/C69)

F

WH/BK

1236

Auxiliary Air Temperature Door Control (w/C36/C69)

F

WH/BK

1236

Auxiliary Air Temperature Door Control (w/C36/C69)

G

WH

454

Auxiliary Mode Door Control (w/C36/C69)

G

WH

454

Auxiliary Mode Door Control (w/C36/C69)

H

--

--

Not Used

H

--

--

Not Used

C313 LF Door Harness to Body Harness (w/AJ7)


Object Number: 130631  Size: CH

Object Number: 516613  Size: CH

Connector Part Information

    • 12064758
    • 3-Way F Metri-Pack 150 Series (BK)

Connector Part Information

    • 12064759
    • 3-Way M Metri-Pack 150 Series (BK)

Pin

Wire Color

Circuit No.

Function

Pin

Wire Color

Circuit No.

Function

A

--

--

Not Used

A

--

--

Not Used

B

WH

2162

Side Impact Sensor - Left - Signal

B

WH

2162

Side Impact Sensor - Left - Signal

C

YE

2161

Side Impact Sensor - Left - Voltage

C

YE

2161

Side Impact Sensor - Left - Voltage

C315 RF Door Harness to Body Harness (w/AJ7)


Object Number: 130631  Size: CH

Object Number: 516613  Size: CH

Connector Part Information

    • 12064758
    • 3-Way F Metri-Pack 150 Series (BK)

Connector Part Information

    • 12064759
    • 3-Way M Metri-Pack 150 Series (BK)

Pin

Wire Color

Circuit No.

Function

Pin

Wire Color

Circuit No.

Function

A

L-GN

265

Passenger Door Key Switch Signal

A

L-GN

265

Passenger Door Key Switch Signal (w/ZW9)

B

D-GN

2164

Side Impact Sensor - Right - Signal

B

D-GN

2164

Side Impact Sensor - Right - Signal

C

TN

2163

Side Impact Sensor - Right - Voltage

C

TN

2163

Side Impact Sensor - Right - Voltage

C320 Seat Jumper Harness to Seat Harness (AN3)


Object Number: 845613  Size: CH

Object Number: 845619  Size: CH

Connector Part Information

    • 7283-5625-40
    • 13-Way F Hybrid Unsealed (GY)

Connector Part Information

    • 7282-5625-40
    • 13-Way M Hybrid Unsealed (GY)

Pin

Wire Color

Circuit No.

Function

Pin

Wire Color

Circuit No.

Function

1

BK

1150

Ground

1

BK

1150

Ground

2

D-BU

611

Drivers Seat Lumbar Motor Forward Control

2

D-BU

611

Drivers Seat Lumbar Motor Forward Control

3-5

--

--

Not Used

3-5

--

--

Not Used

6

D-BU

2479

Passenger Heated Seat Element Supply Voltage

6

D-BU

2479

Passenger Heated Seat Element Supply Voltage

D-BU

2479

Passenger Heated Seat Element Supply Voltage

7

OG

1440

Battery Positive Voltage

7

OG

1440

Battery Positive Voltage

8

PU

1258

Driver Seat Torso Bolster Out Control

8

PU

1258

Driver Seat Torso Bolster Out Control

9

YE

1257

Driver Seat Torso Bolster In Control

9

YE

1257

Driver Seat Torso Bolster In Control

10

--

--

Not Used

10

--

--

Not Used

11

PK

610

Driver Seat Lumbar Motor Rearward Control

11

PK

610

Driver Seat Lumbar Motor Rearward Control

12

PK

2480

Passenger Heated Seat Cushion Element Control

12

PK

2480

Passenger Heated Seat Cushion Element Control

13

L-BU

2433

Passenger Heated Seat Back Element Control

13

L-BU

2433

Passenger Heated Seat Back Element Control

C321 Seat Jumper Harness to Seat Harness (AN3)


Object Number: 845663  Size: CH

Object Number: 845665  Size: CH

Connector Part Information

    • 6098-1374
    • 24-Way F (L-BU)

Connector Part Information

    • 6098-1371
    • 24-Way M (L-BU)

Pin

Wire Color

Circuit No.

Function

Pin

Wire Color

Circuit No.

Function

1

WH

940

12-Volt Reference

1

WH

940

12-Volt Reference

2

L-BU

5476

Low Reference

2

L-BU

5476

Low Reference

3

YE

1063

Driver Seat Lumbar Horizontal Position Sensor Signal

3

YE

1063

Driver Seat Lumbar Horizontal Position Sensor Signal

4

PU

5700

Drivers Seat Torso Bolster Position Sensor Signal

4

PU

5700

Drivers Seat Torso Bolster Position Sensor Signal

5

PK

5289

Adjustable Pedals Position Sensor Signal

5

PK

5289

Adjustable Pedals Position Sensor Signal

6

BN/WH

5288

Adjustable Pedals Position Sensor Low Reference

6

BN/WH

5288

Adjustable Pedals Position Sensor Low Reference

7

OG

1540

Battery Positive Voltage

7

OG

1540

Battery Positive Voltage

8

BN/WH

1048

Class 2 Serial Data

8

BN/WH

1048

Class 2 Serial Data

9

D-GN

1518

Power Seat Front Vertical Up Switch Signal

9

D-GN

1518

Power Seat Front Vertical Up Switch Signal

10

D-BU

1520

Power Seat Front Vertical Down Switch Signal

10

D-BU

1520

Power Seat Front Vertical Down Switch Signal

11

GY/BK

1269

Power Seat Recline Forward Switch Signal

11

GY/BK

1269

Power Seat Recline Forward Switch Signal

12

D-GN/WH

1270

Power Seat Recline Rearward Switch Signal

12

D-GN/WH

1270

Power Seat Recline Rearward Switch Signal

13

L-GN

1523

Power Seat Horizontal Rearward Switch Signal

13

L-GN

1523

Power Seat Horizontal Rearward Switch Signal

14

TN

1522

Power Seat Horizontal Forward Switch Signal

14

TN

1522

Power Seat Horizontal Forward Switch Signal

15

YE

2407

Driver Seat Lumbar Motor Forward Switch Signal

15

YE

2407

Driver Seat Lumbar Motor Forward Switch Signal

16

TN

2408

Driver Seat Lumbar Motor Rearward Control

16

TN

2408

Driver Seat Lumbar Motor Rearward Control

17-18

--

--

Not Used

17-18

--

--

Not Used

19

L-BU

1521

Power Seat Rear Vertical Down Switch Signal

19

L-BU

1521

Power Seat Rear Vertical Down Switch Signal

20

YE

1519

Power Seat Rear Vertical Up Switch Signal

20

YE

1519

Power Seat Rear Vertical Up Switch Signal

21

WH/RD

5701

Drivers Seat Torso Bolster In Switch Signal

21

WH/RD

5701

Drivers Seat Torso Bolster In Switch Signal

22

GY/RD

5702

Drivers Seat Torso Bolster Out Switch Signal

22

GY/RD

5702

Drivers Seat Torso Bolster Out Switch Signal

23

D-BU

5475

Front Passenger Heated Seat Back Temperature Signal

23

D-BU

5475

Front Passenger Heated Seat Back Temperature Signal

24

WH

5287E

5-Volt Reference

24

WH

5287E

5-Volt Reference

C322 Seat Motor Jumper Harness to Seat Jumper Harness (AN3)


Object Number: 62464  Size: CH

Object Number: 808703  Size: CH

Connector Part Information

    • 12064769
    • 10-Way F Metri-Pack 150 Series (NA)

Connector Part Information

    • 12064770
    • 10-Way M Metri-Pack 150 Series (NA)

Pin

Wire Color

Circuit No.

Function

Pin

Wire Color

Circuit No.

Function

A

D-BU

569

Horizontal Seat Motor Position Sensor Signal

A

D-GN

569

Horizontal Seat Motor Position Sensor Signal

B

RD

940

12-Volt Reference

B

WH

940

12-Volt Reference

C

BK

5288C

Low Reference

C

BN/WH

5288C

Low Reference

D

D-BU

557

Front Vertical Seat Motor Position Sensor Signal

D

BN/WH

557

Front Vertical Seat Motor Position Sensor Signal

E

RD

940

12-Volt Reference

E

WH

940

12-Volt Reference

F

BK

5288D

Low Reference

F

BN/WH

5288D

Low Reference

G

D-BU

568

Rear Vertical Seat Motor Position Sensor Signal

G

TN

568

Rear Vertical Seat Motor Position Sensor Signal

H

RD

940

12-Volt Reference

H

WH

940

12-Volt Reference

J

BK

5288C

Low Reference

J

BN/WH

5288C

Low Reference

K

--

--

Not Used

K

--

--

Not Used

C323 Seat Motor Jumper Harness to Seat Jumper Harness (AN3)


Object Number: 62456  Size: CH

Object Number: 39689  Size: CH

Connector Part Information

    • 12064752
    • 6-Way F Metri-Pack 280 Series (BK)

Connector Part Information

    • 12064754
    • 6-Way M Metri-Pack 280 Series (BK)

Pin

Wire Color

Circuit No.

Function

Pin

Wire Color

Circuit No.

Function

A

BK

283

Driver Seat Rear Vertical Motor Down Control

A

L-BU

283

Driver Seat Rear Vertical Motor Down Control

B

RD

282

Driver Seat Rear Vertical Motor Up Control

B

YE

282

Driver Seat Rear Vertical Motor Up Control

C

BK

285

Driver Seat Horizontal Motor Forward Control

C

TN

285

Driver Seat Horizontal Motor Forward Control

D

RD

284

Driver Seat Horizontal Motor Rearward Control

D

L-GN

284

Driver Seat Horizontal Motor Rearward Control

E

BK

287

Driver Seat Front Vertical Motor Down Control

E

D-BU

287

Driver Seat Front Vertical Motor Down Control

F

RD

286

Driver Seat Front Vertical Motor Up Control

F

D-GN

286

Driver Seat Front Vertical Motor Up Control

C324 Lumbar Bolster Harness to Seat Harness (AN3)


Object Number: 62469  Size: CH

Object Number: 655876  Size: CH

Connector Part Information

    • 12064998
    • 8-Way F Metri-Pack 280 Series (BK)

Connector Part Information

    • 15358651
    • 8-Way M Metri-Pack 280 Series (BK)

Pin

Wire Color

Circuit No.

Function

Pin

Wire Color

Circuit No.

Function

A

PU/WH

611

Driver Seat Lumbar Motor Forward Control

A

D-BU

611

Driver Seat Lumbar Motor Forward Control

B

L-BU

1063

Driver Seat Lumbar Horizontal Position Sensor Signal

B

YE/BK

1063

Driver Seat Lumbar Horizontal Position Sensor Signal

C

BN

940

12-Volt Reference

C

WH

940

12-Volt Reference

C

BN

940

12-Volt Reference

D

TN/WH

1258

Driver Seat Torso Bolster Out Control

D

PU

1258

Driver Seat Torso Bolster Out Control

E

PK/BK

1257

Driver Seat Torso Bolster In Control

E

YE

1257

Driver Seat Torso Bolster In Control

F

D-BU/WH

718

Low Reference

F

BN/WH

718

Low Reference

F

D-BU/WH

718

Low Reference

G

PU/WH

5700

Drivers Seat Torso Bolster Position Sensor Signal

G

PU

5700

Drivers Seat Torso Bolster Position Sensor Signal

H

D-BU/WH

610

Driver Seat Lumbar Motor Rearward Control

H

PK

610

Driver Seat Lumbar Motor Rearward Control

C325 Heated Seat Jumper Harness to Seat Jumper Harness (AN3)


Object Number: 40422  Size: CH

Object Number: 40425  Size: CH

Connector Part Information

    • 12064762
    • 6-Way F Metri-Pack 150 Series (GY)

Connector Part Information

    • 12064763
    • 6-Way M Metri-Pack 150 Series (GY)

Pin

Wire Color

Circuit No.

Function

Pin

Wire Color

Circuit No.

Function

A

BN

2077

Heated Seat Cushion Element Supply Voltage

A

RD/WH

2077

Heated Seat Cushion Element Supply Voltage

B

BK/RD

2425

Driver Heated Seat Back Temperature Sensor Signal

B

D-BU

2425

Driver Heated Seat Back Temperature Sensor Signal

C

YE

2432

Driver Heated Seat Back Element Supply Voltage

C

BN

2432

Driver Heated Seat Back Element Supply Voltage

D

BK

2424

Driver Heated Seat Back Element Control

D

PU

2424

Driver Heated Seat Back Element Control

E

BK/RD

2426

Low Reference

E

PK

2426

Low Reference

F

BK

2078

Heated Seat Cushion Element Control

F

L-GN

2078

Heated Seat Cushion Element Control

C326 Heated Seat Jumper Harness to Passenger Seat Harness (AN3)


Object Number: 40422  Size: CH

Object Number: 40425  Size: CH

Connector Part Information

    • 12064762
    • 6-Way F Metri-Pack 150 Series (GY)

Connector Part Information

    • 12064763
    • 6-Way M Metri-Pack 150 Series (GY)

Pin

Wire Color

Circuit No.

Function

Pin

Wire Color

Circuit No.

Function

A

BN

2479

Passenger Heated Seat Element Supply Voltage

A

D-BU

2479

Passenger Heated Seat Element Supply Voltage

B

BK/RD

5475

Front Passenger Heated Seat Back Temperature Signal

B

D-BU

5475

Front Passenger Heated Seat Back Temperature Signal

C

YE

2479

Passenger Heated Seat Element Supply Voltage

C

D-BU

2479

Passenger Heated Seat Element Supply Voltage

D

BK

2433

Passenger Heated Seat Back Element Control

D

L-BU

2433

Passenger Heated Seat Back Element Control

E

BK/RD

5476

Low Reference

E

L-BU

5476

Low Reference

F

BK

2480

Passenger Heated Seat Cushion Element Control

F

PK

2480

Passenger Heated Seat Cushion Element Control

C327 Body Harness to Left Rear Seat Harness (w/KA6)


Object Number: 62456  Size: CH

Object Number: 39689  Size: CH

Connector Part Information

    • 12064752
    • 6-Way F Metri-Pack 280 Series Self Lock (BK)

Connector Part Information

    • 12064754
    • 6-Way M Metri-Pack 280 Series Self Lock (BK)

Pin

Wire Color

Circuit No.

Function

Pin

Wire Color

Circuit No.

Function

A

OG

4540

Battery Positive Voltage

A

OG

4540

Battery Positive Voltage

B

BK

1150

Ground

B

BK

1150

Ground

C

BN

541

Ignition 3 Voltage

C

BN

541

Ignition 3 Voltage

D

BN

1637

Left Rear Heated Seat Switch Signal

D

BN

1637

Left Rear Heated Seat Switch Signal

E

PK

1631

Left Rear Heated Seat Switch Low Temperature Indicator Control

E

PK

1631

Left Rear Heated Seat Switch Low Temperature Indicator Control

F

BK/WH

1638

Left Rear Heated Seat High Temperature Indicator Control

F

BK/WH

1638

Left Rear Heated Seat High Temperature Indicator Control

C328 Heated Seat Element Harness to Left Rear Seat Harness (w/KA6)


Object Number: 39660  Size: CH

Object Number: 39661  Size: CH

Connector Part Information

    • 12047785
    • 4-Way F Metri-Pack 150 Series (BK)

Connector Part Information

    • 12047786
    • 4-Way M Metri-Pack 150 Series (BK)

Pin

Wire Color

Circuit No.

Function

Pin

Wire Color

Circuit No.

Function

A

RD/WH

2075

Heated Seat Cushion Element Control

A

RD/WH

2075

Heated Seat Cushion Element Control

B

BK

1150

Ground

B

BK

1150

Ground

C

YE

2079

Heated Seat Cushion Temperature Sensor Signal

C

YE

2079

Heated Seat Cushion Temperature Sensor Signal

D

BK

2080

Low Reference

D

BK

2080

Low Reference

C329 Lumbar Bolster Harness to Passenger Seat Harness (AN3)


Object Number: 39667  Size: CH

Object Number: 130711  Size: CH

Connector Part Information

    • 12129136
    • 4-Way F Metri-Pack 280 Series (BK)

Connector Part Information

    • 12129135
    • 4-Way M Metri-Pack 280 Series (BK)

Pin

Wire Color

Circuit No.

Function

Pin

Wire Color

Circuit No.

Function

A

D-BU

211

Passenger Seat Lumbar Motor Forward Control

A

D-BU

211

Passenger Seat Lumbar Motor Forward Control

B

WH

210

Passenger Seat Lumbar Motor Rearward Control

B

WH

210

Passenger Seat Lumbar Motor Rearward Control

C

OG

2462

Passenger Torso Bolster Out Control

C

D-BU

2462

Passenger Torso Bolster Out Control

D

PK

2427

Passenger Torso Bolster In Control

D

L-BU

2427

Passenger Torso Bolster In Control

C350 Engine Harness to 4 Wheel Drive Harness (NP8)


Object Number: 900247  Size: CH

Object Number: 697014  Size: CH

Connector Part Information

    • 15359366
    • 2-Way F GT 150 (BK)

Connector Part Information

    • 15355466
    • 2-Way M GT 150 (BK)

Pin

Wire Color

Circuit No.

Function

Pin

Wire Color

Circuit No.

Function

A

PU/WH

821

VSS High Signal

A

PU/WH

821

VSS High Signal

B

L-GN/BK

822

VSS Low Signal

B

L-GN/BK

822

VSS Low Signal

C370 Body Harness to Console Harness (w/Y91)


Object Number: 802513  Size: CH

Object Number: 802511  Size: CH

Connector Part Information

    • 15332169
    • 14-Way F GT 150 Series (BK)

Connector Part Information

    • 15332174
    • 14-Way M GT 150 Series (BK)

Pin

Wire Color

Circuit No.

Function

Pin

Wire Color

Circuit No.

Function

A

RD

1858

Left Rear Twidler Speaker Output (+) (Except Escalade EXT)

A

RD

1858

Left Rear Twidler Speaker Output (+) (Except Escalade EXT)

B

PU

1958

Left Rear Twidler Speaker Output (-) (Except Escalade EXT)

B

PU

1958

Left Rear Twidler Speaker Output (-) ( Except Escalade EXT)

C

WH

1854

Right Rear Twidler Speaker Output (+) ( Except Escalade EXT)

C

WH

1854

Right Rear Twidler Speaker Output (+) (Except Escalade EXT)

D

YE

1949

Right Rear Twidler Speaker Output (-) (Except Escalade EXT)

D

YE

1949

Right Rear Twidler Speaker Output (-) ( Except Escalade ( EXT)

E

BN

199

Left Rear Speaker Output (+)

E

BN

199

Left Rear Speaker Output (+)

F

YE

116

Left Rear Speaker Output (-)

F

YE

116

Left Rear Speaker Output (-)

G

D-BU

46

Right Rear Speaker Output (+)

G

D-BU

46

Right Rear Speaker Output (+)

H

L-BU

115

Right Rear Speaker Output (-)

H

L-BU

115

Right Rear Speaker Output (-)

J

BN

1637

Left Rear Heated Seat Switch Signal (Except Escalade EXT)

J

BN

1637

Left Rear Heated Seat Switch Signal (Except Escalade EXT)

K

PK

1631

Left Rear Heated Seat Low Temperature Indicator Control (Except Escalade EXT)

K

PK

1631

Left Rear Heated Seat Low Temperature Indicator Control (Except Escalade EXT)

L

BK/WH

1638

Left Rear Heated Seat High Temperature Indicator Control (Except Escalade EXT)

L

BK/WH

1638

Left Rear Heated Seat High Temperature Indicator Control (Except Escalade EXT)

M

BK/WH

1635

Right Rear Heated Seat High Temperature Indicator Control (Except Escalade EXT)

M

BK/WH

1635

Right Rear Heated Seat High Temperature Indicator Control (Except Escalade EXT)

N

BN

1634

Right Rear Heated Seat Switch Signal (Except Escalade EXT)

N

BN

1634

Right Rear Heated Seat Switch Signal (Except Escalade EXT)

P

PK

1636

Right Rear Heated Seat Low Temperature Indicator Control (Except Escalade EXT)

P

PK

1636

Right Rear Heated Seat Low Temperature Indicator Control (Except Escalade EXT)

C386 Body Harness to Right Rear Seat Harness (w/KA6)


Object Number: 62456  Size: CH

Object Number: 39689  Size: CH

Connector Part Information

    • 12064752
    • 6-Way F Metri-Pack 280 Series (BK)

Connector Part Information

    • 12064754
    • 6-Way M Metri-Pack 280 Series (BK)

Pin

Wire Color

Circuit No.

Function

Pin

Wire Color

Circuit No.

Function

A

OG

4540

Battery Positive Voltage

A

OG

4540

Battery Positive Voltage

B

BK

1250

Ground

B

BK

1250

Ground

C

BN

541

Ignition 3 Voltage

C

BN

541

Ignition 3 Voltage

D

BN

1634

Right Rear Heated Seat Switch Signal

D

BN/WH

1634

Right Rear Heated Seat Switch Signal

E

PK

1636

Right Rear Heated Seat Low Temperature Indicator Control

E

PK

1636

Right Rear Heated Seat Low Temperature Indicator Control

F

BK/WH

1635

Right Rear Heated Seat High Temperature Indicator Control

F

BK/WH

1635

Right Rear Heated Seat High Temperature Indicator Control

C388 Seat Motor Jumper Harness to Passenger Seat Harness (AN3)


Object Number: 62456  Size: CH

Object Number: 39689  Size: CH

Connector Part Information

    • 12064752
    • 6-Way F Metri-Pack 280 Series Self Lock (BK)

Connector Part Information

    • 12064754
    • 6-Way M Metri-Pack 280 Series Self Lock (BK)

Pin

Wire Color

Circuit No.

Function

Pin

Wire Color

Circuit No.

Function

A

BK

289

Passenger Seat Rear Vertical Motor Down Control

A

L-BU

289

Passenger Seat Rear Vertical Motor Down Control

B

RD

288

Passenger Seat Rear Vertical Motor Up Control

B

YE

288

Passenger Seat Rear Vertical Motor Up Control

C

BK

290

Passenger Seat Horizontal Motor Rearward Control

C

L-GN

290

Passenger Seat Horizontal Motor Rearward Control

D

RD

296

Passenger Seat Horizontal Motor Forward Control

D

TN

296

Passenger Seat Horizontal Motor Forward Control

E

BK

298

Passenger Seat Front Vertical Motor Down Control

E

D-BU

298

Passenger Seat Front Vertical Motor Down Control

F

RD

297

Passenger Seat Front Vertical Motor Up Control

F

D-GN

297

Passenger Seat Front Vertical Motor Up Control

C389 Heated Seat Element Harness to Right Rear Seat Harness (w/KA6)


Object Number: 39660  Size: CH

Object Number: 39661  Size: CH

Connector Part Information

    • 12047785
    • 4-Way F Metri-Pack 150 Series (BK)

Connector Part Information

    • 12047786
    • 4-Way M Metri-Pack 150 Series (BK)

Pin

Wire Color

Circuit No.

Function

Pin

Wire Color

Circuit No.

Function

A

RD/WH

2075

Heated Seat Cushion Element Control

A

RD/WH

2075

Heated Seat Cushion Element Control

B

BK

1250

Ground

B

BK

1250

Ground

C

YE

2079

Heated Seat Cushion Temperature Sensor Signal

C

YE

2079

Heated Seat Cushion Temperature Sensor Signal

D

BK

2080

Low Reference

D

BK

2080

Low Reference

C390 CHMSL/Cargo Harness to Body Harness (Avalanche/Escalade EXT)


Object Number: 698669  Size: CH

Object Number: 698671  Size: CH

Connector Part Information

    • 15326886
    • 4-Way F GT 280 Series (BK)

Connector Part Information

    • 15326890
    • 4-Way M GT 280 Series (BK)

Pin

Wire Color

Circuit No.

Function

Pin

Wire Color

Circuit No.

Function

A

OG

1732

Courtesy Lamps Supply Voltage

A

OG

1732

Courtesy Lamps Supply Voltage

OG

1732

Courtesy Lamps Supply Voltage

B

D-BU/WH

149

Cargo Lamp Low Control

B

D-BU/WH

149

Cargo Lamp Low Control

D-BU/WH

149

Cargo Lamp Low Control

C

L-BU

1620

CHMSL Supply Voltage

C

L-BU

1620

CHMSL Supply Voltage

D

BK

1250

Ground

D

BK

1250

Ground

C396 Body Harness to Right Rear Door Harness


Object Number: 794439  Size: CH

Object Number: 655695  Size: CH

Connector Part Information

    • 12177260
    • 12177259
    • 7-Way F GT 150 280 Series (BK)
    •  10-Way F GT 150 280 Series (BK)

Connector Part Information

    • 12177258
    • 17-Way M Metri-Pack 150 280 Series (NA)

Pin

Wire Color

Circuit No.

Function

Pin

Wire Color

Circuit No.

Function

A

GY/BK

1186

Power Window Relay Right Rear Up Control

A

WH

1186

Power Window Relay Right Rear Up Control

B

D-GN

1188

Power Window Relay Right Rear Down Control

B

YE

1188

Power Window Relay Right Rear Down Control

C

L-GN

2266

Power Window Lockout Right Rear Control

C

L-BU

2266

Power Window Lockout Right Rear Control

D

--

--

Not Used

D

--

--

Not Used

E

BN/WH

230

Instrument Panel Lamps Dimming Control

E

BN/WH

230

Instrument Panel Lamps Dimming Control

F

BK

1250

Ground

F

BK

1250

Ground

G

OG

1340

Battery Positive Voltage

G

OG

1340

Battery Positive Voltage

H

L-GN/BK

748

Right Rear Door Ajar Switch Signal

H

L-BU/BK

748

Right Rear Door Ajar Switch Signal

J

--

--

Not Used

J

--

--

Not Used

K

L-BU

115

Right Rear Speaker Output (-)

K

YE

115

Right Rear Speaker Output (-)

L

D-BU

46

Right Rear Speaker Output (+)

L

BN

46

Right Rear Speaker Output (+)

M

BK

1250

Ground

M

BK

1250

Ground

N

TN

294

Door Lock Actuator Unlock Control

N

TN

294

Door Lock Actuator Unlock Control

P

GY

295

Door Lock Actuator Lock Control

P

GY

295

Door Lock Actuator Lock Control

R-T

--

--

Not Used

R-T

--

--

Not Used

C397 Aux. Blower Harness to Body Harness


Object Number: 62456  Size: CH

Object Number: 39689  Size: CH

Connector Part Information

    • 12064752
    • 6-Way F Metri-Pack 280 Series (BK)

Connector Part Information

    • 12064754
    • 6-Way M Metri-Pack 280 Series Self Lock (BK)

Pin

Wire Color

Circuit No.

Function

Pin

Wire Color

Circuit No.

Function

A

OG

1740

Battery Positive Voltage

A

OG

1740

Battery Positive Voltage

B

BN

541

Ignition 3 Voltage

B

BN

541

Ignition 3 Voltage

BN

541

Ignition 3 Voltage (Long Wheelbase w/CJ2 and CJ3 w/ C36/C69)

C

OG

3140

Battery Positive Voltage (CJ2)

C

OG

3140

Battery Positive Voltage (CJ2)

D

--

--

Not Used

D

--

--

Not Used

E

GY

2289

Class 2 Serial Data (CJ2)

E

GY

2289

Class 2 Serial Data (CJ2)

F

--

--

Not Used

F

--

--

Not Used

C399 Body Harness to Passenger Seat Harness


Object Number: 655765  Size: CH

Object Number: 655767  Size: CH

Connector Part Information

    • 15305133
    • 16-Way F GT 150 280 Series (BK)

Connector Part Information

    • 15305132
    • 16-Way M GT 150 280 Series (BK)

Pin

Wire Color

Circuit No.

Function

Pin

Wire Color

Circuit No.

Function

A

OG

1440

Battery Positive Voltage (w/AN3)

A

OG

1440

Battery Positive Voltage (w/AN3)

B

PK

2480

Passenger Heated Seat Cushion Element Control (w/AN3)

B

PK

2480

Passenger Heated Seat Cushion Element Control (w/AN3)

C

L-BU

2433

Passenger Heated Seat Back Element Control (w/AN3)

C

L-BU

2433

Passenger Heated Seat Back Element Control (w/AN3)

D

--

--

Not Used

D

--

--

Not Used

E

RD

1362

Seat Belt Switch - Right - Signal

E

RD

1362

Seat Belt Switch - Right - Signal

F

L-BU

5056

Seat Position Switch - Right - Signal

F

L-BU

5056

Seat Position Switch - Right - Signal

G

D-BU

5475

Front Passenger Heated Seat Back Temperature Signal

G

D-BU

5475

Front Passenger Heated Seat Back Temperature Signal

H

D-BU

2479

Passenger Seat Heater Element Supply Voltage (w/AN3)

H

D-BU

2479

Passenger Seat Heater Element Supply Voltage (w/AN3)

D-BU

2479

Passenger Seat Heater Element Supply Voltage (w/AN3)

J

D-BU

1363

Low Reference

J

YE

234

Low Reference

YE

234

Low Reference

K

PK

2306

Class 2 Serial Data

K

PK

2306

Class 2 Serial Data

L

D-BU

2307

Passenger Air Bag ON Indicator Control

L

D-BU

2307

Passenger Air Bag ON Indicator Control

M

D-GN

2308

Passenger Air Bag OFF Indicator Control

M

D-GN

2308

Passenger Air Bag OFF Indicator Control

N

YE

1139

Ignition 1 Voltage

N

YE

1139

Ignition 1 Voltage

P

BK

2351

Ground

P

BK

2351

Ground

R

L-BU

5476

Low Reference (w/AN3)

R

L-BU

5476

Low Reference (w/AN3)

S

BK

1250

Ground

S

BK

1250

Ground

C402 LH Tail Lamp Harness to Chassis Harness


Object Number: 374045  Size: CH

Object Number: 524411  Size: CH

Connector Part Information

    • 15305596
    • 7-Way F GT 280 Series (GY)

Connector Part Information

    • 15326789
    • 7-Way M GT 150 280 Series (GY)

Pin

Wire Color

Circuit No.

Function

Pin

Wire Color

Circuit No.

Function

A

BK

1750

Ground

A

BK

1750

Ground

B

BK

1750

Ground

B

BK

1750

Ground

C

BK

1750

Ground

C

BK

1750

Ground

D

L-BU

1320

CHMSL Supply Voltage

D

L-BU

1320

CHMSL Supply Voltage

E

BN

2509

Rear Park Lamps Supply Voltage

E

BN

2509

Rear Park Lamps Supply Voltage

F

L-GN

24

Backup Lamp Supply Voltage

F

L-GN

24

Backup Lamp Supply Voltage

H

L-BU

2114

Left Turn Signal Lamps Supply Voltage

H

L-BU

2114

Left Turn Signal Lamps Supply Voltage

C403 Chassis Harness to License Plate Harness (NYS)


Object Number: 523630  Size: CH

Object Number: 632349  Size: CH

Connector Part Information

    • 15326801
    • 2-Way F GT 150 Series Sealed (BK)

Connector Part Information

    • 15326806
    • 2-Way M GT 150 Series Sealed (BK)

Pin

Wire Color

Circuit No.

Function

Pin

Wire Color

Circuit No.

Function

A

BN

2509

Park Lamps Supply Voltage

A

BN

2509

Park Lamps Supply Voltage

B

BK

1750

Ground

B

BK

1750

Ground

C404 License Lamp Harness to Right Clearance Lamp Harness (NYS)


Object Number: 635009  Size: CH

Object Number: 333041  Size: CH

Connector Part Information

    • 12052641
    • 2-Way F Metri-Pack 150 Series Sealed (BK)

Connector Part Information

    • 12162000
    • 2-Way M Metri-Pack 150 Series Sealed (BK)

Pin

Wire Color

Circuit No.

Function

Pin

Wire Color

Circuit No.

Function

A

BN

2609

Park Lamps Supply Voltage

A

BN

2609

Park Lamps Supply Voltage

B

BK

1750

Ground

B

BK

1750

Ground

C405 Chassis Harness to Left Clearance Lamp Harness (NYS)


Object Number: 635009  Size: CH

Object Number: 333041  Size: CH

Connector Part Information

    • 12052641
    • 2-Way F Metri-Pack 150 Series Sealed (BK)

Connector Part Information

    • 12162000
    • 2-Way M Metri-Pack 150 Series Sealed (BK)

Pin

Wire Color

Circuit No.

Function

Pin

Wire Color

Circuit No.

Function

A

BN

2509

Park Lamps Supply Voltage

A

BN

2509

Park Lamps Supply Voltage

B

BK

1750

Ground

B

BK

1750

Ground

C406 License Lamp Harness to Body Harness (Z75)


Object Number: 632357  Size: CH

Object Number: 646396  Size: CH

Connector Part Information

    • 15326829
    • 6-Way F 150 Series Sealed (BK)

Connector Part Information

    • 15326833
    • 6-Way M GT 150 Series Sealed 4.0 (BK)

Pin

Wire Color

Circuit No.

Function

Pin

Wire Color

Circuit No.

Function

A

D-BU

2374

Object Sensor Supply Voltage

A

D-BU

2374

Object Sensor Supply Voltage

B

YE

2375

LR Corner Object Sensor Signal

B

YE

2375

LR Corner Object Sensor Signal

C

GY

2379

Object Sensor Low Reference

C

GY

2379

Object Sensor Low Reference

D

OG

2376

LR Middle Object Sensor Signal

D

OG

2376

LR Middle Object Sensor Signal

E

D-GN

2377

RR Middle Object Sensor Signal

E

D-GN

2377

RR Middle Object Sensor Signal

F

RD

2378

RR Corner Object Sensor Signal

F

RD

2378

RR Corner Object Sensor Signal

C410 Right Rear Lamp Harness to Chassis Harness (VD1)


Object Number: 635009  Size: CH

Object Number: 333041  Size: CH

Connector Part Information

    • 12052641
    • 2-Way F Metri-Pack 150 Series Sealed (BK)

Connector Part Information

    • 12162000
    • 2-Way M Metri-Pack 150 Series Sealed (BK)

Pin

Wire Color

Circuit No.

Function

Pin

Wire Color

Circuit No.

Function

A

RD

122

Rear Fog Lamps Supply Voltage

A

RD

122

Rear Fog Lamps Supply Voltage

B

BK

2250

Ground

B

BK

2250

Ground

C411 Left Rear Lamp Harness to Chassis Harness (VD1)


Object Number: 635009  Size: CH

Object Number: 333041  Size: CH

Connector Part Information

    • 12052641
    • 2-Way F Metri-Pack 150 Series Sealed (BK)

Connector Part Information

    • 12162000
    • 2-Way M Metri-Pack 150 Series Sealed (BK)

Pin

Wire Color

Circuit No.

Function

Pin

Wire Color

Circuit No.

Function

A

RD

122

Rear Fog Lamps Supply Voltage

A

RD

122

Rear Fog Lamps Supply Voltage

B

BK

2250

Ground

B

BK

2250

Ground

C450 Chassis Harness to Body Harness (Z55)


Object Number: 646433  Size: CH

Object Number: 655777  Size: CH

Connector Part Information

    • 15336418
    • 38-Way F GT 150 280 Series Sealed 4.0 5.2 (BK)

Connector Part Information

    • 15317380
    • 38-Way M GT 150 280 Series Sealed 4.0 5.2 (BK)

Pin

Wire Color

Circuit No.

Function

Pin

Wire Color

Circuit No.

Function

A1

PU/WH

1205

Left Front Position Sensor 5-Volt Reference

A1

PU/WH

1205

Left Front Position Sensor 5-Volt Reference

A2

TN/WH

1207

Left Front Strut Position Sensor Signal

A2

TN/WH

1207

Left Front Strut Position Sensor Signal

A3

L-BU/BK

1206

Left Front Strut Position Sensor Low Reference

A3

L-BU/BK

1206

Left Front Strut Position Sensor Low Reference

A4

D-BU

2374

Object Sensor Supply Voltage (Escalade EXT)

A4

D-BU

2374

Object Sensor Supply Voltage (Escalade EXT)

A5

YE

2375

LR Corner Object Sensor Signal (Escalade EXT)

A5

YE

2375

LR Corner Object Sensor Signal (Escalade EXT)

A6

TN

2252

Real Time Damping Compressor Pressure Sensor Signal (1500 w/Z55)

A6

TN

2252

Real Time Damping Compressor Pressure Sensor Signal (1500 w/Z55)

A7

D-BU/WH

1107

Real Time Damping Damper Servo Feed - LF (Z55)

A7

D-BU/WH

1107

Real Time Damping Damper Servo Feed - LF (Z55)

A8

GY

1113

Real Time Damping Damper Servo Output - LF (Z55)

A8

GY

1113

Real Time Damping Damper Servo Output - LF (Z55)

B1

GY

416

5-Volt Reference (1500 w/Z55)

B1

GY

416

5-Volt Reference (1500 w/Z55)

B2

BK

407

Low Reference (1500 w/Z55)

B2

BK

407

Low Reference (1500 w/Z55)

B3

RD/BK

1208

Left Rear Strut Position Sensor 5-Volt Reference (Z55)

B3

RD/BK

1208

Left Rear Strut Position Sensor 5-Volt Reference (Z55)

B4

L-GN/WH

1210

Left Rear Strut Position Sensor Signal (Z55)

B4

L-GN/WH

1210

Left Rear Strut Position Sensor Signal (Z55)

B5

L-GN/BK

1209

Left Rear Strut Position Sensor Low Reference (Z55)

B5

L-GN/BK

1209

Left Rear Strut Position Sensor Low Reference (Z55)

B6

OG

2440

Battery Positive Voltage (Z55)

B6

OG

2440

Battery Positive Voltage (Z55)

B7

D-BU

2379

Object Sensor Low Reference (Escalade EXT)

B7

D-BU

2379

Object Sensor Low Reference (Escalade EXT)

B8

D-BU/WH

1114

Left Rear Damping Servo Supply Voltage (Z55)

B8

D-BU/WH

1114

Left Rear Damping Servo Supply Voltage (Z55)

B9

D-GN

1115

Left Rear Damping Servo Control (Z55)

B9

D-GN

1115

Left Rear Damping Servo Control (Z55)

B10

L-BU

2248

Real Time Damping Compressor Power Signal (1500 w/Z55)

B10

L-BU

2248

Real Time Damping Compressor Power Signal (1500 w/Z55)

B11

OG

2376

LR Middle Object Sensor Signal (Escalade EXT)

B11

OG

2376

LR Middle Object Sensor Signal (Escalade EXT)

B12

D-GN

2377

RR Middle Object Sensor Signal (Escalade EXT)

B12

D-GN

2377

RR Middle Object Sensor Signal (Escalade EXT)

C1-C2

--

--

Not Used

C1-C2

--

--

Not Used

C3

PU/WH

1211

Right Front Strut Position Sensor 5-Volt Reference (Z55)

C3

PU/WH

1211

Right Front Strut Position Sensor 5-Volt Reference (Z55)

C4

TN/WH

1213

Right Front Strut Position Sensor Signal (Z55)

C4

TN/WH

1213

Right Front Strut Position Sensor Signal (Z55)

C5

L-BU/BK

1212

Right Front Strut Position Sensor Low Reference (Z55)

C5

L-BU/BK

1212

Right Front Strut Position Sensor Low Reference (Z55)

C6

--

--

Not Used

C6

--

--

Not Used

C7

RD

2378

RR Corner Object Sensor Signal (Escalade EXT)

C7

RD

2378

RR Corner Object Sensor Signal (Escalade EXT)

C8

L-BU/WH

1116

Right Front Damping Servo Supply Voltage (Z55)

C8

L-BU/WH

1116

Right Front Damping Servo Supply Voltage (Z55)

C9

GY

1117

Right Front Damping Servo Control (Z55)

C9

GY

1117

Right Front Damping Servo Control (Z55)

C10

D-BU

2249

Real Time Damping Compressor Exhaust Signal (1500 w/Z55)

C10

D-BU

2249

Real Time Damping Compressor Exhaust Signal (1500 w/Z55)

C11

BN

541

Ignition 3 Voltage (1500 w/Z55)

C11

BN

541

Ignition 3 Voltage (1500 w/Z55)

C12

--

--

Not Used

C12

--

--

Not Used

D1

RD/BK

1214

Right Rear Strut Position Sensor 5-Volt Reference

D1

RD/BK

1214

Right Rear Strut Position Sensor 5-Volt Reference

D2

L-GN/WH

1216

Right Rear Strut Position Sensor Signal (Z55)

D2

L-GN/WH

1216

Right Rear Strut Position Sensor Signal (Z55)

D3

L-GN/BK

1215

Right Rear Strut Position Sensor Low Reference (Z55)

D3

L-GN/BK

1215

Right Rear Strut Position Sensor Low Reference (Z55)

D4-D6

--

--

Not Used

D4-D6

--

--

Not Used

D7

D-BU/WH

1118

Right Rear Damping Servo Supply Voltage (Z55)

D7

D-BU/WH

1118

Right Rear Damping Servo Supply Voltage (Z55)

D8

D-GN

1119

Right Rear Damping Servo Control (Z55)

D8

D-GN

1119

Right Rear Damping Servo Control (Z55)

C499 Body Harness to Endgate Extension Harness (Except Avalanche/Escalade EXT)


Object Number: 697017  Size: CH

Object Number: 524416  Size: CH

Connector Part Information

    • 15355586
    • 12-Way F GT 280 Series (GY)

Connector Part Information

    • 15326018
    • 12-Way M GT 280 Series (GY)

Pin

Wire Color

Circuit No.

Function

Pin

Wire Color

Circuit No.

Function

A

PK/BK

1303

Liftgate Ajar Switch Signal

A

PK/BK

1303

Liftgate Ajar Switch Signal

B

BK

1450

Ground

B

BK

1450

Ground

C

L-GN

265

Passenger Door Key Switch Signal

C

L-GN

262

Passenger Door Key Switch Signal

D

PU

293

Rear Defog Element Supply Voltage

D

PU

1093

Rear Defog Element Supply Voltage

E

TN

294

Door Lock Actuator Unlock Control

E

TN

294

Door Lock Actuator Unlock Control

F

GY

295

Door Lock Actuator Lock Control

F

GY

295

Door Lock Actuator Lock Control

G-H

--

--

Not Used

G-H

--

--

Not Used

J

D-GN

392

Rear Window Washer Pump Control

J

D-GN

392

Rear Window Washer Pump Control

K

GY

391

Rear Window Wiper Switch Signal

K

GY

391

Rear Window Wiper Switch Signal

L

--

--

Not Used

L

--

--

Not Used

M

OG

2040

Battery Positive Voltage

M

OG

2040

Battery Positive Voltage

C900 Endgate Harness to Endgate Extension Harness (Except Avalanche/Escalade EXT)


Object Number: 68737  Size: CH

Object Number: 130696  Size: CH

Connector Part Information

    • 12129489
    • 3-Way F Metri-Pack 280 Series Flexlock (BK)

Connector Part Information

    • 12129490
    • 3-Way M Metri-Pack 280 Series (BK)

Pin

Wire Color

Circuit No.

Function

Pin

Wire Color

Circuit No.

Function

A

PU

293

Rear Defog Element Supply Voltage

A

PU

293

Rear Defog Element Supply Voltage

B

BK

1450

Ground

B

BK

1450

Ground

C

OG

2040

Battery Positive Voltage

C

OG

2040

Battery Positive Voltage

C901 Endgate Extension Harness to Endgate (Except Avalanche/Escalade EXT)


Object Number: 62439  Size: CH

Object Number: 62434  Size: CH

Connector Part Information

    • 12047886
    • 8-Way F Metri-Pack 150 Series (BK)

Connector Part Information

    • 12045688
    • 8-Way M Metri-Pack 150 Series (BK)

Pin

Wire Color

Circuit No.

Function

Pin

Wire Color

Circuit No.

Function

A

PK/BK

1303

Liftgate Ajar Switch Signal

A

PK/BK

1303

Liftgate Ajar Switch Signal

B

L-GN

265

Passenger Door Key Switch Signal

B

L-GN

265

Passenger Door Key Switch Signal

C

TN

294

Door Lock Actuator Unlock Control

C

TN

294

Door Lock Actuator Unlock Control

D

GY

295

Door Lock Actuator Lock Control

D

GY

295

Door Lock Actuator Lock Control

E

D-GN

392

Rear Window Washer Pump Control

E

D-GN

392

Rear Window Washer Pump Control

F

GY

391

Rear Window Wiper Switch Signal

F

GY

391

Rear Window Wiper Switch Signal

G-H

--

--

Not Used

G-H

--

--

Not Used