GM Service Manual Online
For 1990-2009 cars only

Tools Required

J 22610 Keystone Clamp Pliers

Removal Procedure

    Notice: When lifting the vehicle do not allow the jack to touch the rear steering gear. If the jack touches the rear steering gear you may damage the gear or the rack and pinion boots. If the boots are damaged replace the rack and pinion boot.

  1. Raise the vehicle. Refer to Lifting and Jacking the Vehicle in General Information.
  2. Remove the outer tie rod from the vehicle. Refer to Rear Wheel Steering Linkage Outer Tie Rod Replacement .

  3. Object Number: 297360  Size: SH
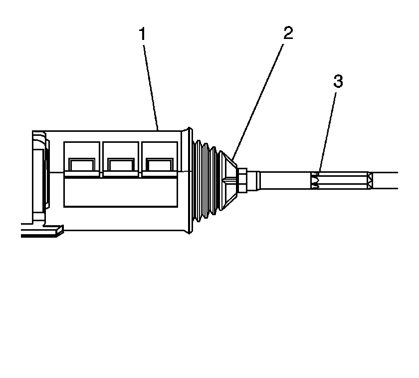
  4. Remove the tie rod jam nut (2) from the inner tie rod.

  5. Object Number: 907122  Size: SH
  6. Remove the rack and pinion boot protector (1) from the rack and pinion boot (2), if equipped.

  7. Object Number: 792875  Size: SH
  8. Remove the outer clamp (1) retaining the boot (2) to the steering gear.

  9. Object Number: 742202  Size: SH
  10. Remove the inner clamp (1) retaining the boot to the steering gear.
  11. Important: Check the boot for damage by using a light and flexing the boot to inspect for wear. If the boot is damaged replace the steering gear actuator. Refer to Steering Gear Actuator and Cover Replacement .

  12. Remove the boot from the steering gear.

Installation Procedure


    Object Number: 792874  Size: SH

    Important: Make sure the rack and pinion boot is seated in the groove (2) on the steering gear actuator.

  1. Install the boot to the steering gear.

  2. Object Number: 792875  Size: SH
  3. Install the outer clamp (1) retaining the boot (2) to the steering gear.
  4. Install the inner clamp (3) retaining the boot (2) to the steering gear.

  5. Object Number: 744259  Size: SH
  6. Using the J 22610 , crimp the retaining clamp (1) to the steering gear.

  7. Object Number: 907122  Size: SH
  8. Install the rack and pinion boot protector (1) to the rack and pinion boot (2), if equipped.

  9. Object Number: 297360  Size: SH
  10. Install the tie rod jam nut (2) to the inner tie rod.
  11. Install the outer tie rod. Refer to Rear Wheel Steering Linkage Outer Tie Rod Replacement .
  12. Perform a four wheel alignment. Refer to Wheel Alignment Measurement .