GM Service Manual Online
For 1990-2009 cars only

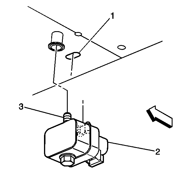
Removal Procedure

    Caution: Do not strike or jolt the inflatable restraint front end sensor. Before applying power to the front end sensor make sure that it is securely fastened. Failure to observe the correct installation procedure could cause SIR deployment, personal injury, or unnecessary SIR system repairs.

  1. Disable the SIR system. Refer to SIR Disabling and Enabling .

  2. Object Number: 859932  Size: SH
  3. Remove the connector position assurance (CPA) from the connector.
  4. Disconnect the electrical connector.
  5. Remove the sensor bolt.
  6. Remove the sensor (2) from the vehicle.

Installation Procedure

  1. Remove any dirt, grease, or other contaminants from the mounting surface (1).
  2. Important: Refer to SIR Disabling and Enabling .

  3. Point the arrow on the sensor toward the front of the vehicle.
  4. Notice: Refer to Fastener Notice in the Preface section.


    Object Number: 859932  Size: SH
  5. Install the sensor (2) horizontally to the radiator support.
  6. Tighten
    Tighten the bolt to 9 N·m (79 lb in).

  7. Connect the electrical connector to the sensor (2).
  8. Install the CPA.
  9. Enable the SIR system. Refer to SIR Disabling and Enabling .