GM Service Manual Online
For 1990-2009 cars only

The jack and wheel blocks are located under a cover near the passenger side rear seat.

To remove the jack and wheel blocks, do the following:

    Rear Seat (Passenger's Side) Jack Cover


    Object Number: 805432  Size: B2
  1. Remove the jack cover by turning the two wing nuts one-quarter turn counterclockwise and pulling the jack cover off.

    1. Object Number: 1101395  Size: B4

      Wheel Blocks

      Knob

      Wing Nut

      Retaining Hook

      Jack

      Jack Head

      Mounting Bracket

  2. Release the jack (E) from the mounting bracket (G) by turning the knob (B) on the jack counterclockwise to lower the jack head (F) from the mounting bracket.
  3. Remove the wheel blocks (A) attached to the jack (E) by turning the wing nut (C) counterclockwise.
  4. Place the wheel blocks where needed as indicated in Changing a Flat Tire .

The tools for changing a flat tire are located in the passenger's side top-box storage unit.

To remove the tools, do the following:

  1. Open the top door on the passenger's side top-box storage box. Use the ignition/door key to unlock it if it is locked. See Top-Box Storage for more information on the top-box storage unit.
  2. Top-Box Storage (Passenger's Side)


    Object Number: 807155  Size: B3
  3. Remove the black pouch from the top-box.
  4. You now have all of the tools you will need to lower the spare tire and change a flat.

You will use the jack handle extensions and the wheel wrench to remove the underbody-mounted spare tire.


  1. Object Number: 805773  Size: B4

    Spare Tire (Valve Stem Pointed Down)

  2. Hoist Assembly

  3. Hoist Cable

  4. Tire Retainer

  5. Hoist Shaft

  6. Hoist End of Extension Tool

  7. Hoist Shaft Access Hole

  8. Wheel Wrench

  9. Jack Handle Extensions

  10. Spare Tire Lock (If Equipped)

To lower the spare tire, do the following:

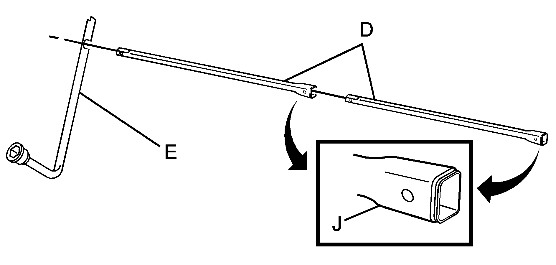
  1. Your vehicle may be equipped with a spare tire lock (J). Open the spare tire lock cover on the bumper and insert the ignition key, turn it clockwise and then pull it to remove the spare tire lock.

  2. Object Number: 1652643  Size: B2
  3. Assemble the wheel wrench (H) and the two jack handle extensions (I) as shown.

  4. Object Number: 1652648  Size: A2

    Insert the hoist end (open end) (F) of the extension through the hole (G) in the rear bumper.

  5. Be sure the hoist end of the extension connects to the hoist shaft (E). The ribbed square end of the extension is used to lower the spare tire.
  6. Turn the wheel wrench (H) counterclockwise to lower the spare tire to the ground. Continue to turn the wheel wrench until the spare tire can be pulled out from under the vehicle.
  7. If the spare tire does not lower to the ground, the secondary latch is engaged causing the tire not to lower. See Secondary Latch System .


    Object Number: 805763  Size: A2

    Pull the spare tire towards you. The wheel wrench has a hook that allows you to pull the hoist cable towards you to assist in reaching the spare tire.


    Object Number: 1613524  Size: A2

    Tilt the retainer at the end of the cable when the tire has been lowered, so it can be pulled up through the wheel opening.

  8. Put the spare tire near the flat tire.