GM Service Manual Online
For 1990-2009 cars only

Removal Procedure


    Object Number: 1401972  Size: SH
  1. Remove the seat cushion. Refer to Front Seat Cushion Frame Replacement .
  2. Disconnect the blower electrical connector.
  3. Cut the tie straps (1) securing the blower bracket to the seat cushion frame.
  4. Remove the blower and bracket assembly from the seat cushion.

  5. Object Number: 1401995  Size: SH

    Caution: Eye protection must be worn when drilling rivets to reduce the chance of personal injury.

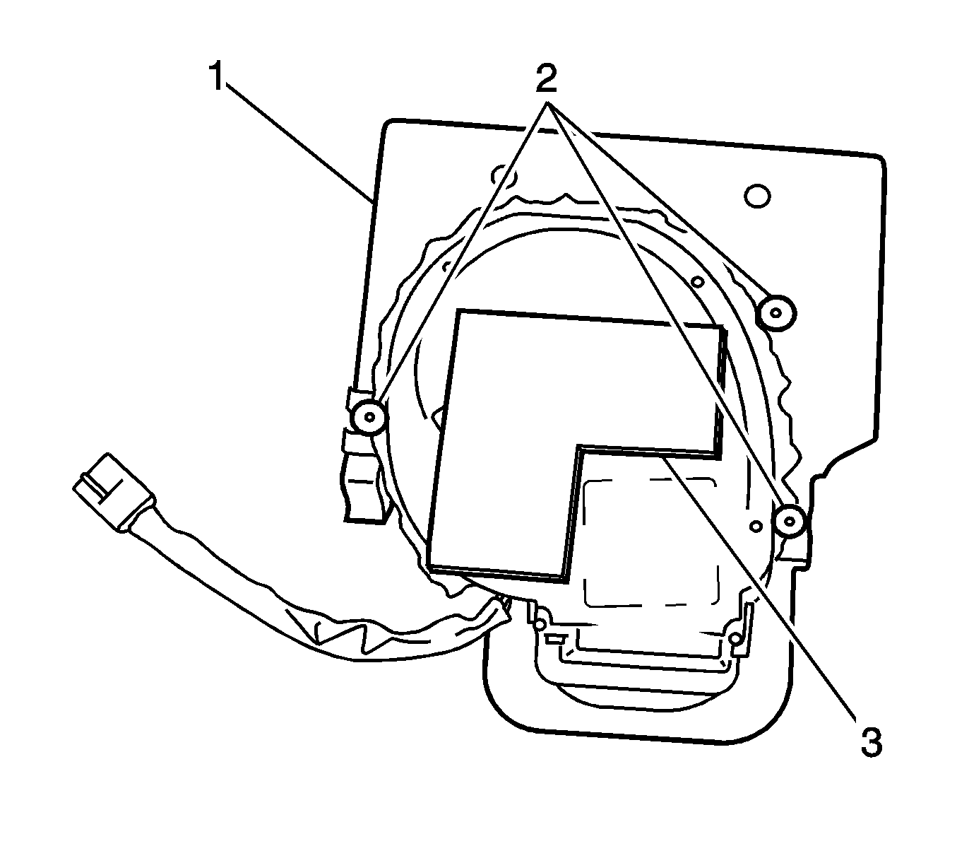
  6. Drill the rivets (2) retaining the blower (3) to the bracket (1).
  7. Remove the blower from the bracket.

Installation Procedure


    Object Number: 1401995  Size: SH
  1. Position the blower (3) to the bracket (1).
  2. Install rivets (2) to secure the blower to the bracket.

  3. Object Number: 1401972  Size: SH
  4. Align the blower and bracket assembly to the seat cushion frame.
  5. Secure the bracket to the frame using tie straps in the same position they were removed.
  6. Connect the blower electrical connector.
  7. Install the seat cushion. Refer to Front Seat Cushion Frame Replacement .