GM Service Manual Online
For 1990-2009 cars only
  1. Remove the bolt and the speedometer driven hole cover.

  2. Object Number: 946528  Size: SH
  3. Remove the nut, washer and control shift lever from the transaxle.
  4. Pry up the lock tab on the washer, then remove the retaining nut.
  5. Remove the 2 park neutral position (PNP) switch retaining bolts, then remove the switch from the transaxle.

  6. Object Number: 946537  Size: SH
  7. Remove the bolt and the input shaft turbine sensor from the transaxle case.

  8. Object Number: 946549  Size: SH
  9. Remove the breather plug, O-ring and hose from the transaxle case.
  10. Remove the breather plug.

  11. Object Number: 946552  Size: SH
  12. Remove the outlet oil cooler union from the transaxle.
  13. Remove the O-rings from the union.

  14. Object Number: 946556  Size: SH
  15. Remove the inlet oil cooler union from the transaxle.
  16. Remove the O-rings from the union.

  17. Object Number: 946562  Size: SH
  18. Remove the 4 transaxle case No.1 plugs from the transaxle housing and transaxle case.

  19. Object Number: 946576  Size: SH
  20. Remove the transaxle case No.1 plug from the transaxle cases.
  21. Remove the 5 O-rings from the transaxle case.

  22. Object Number: 946582  Size: SH

    Important: Do not turn the transaxle over to remove the oil pan as it will contaminate the valve body with foreign material within the oil pan.

  23. Place the transaxle on 2 blocks of wood.

  24. Object Number: 946588  Size: SH
  25. Remove the oil pan retaining bolts, then the oil pan.

  26. Object Number: 946599  Size: SH
  27. Remove the 3 oil filter retaining bolts, then the oil filter and gasket.

  28. Object Number: 946605  Size: SH
  29. Remove the O-ring from the oil filter.

  30. Object Number: 946612  Size: SH
  31. Disconnect the 5 solenoid connectors.
  32. Remove the bolt, lock plate and automatic transmission fluid (ATF) temperature sensor.

  33. Object Number: 946621  Size: SH
  34. Remove the 2 bolts, manual detent spring and spring cover.

  35. Object Number: 946625  Size: SH
  36. Remove the 13 valve body retaining bolts.
  37. Remove the valve body from the transaxle case.

  38. Object Number: 946633  Size: SH
  39. Remove the transaxle wiring harness retaining bolt.
  40. Remove the wiring harness from the transaxle case.
  41. Remove the O-ring from the harness connector.

  42. Object Number: 946639  Size: SH
  43. Remove the transaxle case 2nd brake gasket.

  44. Object Number: 946646  Size: SH
  45. Remove the transaxle case gasket.

  46. Object Number: 946649  Size: SH
  47. Remove the brake drum gasket.

  48. Object Number: 946657  Size: SH
  49. Remove the check ball body and spring from the transaxle case.

  50. Object Number: 946667  Size: SH
  51. Cover the B-2 accumulator piston with a shop towel.
  52. Using compressed air at low pressure 392 kPa (57 psi) push out the C-3 accumulator piston from the transaxle case.
  53. Remove the accumulator spring from the transaxle case.

  54. Object Number: 946685  Size: SH
  55. Remove the 2 O-rings from the accumulator piston.

  56. Object Number: 946692  Size: SH
  57. Cover the C-3 accumulator piston with a shop towel.
  58. Using compressed air at low pressure 392 kPa (57 psi) push out the C-3 accumulator piston from the transaxle case.
  59. Remove the accumulator spring from the transaxle case.

  60. Object Number: 946699  Size: SH
  61. Remove the 2 O-rings from the accumulator piston.

  62. Object Number: 946704  Size: SH
  63. Cover the C-2 accumulator piston with a shop towel.
  64. Using compressed air at low pressure 392 kPa (57 psi) push out the C-2 accumulator piston from the transaxle case.
  65. Remove the accumulator spring from the transaxle case.

  66. Object Number: 946708  Size: SH
  67. Remove the 2 O-rings from the accumulator piston.

  68. Object Number: 946719  Size: SH
  69. Remove the 14 bolts.
  70. Important: Remove the transaxle housing slowly so the differential gear does not drop out of the transaxle case.

  71. Tap around the transaxle housing with a soft faced hammer to remove the transaxle housing from the transaxle case.

  72. Object Number: 946729  Size: SH
  73. Remove the 2 bolts and transaxle housing oil separator from the transaxle housing.

  74. Object Number: 946797  Size: SH
  75. Remove the retaining bolt.
  76. Remove the bearing lock plate from the transaxle case.

  77. Object Number: 946800  Size: SH
  78. Remove the bolt and differential gear lube apply tube from the transaxle housing.

  79. Object Number: 946807  Size: SH
  80. Using a bearing puller, remove the front drive pinion roller bearing from the transaxle housing.

  81. Object Number: 946810  Size: SH

    Important: If the end play is not within 0.37-1.29 mm (0.0146-0.0508 in), replace the thrust roller bearing.

  82. Using a dial indicator, measure the end play of the input shaft.

  83. Object Number: 946811  Size: SH
  84. Remove the 7 oil pump assembly retaining bolts.
  85. Remove the oil pump assembly from the transaxle case.

  86. Object Number: 946812  Size: SH
  87. Remove the differential gear assembly from the transaxle case.

  88. Object Number: 946813  Size: SH
  89. Using a screwdriver, remove the 2 O/D brake gaskets from the transaxle case.

  90. Object Number: 946814  Size: SH
  91. Remove the input shaft assembly from the transaxle.

  92. Object Number: 946815  Size: SH
  93. Remove the stator shaft thrust roller bearing from the input shaft assembly.

  94. Object Number: 946838  Size: SH
  95. Remove the forward clutch hub thrust roller bearing from the forward clutch hub.

  96. Object Number: 946846  Size: SH
  97. Remove the forward clutch hub sub-assembly from the transaxle case.

  98. Object Number: 946850  Size: SH
  99. Remove the 11 transaxle rear cover retaining bolts.
  100. Tap on the circumference of the transaxle cover with a soft faced hammer to remove the transaxle rear cover from the transaxle case.

  101. Object Number: 946857  Size: SH
  102. Remove the 4 transaxle case gaskets.

  103. Object Number: 946864  Size: SH
  104. Using a magnet, remove the rear clutch drum thrust roller bearing.

  105. Object Number: 946871  Size: SH
  106. Remove the intermediate shaft assembly from the transaxle case.

  107. Object Number: 946911  Size: SH
  108. Remove the 2nd coast and overdrive brake flange, two 2nd coast and overdrive brake discs and two 2nd coast and overdrive brake flanges from the transaxle.

  109. Object Number: 946917  Size: SH
  110. Check the 2nd coast and overdrive brake discs, plates and flanges. If the sliding surfaces of the discs, plates and flanges are worn or discolored, replace all the discs, plates and flanges.

  111. Object Number: 946923  Size: SH
  112. Using a magnet, remove the C-2 hub thrust bearing race, thrust roller bearing race from the direct clutch hub.

  113. Object Number: 946929  Size: SH
  114. Remove the direct clutch hub from the transaxle case.

  115. Object Number: 946938  Size: SH
  116. Using a magnet, remove the rear planetary sun gear No.2 thrust bearing from the rear planetary sun gear assembly.

  117. Object Number: 946942  Size: SH
  118. Remove the rear planetary sun gear assembly from the transaxle case.

  119. Object Number: 946948  Size: SH
  120. Remove the rear planetary sun gear thrust roller bearing and thrust washer No. 1 from the rear planetary sun gear.

  121. Object Number: 951793  Size: SH
  122. Hold the rear planetary sun gear (1) and turn the 1 way clutch. The 1 way clutch should turn freely clockwise (2) and should lock if turned counterclockwise (3).

  123. Object Number: 946958  Size: SH
  124. Remove the 1 way clutch assembly and planetary carrier thrust washer No. 2 from the rear planetary sun gear.

  125. Object Number: 946966  Size: SH
  126. Using a screwdriver, remove the 2nd coast and overdrive brake flange snap ring from the transaxle case.

  127. Object Number: 946974  Size: SH
  128. Using a screwdriver, remove the 2nd brake disc snap ring.
  129. Remove the flange, 3 discs and 3 plates from the transaxle case.

  130. Object Number: 946975  Size: SH
  131. Check the 2nd brake discs, plates and flanges. If the sliding surfaces of the discs, plates and flanges are worn or discolored, replace all the discs, plates and flanges.

  132. Object Number: 946978  Size: SH
  133. Remove the 2nd brake piston sleeve from the transaxle case.

  134. Object Number: 946984  Size: SH
  135. Install the 1 way clutch and thrust washer on the rear planetary sun gear.
  136. Hold the rear planetary sun gear and turn the 1 way clutch. The 1 way clutch should turn freely counterclockwise (1) and should lock counterclockwise (2).

  137. Object Number: 946988  Size: SH
  138. Using a screwdriver, remove the rear planetary gear assembly snap ring.
  139. Remove the rear planetary gear assembly from the transaxle case.

  140. Object Number: 946999  Size: SH
  141. Remove the rear planetary gear rear thrust roller bearing and 2 bearing races from the rear planetary gear assembly.

  142. Object Number: 947004  Size: SH
  143. Separate the 2nd brake cylinder, 1 way clutch and the planetary gear.

  144. Object Number: 947011  Size: SH
  145. Remove the retainer from the 1 way clutch No.2.

  146. Object Number: 947021  Size: SH
  147. Remove the front planetary sun gear and thrust roller bearing from the transaxle case.

  148. Object Number: 947034  Size: SH
  149. Using a screwdriver, remove the 1st and reverse brake disc snap ring.

  150. Object Number: 947036  Size: SH
  151. Check the 1st and reverse brake discs, plates and flange. If the sliding surfaces of the discs, plates and flanges are worn or discolored, replace all the discs, plates and flange.

  152. Object Number: 947038  Size: SH
  153. Using a press and a screwdriver, remove 1st and reverse return spring sub-assembly snap ring.
  154. Remove the 1st and reverse brake return spring sub-assembly from the transaxle case.

  155. Object Number: 947041  Size: SH
  156. Using vernier calipers, or an equivalent, measure the free length of the spring together with the spring seat. The free length should be 13.96 mm (0.5496 in). If the length is not as specified, replace the spring.
  157. Using compressed air at low pressure 392 kPa (57 psi) push out the 1st and reverse brake piston No.2 from the transaxle case.

  158. Object Number: 947053  Size: SH
  159. Remove the 2 O-rings from the 1st and reverse brake piston No.2.

  160. Object Number: 947059  Size: SH
  161. Engage the counter driven gear with the parking lock pawl.

  162. Object Number: 948897  Size: SH
  163. Using a punch and hammer, unstake the counter drive gear lock washer.

  164. Object Number: 948936  Size: SH
  165. Remove the counter drive gear nut and lock washer.

  166. Object Number: 948952  Size: SH
  167. Using a press, remove the planetary gear assembly.

  168. Object Number: 948961  Size: SH
  169. Install 2 M6 bolts 40-80 mm in length with a 1.0 mm thread pitch into the counter drive gear.
  170. Tighten the bolts to remove the counter drive gear and front planetary sun gear.
  171. Remove the 2 radial ball bearings from the counter drive gear and front planetary sun gear.

  172. Object Number: 948972  Size: SH
  173. Remove the 3 parking lock pawl bracket retaining bolts.
  174. Remove the bracket and cam guide sleeve.

  175. Object Number: 948983  Size: SH
  176. Remove the manual valve lever shaft retainer spring.

  177. Object Number: 948992  Size: SH
  178. Using a screwdriver, unstake and remove the spacer.

  179. Object Number: 949002  Size: SH
  180. Using a pin punch and hammer, drive out the retaining pin.
  181. Remove the manual valve lever shaft and manual valve lever sub-assembly.

  182. Object Number: 949014  Size: SH
  183. Remove the parking lock rod sub-assembly from the manual valve lever.

  184. Object Number: 949026  Size: SH
  185. Remove the manual valve lever shaft from the transaxle case.

  186. Object Number: 949033  Size: SH
  187. Using a screwdriver, remove the parking lock pawl shaft.
  188. Remove the parking lock pawl torsion spring and parking lock pawl.

  189. Object Number: 949039  Size: SH
  190. Remove the counter driven gear, front drive pinion and thrust roller bearing from the transaxle case.

  191. Object Number: 949046  Size: SH
  192. Using a brass bar and hammer, remove the differential drive pinion plug.

  193. Object Number: 949080  Size: SH
  194. Using a press, remove the counter driven gear from the differential drive pinion.

  195. Object Number: 949096  Size: SH
  196. Using a screwdriver, remove the manual valve lever shaft oil seal.

  197. Object Number: 949104  Size: SH
  198. Using a bearing puller and slide hammer, remove the 2 right side counter drive gear bearing inner races from the transaxle case.
  199. Using a bearing puller and slide hammer, remove the left side counter drive gear bearing outer race from the transaxle case.

  200. Object Number: 949125  Size: SH
  201. Using a bearing puller and slide hammer, remove the counter drive gear bearing rear outer race from the transaxle case.

  202. Object Number: 949136  Size: SH
  203. Using a screwdriver, remove the counter drive gear hole snap ring from the transaxle case.
  204. Remove the remaining oil seals from the transaxle case.

  205. Object Number: 949197  Size: SH
  206. Using a seal driver and hammer, install a new transaxle case oil seal. Oil seal installation depth is 3.5-4.5 mm (0.086-0.126 in).

  207. Object Number: 949204  Size: SH
  208. Using a seal driver and hammer, install a new front transaxle case oil seal. Oil seal installation depth is 2.2-3.2  mm (0.138-0.178 in).

  209. Object Number: 949210  Size: SH
  210. Using a bearing driver and hammer, install the front drive pinion rear tapered roller bearing into the transaxle case.

  211. Object Number: 949216  Size: SH
  212. Using a screwdriver, install the counter drive gear hole snap ring in the transaxle case.

  213. Object Number: 949220  Size: SH
  214. Using a bearing driver and hammer, install the counter drive gear left side bearing outer race in the transaxle case.

  215. Object Number: 949227  Size: SH
  216. Using a bearing driver and hammer, install the right counter drive gear bearing outer race in the transaxle case.

  217. Object Number: 949237  Size: SH
  218. Using a seal driver and hammer, install a new manual valve lever shaft oil seal flush with the transaxle case.

  219. Object Number: 949247  Size: SH

    Important: The differential drive pinion should be press fit until it comes in contact with the counter driven gear.

  220. Using a press, install the counter driven gear on the differential drive pinion.
  221. Important: The plug should be installed to a depth of 2.5-2.6 mm (0.0984-0.1023 in).

  222. Using a socket and soft faced hammer, install a new differential drive pinion plug in the differential drive pinion.

  223. Object Number: 949254  Size: SH
  224. Install the counter drive gear and drive pinion thrust bearing in the transaxle case.

  225. Object Number: 949263  Size: SH
  226. Apply T-IV automatic transmission fluid to the parking lock pawl shaft.
  227. Install the parking lock pawl, torsion spring and shaft in the transaxle case.

  228. Object Number: 949267  Size: SH
  229. Install the manual valve lever shaft in the transaxle case.

  230. Object Number: 949273  Size: SH
  231. Install the parking lock rod sub-assembly to the manual valve lever.
  232. Apply T-IV automatic transmission fluid to the manual valve lever sub-assembly shaft.
  233. Install the manual valve lever and a new manual valve lever spacer on the manual valve lever shaft.

  234. Object Number: 949281  Size: SH
  235. Using a pin punch and hammer, install the pin.
  236. Turn the spacer and manual valve lever shaft to align the small hole to locate the staking position in the spacer with the staking position mark on the manual valve lever shaft.
  237. Using a pin punch, stake the spacer through the small hole.
  238. Ensure that the spacer does not turn freely.

  239. Object Number: 949289  Size: SH
  240. Install the manual valve lever shaft retaining spring.
  241. Notice: Refer to Fastener Notice in the Preface section.


    Object Number: 949296  Size: SH
  242. Install the cam guide sleeve, parking lock pawl bracket and the 3 retaining bolts.
  243. Tighten
    Tighten the bolts to 20 N·m (15 lb ft).


    Object Number: 949299  Size: SH
  244. Using a press, install the counter drive gear to the transaxle case.

  245. Object Number: 949304  Size: SH
  246. Using a press, install the planetary gear assembly to the transaxle case.

  247. Object Number: 949307  Size: SH
  248. Engage the counter driven gear with the parking lock pawl.

  249. Object Number: 949315  Size: SH
  250. Install a new lock washer and nut.
  251. Tighten
    Tighten the nut to 280 N·m (207 lb ft).


    Object Number: 949318  Size: SH
  252. While turning the counter drive gear, measure the rotating torque.
  253. Rotating Torque
    Rotating torque should be 0.20-0.49 N·m (2-4 lb in).


    Object Number: 949323  Size: SH
  254. Using a punch and hammer, stake the lock washer.

  255. Object Number: 949326  Size: SH
  256. Install 2 new O-rings on the 1st and reverse brake piston No.2.

  257. Object Number: 949333  Size: SH
  258. Install the 1st and reverse brake piston in the transaxle case.

  259. Object Number: 949339  Size: SH
  260. Install the 1st and reverse brake return spring sub-assembly into the transaxle.
  261. Using a press and a screwdriver, install the snap ring.

  262. Object Number: 949343  Size: SH
  263. Install the 4 1st and reverse brake plates  (3), 4 brakes discs  (1) and the flange  (2) in the order shown into the transaxle case.
  264. Using a screwdriver, install the snap ring.

  265. Object Number: 949347  Size: SH

    Important: While applying 392 kPa (57 psi) of compressed air, measure the pack clearance. The pack clearance should be within 0.806-1.206 mm (0.0317-0.0475 in). If the pack clearance is not as specified, install a new flange.

    There are 4 thicknesses available, 3.4 mm (0.134 in), 3.6 mm (0.142 in), 3.8 mm (0.150 in), 4.0 mm (0.157 in).

  266. Using a dial indicator, measure the pack clearance using compressed air.

  267. Object Number: 949375  Size: SH
  268. Install the front planetary sun gear and roller bearing on the planetary gear assembly.

  269. Object Number: 949378  Size: SH
  270. Install the outer race retainer to the 1 way clutch No.2.

  271. Object Number: 949385  Size: SH
  272. Install the 1 way clutch No. 2 and the 2nd brake piston assembly to the rear planetary gear assembly.

  273. Object Number: 949387  Size: SH
  274. Install the thrust bearing race No.2, planetary gear rear needle roller bearing and the thrust bearing race No.1 to the rear planetary gear assembly.

  275. Object Number: 949390  Size: SH
  276. Install the rear planetary gear assembly in the transaxle case.
  277. Important: Align the oil hole (1) of the 2nd brake piston assembly with the oil hole (1) in the transaxle case, then install the assembly into the transaxle case.

  278. Using a screwdriver, install the snap ring.

  279. Object Number: 949392  Size: SH
  280. Check that the rear planetary gear assembly turns freely counterclockwise (1) and locks clockwise (2).

  281. Object Number: 951763  Size: SH
  282. Install the 2nd brake piston sleeve in the transaxle case.

  283. Object Number: 951767  Size: SH
  284. Install the 3 2nd brake discs (1), 3 2nd brake plates (3) and the flange (2) in the order shown into the transaxle case.
  285. Using a screwdriver, install the snap ring into the transaxle case.

  286. Object Number: 951770  Size: SH

    Important: While applying 392 kPa (57 psi) of compressed air, measure the pack clearance. The pack clearance should be within 0.847-1.247 mm (0.0333-0.0491 in). If the pack clearance is not as specified, install a new flange.

    There are 4 thicknesses available, 3.0 mm (0.118 in), 3.2 mm (0.126 in), 3.4 mm (0.134 in), 3.6 mm (0.142 in).

  287. Using a dial indicator, measure the pack clearance of the 2nd brake using compressed air.

  288. Object Number: 951775  Size: SH
  289. Using a screwdriver, install the 2nd coast and overdrive brake flange hole snap ring into the transaxle case.

  290. Object Number: 951787  Size: SH
  291. Install the thrust washer No.2 on the rear planetary gear assembly.
  292. Install the 1 way clutch assembly on the rear planetary sun gear assembly.

  293. Object Number: 951793  Size: SH
  294. Hold the rear planetary sun gear (3) and turn the 1 way clutch assembly. The 1 way clutch assembly should turn freely clockwise (2) and should lock counterclockwise (1).

  295. Object Number: 951797  Size: SH
  296. Install the rear planetary sun gear thrust roller bearing and washer to the rear planetary sun gear.

  297. Object Number: 951805  Size: SH
  298. Install the rear planetary sun gear assembly.

  299. Object Number: 951814  Size: SH
  300. Install the rear planetary sun gear No.2 thrust bearing to the rear planetary sun gear.

  301. Object Number: 951830  Size: SH
  302. Install the direct clutch hub.

  303. Object Number: 951840  Size: SH
  304. Install the thrust bearing race No.3 thrust roller bearing and the hub thrust bearing race to the direct clutch hub.

  305. Object Number: 951848  Size: SH
  306. Install the 2 discs (1), 2 plates (3) and the flange (2) in the order shown into the transaxle case.

  307. Object Number: 951856  Size: SH
  308. Install the intermediate shaft assembly in the transaxle case.

  309. Object Number: 951868  Size: SH
  310. Place a straight edge on the transaxle case and measure the distance between the 2nd coast and O/D brake flange.
  311. Using vernier calipers, measure dimension (a).

  312. Object Number: 951888  Size: SH
  313. Place a straight edge on the O/D brake piston, then measure distance (b) between the transaxle rear cove and the straight edge, using vernier calipers.
  314. Calculate the piston stroke by subtracting distance (b) from distance (a) which will equal one of the following flange thicknesses: 4.0 mm (0.1575 in), 4.2 mm (0.1654 in), 4.4 mm (0.1732 in), 4.6 mm (0.1811 in).
  315. Using feeler gages, measure the pack clearance. The clearance should be 2.091-2.491 mm (0.0823-0.0981 in). If the clearance is not as specified, install a different thickness flange.

  316. Object Number: 951892  Size: SH
  317. Install the rear clutch drum thrust roller bearing to the intermediate shaft.

  318. Object Number: 951900  Size: SH
  319. Install the transaxle rear cover and 11 retaining bolts, to inspect the intermediate shaft assembly.
  320. Tighten
    Tighten the 11 bolts to 24.5 N·m (18 lb ft).


    Object Number: 951918  Size: SH
  321. Using a dial indicator, measure the endplay of the intermediate shaft. The endplay should be between 0.204-0.966 mm (0.008-0.038 in).
  322. Remove the 11 bolts and transaxle rear cover.

  323. Object Number: 951924  Size: SH
  324. Install the 4 new gaskets in the transaxle case.

  325. Object Number: 951934  Size: SH
  326. Apply RTV Silicone Sealant GM P/N 12346240 (Canadian P/N 10953493), or the equivalent, to the transaxle rear cover.

  327. Object Number: 951900  Size: SH
  328. Install the transaxle rear cover and 11 retaining bolts.
  329. Tighten
    Tighten the 11 bolts to 24.5 N·m (18 lb ft).


    Object Number: 951955  Size: SH
  330. Install the forward clutch hub sub-assembly into the transaxle case.

  331. Object Number: 952001  Size: SH
  332. Install the forward clutch hub thrust roller bearing to the forward clutch hub.

  333. Object Number: 952019  Size: SH
  334. Install the stator shaft thrust roller bearing to the input shaft assembly.

  335. Object Number: 952026  Size: SH
  336. Install the input shaft assembly in the transaxle case.

  337. Object Number: 952031  Size: SH
  338. Install 2 new overdrive brake gaskets in the transaxle case.

  339. Object Number: 952037  Size: SH
  340. Install the differential gear assembly in the transaxle case.

  341. Object Number: 952041  Size: SH
  342. Install the oil pump and the 7 retaining bolts.
  343. Tighten
    Tighten the bolts to 22 N·m (16 lb ft).


    Object Number: 952047  Size: SH
  344. Ensure that the input shaft turns smoothly.
  345. Using a dial indicator, measure the endplay in the axial direction. Endplay should be 0.37-1.29 mm (0.0146-0.0508 in). If the endplay is not as specified, replace the thrust roller bearing.
  346. Install the front drive pinion front tapered roller bearing in the transaxle housing.

  347. Object Number: 952053  Size: SH
  348. Using a press, install the cylindrical roller bearing into the transaxle case.

  349. Object Number: 946800  Size: SH
  350. Install the differential gear lube apply tube.

  351. Object Number: 952071  Size: SH
  352. Install the bearing lock plate and bolt in the transaxle case.
  353. Tighten
    Tighten the bolt to 11 N·m (8 lb ft).


    Object Number: 952077  Size: SH
  354. Install the transaxle housing oil separator and the 2 bolts in the transaxle case.
  355. Tighten
    Tighten the bolts to 10 N·m (7 lb ft).


    Object Number: 952082  Size: SH
  356. Apply RTV Silicone Sealant GM P/N 12346240 (Canadian P/N 10953493), or the equivalent, to the transaxle housing.

  357. Object Number: 952085  Size: SH
  358. Install the transaxle housing and 14 bolts to the transaxle case.
  359. Tighten

        • Tighten the bolts (1) to 29 N·m (21 lb ft).
        •  Tighten the bolts (2) to 22 N·m (16 lb ft).

    Object Number: 952087  Size: SH
  360. Apply T-IV automatic transmission fluid to the 2 new C2 accumulator O-rings, then install the O-rings.

  361. Object Number: 952090  Size: SH

    Important: Inspect the C2 accumulator piston spring. The free length is 66.90 mm (2.6339 in). The outer diameter is 17.20 mm (0.6772 in). If the spring is not as specified, replace the spring.

  362. Install the spring and the C2 accumulator piston into the transaxle case.

  363. Object Number: 952093  Size: SH
  364. Apply T-IV automatic transmission fluid to the 2 new C3 accumulator O-rings, then install the O-rings.

  365. Object Number: 952101  Size: SH

    Important: Inspect the C3 accumulator piston spring which is blue in color. The free length is 80.20 mm (3.1575 in). The outer diameter is 18.70 mm (0.7362 in). If the spring is not as specified, replace the spring.

  366. Install the spring and the C3 accumulator piston into the transaxle case.

  367. Object Number: 952105  Size: SH
  368. Apply T-IV automatic transmission fluid to the 2 new B2 accumulator O-rings, then install the O-rings.

  369. Object Number: 952112  Size: SH

    Important: Inspect the B2 accumulator piston spring which is green in color. The free length is 66.90 mm (2.6339 in). The outer diameter is 15.50 mm (0.6102 in). If the spring is not as specified, replace the spring.

  370. Install the spring and the B2 accumulator piston into the transaxle case.
  371. Install the spring and check ball body into the transaxle case.

  372. Object Number: 952116  Size: SH
  373. Install a new brake drum gasket into the transaxle case.

  374. Object Number: 952118  Size: SH
  375. Install a new transaxle case gasket into the transaxle case.

  376. Object Number: 952121  Size: SH
  377. Install a new transaxle case 2nd brake gasket into the transaxle case.

  378. Object Number: 952126  Size: SH
  379. Coat a new transmission wire connector O-ring with T-IV automatic transmission fluid, then install the O-ring.

  380. Object Number: 952132  Size: SH
  381. Install the transmission wiring harness into the transaxle case.

  382. Object Number: 952137  Size: SH
  383. Install the wiring harness retaining bolt.
  384. Tighten
    Tighten the bolt to 5.5 N·m (48 lb in).


    Object Number: 952140  Size: SH
  385. Install the valve body in the transaxle case.
  386. Install the valve body bolts.
  387. • Bolt (a) length is 32 mm (1.26 in)
    •  Bolt (b) length is 22 mm (0.87 in)
    •  Bolt (c) length is 55 mm (2.17 in)
    •  Bolt (d) length is 45 mm (1.77 in)

    Tighten
    Tighten the 13 bolts to 11 N·m (8 lb ft).


    Object Number: 952144  Size: SH
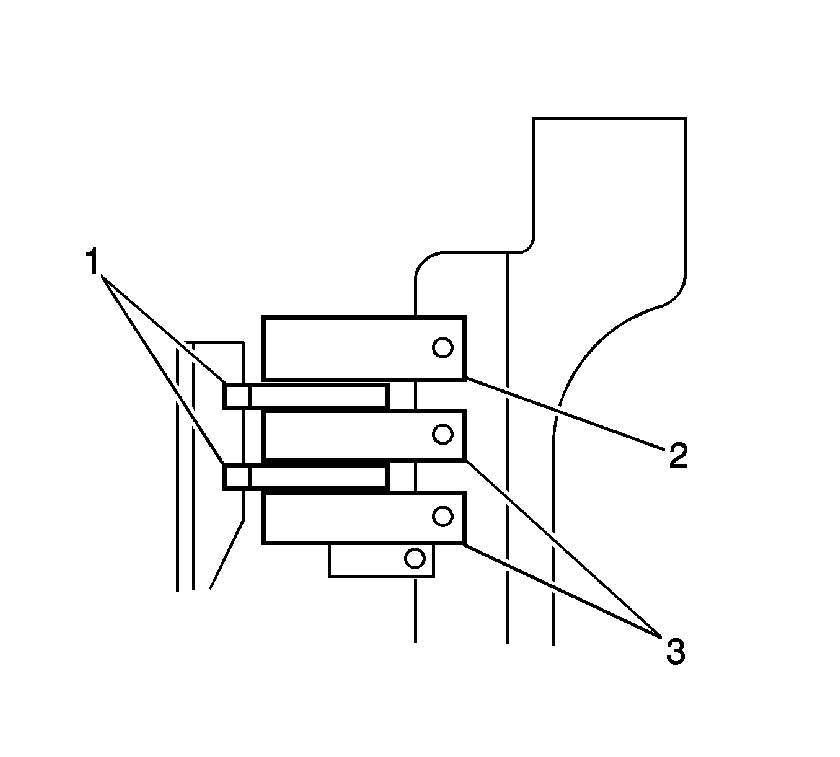
  388. Install the detent spring, spring cover.
  389. Install the detent spring bolts.
  390. • Bolt (a) length is 14 mm (0.55 in)
    • Bolt (b) length is 45 mm (1.77 in)

    Tighten
    Tighten the 2 bolts to 11 N·m (8 lb ft).


    Object Number: 952149  Size: SH
  391. Connect the 5 solenoid connectors.
  392. Coat the new ATF temperature sensor O-ring with T-IV automatic transmission fluid, then install the O-ring.
  393. Install the ATF sensor, lock plate and bolt.
  394. Tighten
    Tighten the bolt to 11 N·m (8 lb ft).


    Object Number: 952152  Size: SH
  395. Coat a new valve body oil filter O-ring with T-IV automatic transmission fluid, then install the O-ring.

  396. Object Number: 952155  Size: SH
  397. Install the valve body oil filter and 3 bolts.
  398. Tighten
    Tighten the bolts to 11 N·m (8 lb ft).

  399. Install a new oil pan gasket on the oil pan.

  400. Object Number: 952158  Size: SH
  401. Install the 2 magnets in the oil pan.

  402. Object Number: 952161  Size: SH
  403. Install the oil pan on the transaxle case.
  404. Install the 19 bolts.
  405. Tighten
    Tighten the bolts to 8 N·m (70 lb in).


    Object Number: 952170  Size: SH
  406. Coat the 4 O-rings for the transaxle case plugs with T-IV automatic transmission fluid, then install the O-rings to the case plugs.
  407. Install the case plugs into the transaxle case.
  408. Tighten
    Tighten the plugs to 7.4 N·m (65 lb in).


    Object Number: 952179  Size: SH
  409. Coat the O-ring for the oil cooler pipe inlet union with T-IV automatic transmission fluid, then install the O-ring to the union.
  410. Install the oil cooler pipe inlet union.
  411. Tighten
    Tighten the union to 27 N·m (20 lb ft).


    Object Number: 952189  Size: SH
  412. Coat the O-ring for the oil cooler pipe outlet union with T-IV automatic transmission fluid, then install the O-ring to the union.
  413. Install the oil cooler pipe outlet union.
  414. Tighten
    Tighten the union to 27 N·m (20 lb ft).

  415. Install the breather hose.

  416. Object Number: 952194  Size: SH
  417. Install the input turbine sensor and bolt in the transaxle case.
  418. Tighten
    Tighten the bolt to 5.4 N·m (48 lb in).


    Object Number: 952204  Size: SH
  419. Install the PNP switch on the manual valve lever shaft, then temporarily install the 2 adjusting bolts.
  420. Install a new lock washer and nut.
  421. Tighten
    Tighten the nut to 6.9 N·m (61 lb in).

  422. Temporarily install the control lever.

  423. Object Number: 952210  Size: SH
  424. Turn the lever counterclockwise until it stops, then turn it clockwise 2 notches.
  425. Remove the control lever.

  426. Object Number: 952217  Size: SH
  427. Align the groove with the neutral base line.
  428. Tighten the 2 PNP switch bolts.
  429. Tighten
    Tighten the bolts to 5.4 N·m (48 lb in).


    Object Number: 952224  Size: SH
  430. Using a screwdriver, stake the nut with the lock washer.

  431. Object Number: 952231  Size: SH
  432. Install the control lever, washer and nut.
  433. Tighten
    Tighten the nut to 13 N·m (10 lb ft).

  434. Install the speedometer drive hole cover and bolt on the transaxle case.
  435. Tighten
    Tighten the bolt to 7 N·m (62 lb in).