GM Service Manual Online
For 1990-2009 cars only

Tools Required

    • J 43771 Pump Bushing Removal and Installation Tool
    • J 8092 Universal Driver

    Object Number: 1217396  Size: SH
  1. Inspect the bushing for damage and wear. The bushing must not be damaged or worn.
  2. Measure the ID of the bushing. Replace the pump bushing if the ID exceeds specifications.
  3. Specification
    The bushing maximum ID is 58.458 mm (2.3015 in).


    Object Number: 1660840  Size: SH
  4. Remove all gears from the pump body (1).
  5. Important: The preferred method of removing or installing the bushing is with tool J 43771 and a press. If a press is not available use J 43771 and J 8092 .

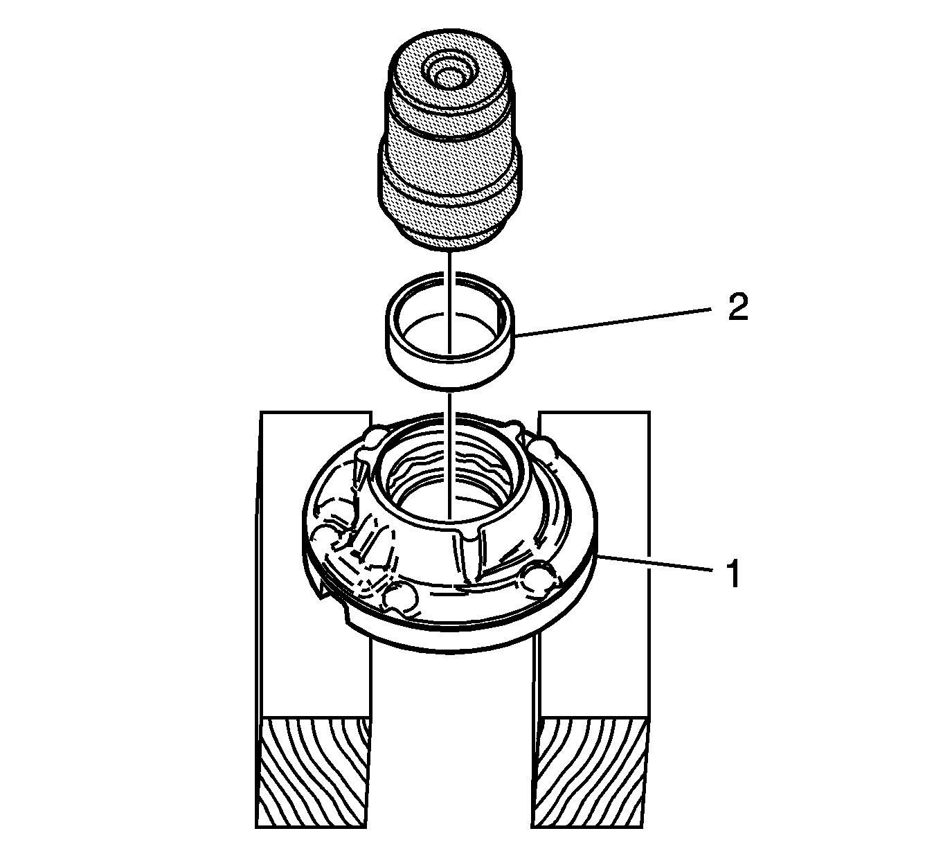
  6. Support the pump body (1), machined surface up, on 2 wooden blocks so that the bushing (2) can be removed from the back of the pump body.
  7. Install the longer end of J 43771 into the bushing.
  8. Press or drive the bushing (2) from the pump body (1).
  9. Clean the bushing bore of all residue. All of the parts must be dry before installing the bushing.

  10. Object Number: 1235286  Size: SH

    Important: The bushing may be orientated in any position, but the preferred orientation is with the bushing split joint aligned with the casting numbers and the centerline of the boss opposite the numbers. Position the split joint away from the boss.

  11. Support the pump body (1), machined surface down, on 2 wooden blocks.
  12. Install the bushing (2) onto the shorter end of J 43771 .
  13. Apply Loctite® #620, or equivalent, to the bushing bore.
  14. Using J 43771 , press or drive the bushing into the pump body until J 43771 seats.