GM Service Manual Online
For 1990-2009 cars only
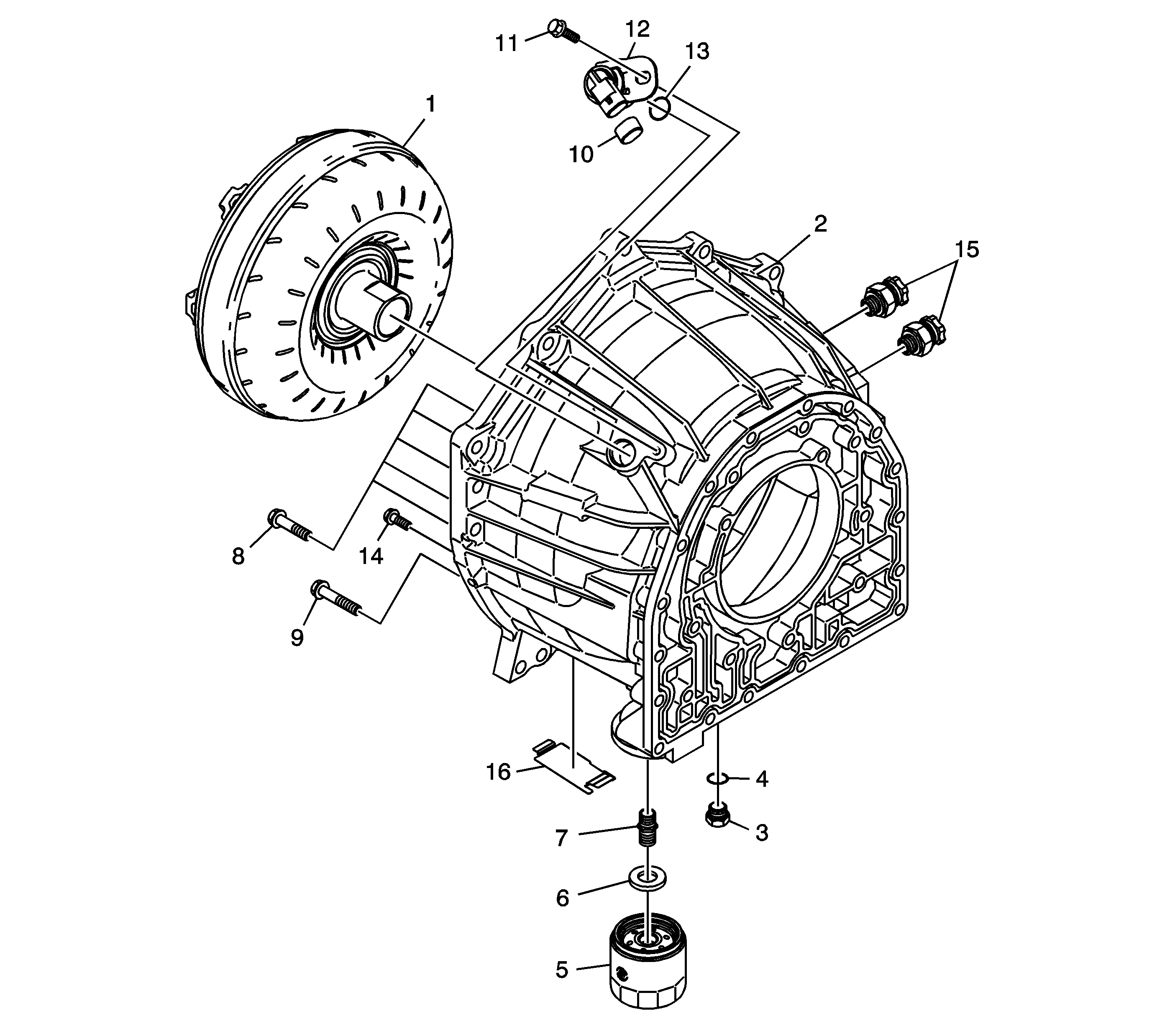
Figure 1:

Torque Converter Clutch/Converter Housing Assembly


Object Number: 1677518  Size: LF
(1)Torque Converter
(2)Torque Converter Housing
(3)Line Pressure Test Hole Plug
(4)Line Pressure Test Hole Plug O-ring
(5)Transmission External Oil Filter
(6)Transmission External Oil Filter Magnet
(7)Transmission External Oil Filter Adapter
(8)Torque Converter Housing Bolt, M10 x 1.5 x 50, Flanged Head (18)
(9)Torque Converter Housing Bolt, M10 x 1.5 x 70, Flanged Head (2)
(10)Sensor Shipping Cover
(11)Vehicle Speed Sensor Bolt
(12)Input Speed Sensor
(13)Vehicle Speed Sensor O-ring
(14)Torque Converter Housing Bolt, M10 x 1.5 x 25 (10)
(15)Transmission Oil Cooler Pipe Connector (2)
(16)Torque Converter Housing Access Hole Cover
Figure 2:

Torque Converter Housing, 1-2-3-4, 4-5-6 Clutch Assembly, and 3rd, 5th, and Reverse Clutch Components


Object Number: 1660817  Size: LF
(1)Torque Converter Housing/Oil Pump Cover Assembly
(2)Torque Converter Housing to Case Gasket
(3)1-2-3-4, 4-5-6 Clutch Assembly
(4)Input Sun Gear Thrust Bearing
(5)Internal Retaining Ring
(6)3rd, 5th, and Reverse Clutch Backing Plate
(7)3rd, 5th, and Reverse Clutch Fiber Plate (4)
(8)3rd, 5th, and Reverse Clutch Steel Plate (3)
(9)3rd, 5th, and Reverse Clutch Piston Return Spring Assembly (3)
(10)3rd, 5th, and Reverse Clutch Spring Plate
(11)3rd, 5th, and Reverse Clutch Piston Assembly (Bonded Seals)
Figure 3:

Torque Converter Housing/Oil Pump Cover Assembly


Object Number: 1217618  Size: LF
(1)Torque Converter Housing/Oil Pump Cover Assembly
(2)Torque Converter Housing Bolt, M10 x 1.5 x 50, Flanged Head (10)
(3)Torque Converter Housing Bolt Seal
(4)Torque Converter Housing
(5)Torque Converter Housing Gasket
(6)Oil Pump Cover Assembly
Figure 4:

Oil Pump Assembly


Object Number: 1646095  Size: LF
(1)Oil Pump Assembly
(2)Oil Pump O-Ring Seal
(3)Torque Converter Oil Seal
(4)Oil Pump Bushing
(5)Oil Pump Body
(6)Oil Pump Driven Gear
(7)Oil Pump Drive Gear
(8)Locating Pin
(8)Locating Pin
(9)Oil Pump Wear Plate
Figure 5:

Oil Pump Cover Assembly


Object Number: 1524360  Size: LF
(1)Oil Pump Cover Assembly
(2)Oil Pump Cover Assembly Bearing
(3)Oil Pump Cover
(4)Bushing, 33.8 mm (1.33 in) ID
(5)Stator Shaft
(6)Torque Converter Clutch Valve
(7)Torque Converter Clutch Valve Spring
(8)Torque Converter Clutch Valve Stop
(9)Torque Converter Clutch Valve Retainer
(10)Torque Converter Clutch Relief Valve
(11)Torque Converter Clutch Relief Valve Spring
(12)Torque Converter Clutch Relief Valve Retainer
(13)Oil Pump Lube Regulator Valve
(14)Oil Pump Lube Regulator Valve Spring
(15)Oil Pump Lube Regulator Valve Stop
(16)Oil Pump Lube Regulator Valve Stop Retainer
(17)1-2-3-4 Clutch Backfill Valve
(18)1-2-3-4 Clutch Backfill Valve Spring
(19)1-2-3-4 Clutch Backfill Valve Stop
(20)1-2-3-4 Clutch Backfill Valve Retainer
(21)Pressure Regulator Valve
(22)Pressure Regulator Valve Spring
(23)Pressure Regulator Valve Stop
(24)Pressure Regulator Spring Stop Retainer
Figure 6:

Oil Pump Cover/Oil Pump Assembly and Associated Parts


Object Number: 1423055  Size: LF
(1)Oil Pump Cover Module
(2)Oil Pump Assembly
(3)Torque Converter Housing to Case Channel Plate
(4)Seal Ring, End
(5)Seal Ring, Middle
(6)Oil Pump Cover Assembly
(7)Oil Pump Cover Assembly Bolt, M8 x 1.25 x 55, Flanged Head (5)
(8)Oil Pump Cover Assembly Thrust Washer
(9)Overlap Seal Ring (3)
Figure 7:

1-2-3-4-5-6 Clutch Assembly


Object Number: 1646096  Size: LF
(1)1-2-3-4-5-6 Clutch Assembly
(2)Seal Ring (2)
(3)Turbine Shaft Assembly
(4)Turbine Shaft
(5)Bushing, 20 mm (0.8 in) ID
(6)1-2-3-4-5-6 Clutch Piston Housing Assembly
(7)Power Take-Off (PTO) Gear
(8)Turbine Tone Wheel
(9)1-2-3-4-5-6 Clutch Housing Assembly
(10)1-2-3-4, 4-5-6 Clutch Bushing
(11)1-2-3-4, 4-5-6 Clutch Housing
(12)O-ring
(13)External Retaining Ring
(14)4-5-6 Clutch Piston Inner Seal
(15)4-5-6 Clutch Piston Outer Seal
(16)4-5-6 Clutch Piston
(17)4-5-6 Clutch Return Spring Assembly
(18)1-2-3-4 Clutch Piston Outer Seal
(19)1-2-3-4 Clutch Piston Housing
(20)4-5-6 Clutch Piston Return Spring Retainer
(21)1-2-3-4 Clutch Piston Inner Seal
(22)1-2-3-4 Clutch Piston Outer Seal
(23)1-2-3-4 Clutch Piston
(24)1-2-3-4 Clutch Piston Return Spring Assembly
(25)1-2-3-4 Clutch Balance Piston
(26)1-2-3-4 Clutch Hub Internal Retainer Ring
(27)1-2-3-4 Clutch Steel Plate (6)
(28)1-2-3-4 Clutch Fiber Plate (6)
(29)1-2-3-4 Clutch Selective Backing Plate 5.84-6.04 mm (0.2299-0.2378 in)
(30)1-2-3-4 Clutch Backing Plate External Retainer Ring
(31)1-2-3-4 Clutch Backing Plate Internal Retainer Ring
(32)1-2-3-4 Clutch Hub Thrust Bearing Assembly
(33)1-2-3-4 Clutch Hub
(34)4-5-6 Clutch Hub Thrust Bearing
(35)4-5-6 Clutch Steel Plate (7)
(36)4-5-6 Clutch Fiber Plate (6)
(37)4-5-6 Clutch Hub
(38)Input Sun Gear Thrust Washer
(39)Input Sun Gear
(40)Input Sun Gear Flange
(41)Input Sun Gear External Retaining Ring
Figure 8:

Torque Converter Housing/Automatic Transmission Case and Associated Components


Object Number: 1660818  Size: LF
(20)Torque Converter Housing
(50)Transmission Case
(70)Transmission Fill Tube Plug
(71)Transmission Fill Tube Seal (2)
(72)Transmission Internal Oil Filter Seal
(73)Transmission Internal Oil Filter
(74)Transmission Oil Pan Gasket
(75)Transmission Oil Pan Magnet
(76)Transmission Oil Pan
(77)Transmission Oil Pan Drain Plug O-ring
(78)Transmission Oil Pan Drain Plug
(79)Transmission Oil Pan Bolt, M8 x 1.25 x 20 Flanged Head
(81)Low and Reverse Clutch Housing, 2WD
Figure 9:

Automatic Transmission Case


Object Number: 1646097  Size: LF
(1)Automatic Transmission Case
(2)Transmission Case Locating Pin
(3)Transmission Vent Assembly
(4)Transmission Vent Cap
(5)Transmission Vent
(6)Nameplate Rivet
(7)Nameplate
(8)Vehicle Speed Sensor Bolt, M6 x 1.0 x 13
(9)Sensor Shipping Cover
(10)Turbine Speed Sensor
(11)Vehicle Speed Sensor O-Ring
(12)Power Take-Off (PTO) Cover Gasket (2)
(13)PTO Cover (2)
(14)PTO Cover Bolt, M10 x 1.5 x 20, Flanged Head, Coated (12)
(16)Manual Shift Shaft
(17)Manual Shift Shaft Seal
(18)Manual Shift Shaft Pin
(19)Manual Shift Shaft Detent Lever/Internal Mode Switch (IMS) Assembly
(20)Park Pawl Assembly
(21)Control Valve Body Locating Pin
(22)Detent Lever/IMS Bolt
(23)Connector Shipping Cover
(24)Control Valve Body Assembly
(25)Control Valve Body Bolt, M6 x 1.0 x 50, Flanged Head (15)
(26)Manual Shift Shaft Detent Spring
(27)Manual Shift Shaft Detent Spring Bolt M6 x 1.0 x 12. Flanged Head (2)
(28)Transmission Wiring Harness Assembly
Figure 10:

2-6 Clutch/Low and Reverse Clutch


Object Number: 1660819  Size: LF
(1)2-6 Clutch Piston Assembly, Bonded Seals
(2)Input and 3rd, 5th, and Reverse Clutch Ring Gear
(3)2-6 Clutch Spring Plate
(4)Piston Return Spring Assembly (3)
(5)2-6 Clutch Fiber Plate (5)
(6)2-6 Clutch Steel Plate (4)
(7)2-6 Clutch Backing Plate
(8)Internal Retaining Ring
(9)Internal Retaining Ring
(10)Low and Reverse Clutch Backing Plate
(11)Low and Reverse Clutch Fiber Plate (6)
(12)Low and Reverse Clutch Steel Plate (5)
(13)Low and Reverse Clutch Steel Plate, Selective
Figure 11:

Input Carrier and Ring Gear Assembly, Intermediate Carrier and Ring Gear Assembly, Main Shaft


Object Number: 1217360  Size: LF
(1)Input Carrier and Ring Gear Assembly
(2)Input Carrier Thrust Bearing
(3)Intermediate Carrier and Ring Gear Assembly
(4)Intermediate Carrier Thrust Bearing
(5)Main Shaft
(6)Intermediate Sun Gear
(7)Intermediate Sun Gear Spacer
(8)Output Sun Gear
(9)Output Shaft Thrust Bearing
Figure 12:

Input Carrier and Ring Gear Assembly


Object Number: 1217361  Size: MF
(1)Input Carrier and Ring Gear Assembly
(2)Input Carrier Thrust Washer
(3)Input Carrier Internal Retaining Ring
(4)Input Carrier Assembly
(5)Intermediate and 2-6 Clutch Ring Gear
Figure 13:

Intermediate Carrier and Ring Gear Assembly


Object Number: 1217364  Size: MF
(1)Intermediate Carrier and Ring Gear Assembly
(2)Intermediate Carrier Internal Retaining Ring
(3)Intermediate Carrier Assembly
(4)Output Carrier and Low and Reverse Clutch Ring Gear
Figure 14:

Input Carrier Assembly


Object Number: 1217626  Size: MF
(1)Input Carrier Assembly
(2)Bushing, 53.0 mm (2.09 in) ID
(3)Input Carrier
(4)Input Carrier Spindle (4)
(5)Input Carrier Thrust Washer (4)
(6)Input Carrier Roller Bearing Assembly (8)
(7)Input Carrier Pinion Gear (4)
(8)Input Carrier Thrust Washer (4)
Figure 15:

Intermediate Carrier Assembly


Object Number: 1660820  Size: MF
(1)Intermediate Carrier Assembly
(2)Intermediate Carrier
(3)Intermediate Carrier Bushing, 36.0 mm (1.42 in) ID
(4)Intermediate Carrier Thrust Washer (4)
(5)Intermediate Carrier Roller Bearing Assembly (8)
(6)Intermediate Carrier Pinion Gear (4)
(7)Intermediate Carrier Thrust Washer (4)
(8)Intermediate Carrier Spindle (4)
Figure 16:

Output Carrier Assembly, Output Shaft, Low and Reverse Clutch Return Spring Assembly, Park Pawl


Object Number: 1217281  Size: MF
(1)Park Pawl Cam Guide
(2)Park Pawl Support Pin
(3)Park Pawl
(4)Park Pawl Return Spring
(5)Low and Reverse Clutch Piston Return Spring Assembly
(6)Bushing, 20 mm (0.8 in) ID
(7)Output Shaft, 2WD
(8)Output Shaft, 4WD
(9)Output Carrier Assembly
Figure 17:

Low and Reverse Clutch Piston Housing


Object Number: 1564011  Size: LF
(1)Low and Reverse Clutch Housing Gasket
(2)Low and Reverse Clutch Housing, 2WD
(3)Low and Reverse Clutch Housing, 4WD
(4)Low and Reverse Clutch Housing Bolt, M10 x 1.5 x 40, Flanged Head (16)
(5)Prop Shaft Front Slip Yoke Oil Seal
(6)Output Nut, 4WD
(7)Rear Shipping Cover, 2WD
(8)Rear Shipping Cover, 4WD
Figure 18:

Output Carrier Assembly


Object Number: 1217284  Size: LF
(1)Output Carrier Assembly
(2)Output Carrier
(3)Output Carrier Thrust Washer (4)
(4)Output Carrier Roller Bearing Assembly (8)
(5)Output Carrier Pinon Gear (4)
(6)Output Carrier Thrust Washer (4)
(7)Output Carrier Planetary Spindle (4)
(8)Output Carrier Bearing Race
Figure 19:

Low and Reverse Clutch Housing Assembly, 2WD


Object Number: 1273119  Size: MF
(1)Low and Reverse Clutch Housing Assembly, 2WD
(2)Low and Reverse Clutch Piston
(3)Low and Reverse Clutch Outer Piston Seal
(4)Low and Reverse Clutch Inner Piston Seal
(5)Internal Retaining Ring
(6)Output Carrier Support Bearing
(7)Output Speed Sensor Reluctor Wheel
(8)Low and Reverse Clutch Housing, 2WD
(9)Vehicle Speed Sensor Bolt, M6 x 1.0 x 13
(10)Sensor Shipping Cover
(11)Output Speed Sensor
(12)Vehicle Speed Sensor O-Ring
(13)Low and Reverse Clutch Selective Spacer
(14)Low and Reverse Clutch External Retaining Ring
(15)Output Shaft Support Bearing
(16)Low and Reverse Clutch Internal Retaining Ring
Figure 20:

Low and Reverse Clutch Housing Assembly, 4WD


Object Number: 1564013  Size: MF
(1)Low and Reverse Clutch Housing Assembly, 4WD
(2)Low and Reverse Clutch Piston
(3)Low and Reverse Clutch Outer Piston Seal
(4)Low and Reverse Clutch Inner Piston Seal
(5)Internal Retaining Ring
(6)Output Carrier Support Bearing
(7)Output Shaft Bearing Spacer
(8)Low and Reverse Clutch Housing, 4WD
(9)Selective Spacer
(10)External Retaining Ring
(11)Output Shaft Support Bearing
(12)Internal Retaining Ring
(13)Output shaft Retaining Nut, 4WD
Figure 21:

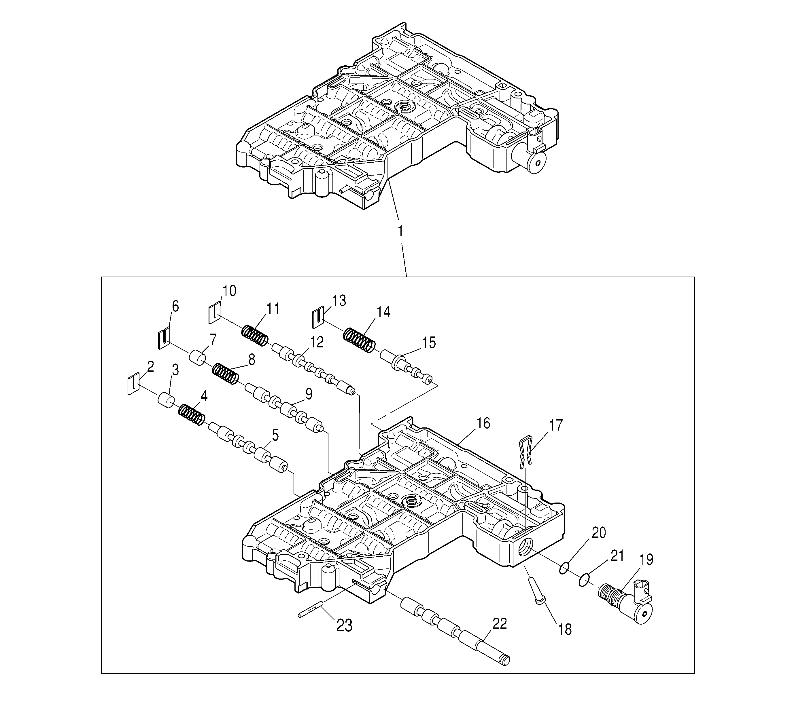
Control Valve Body Assembly


Object Number: 1646099  Size: LF
(1)Control Valve Body Assembly
(2)Shift Valve Body Assembly
(3)Separator Plate
(4)Main Valve Body Assembly
(5)Transmission Fluid Pressure (TFP) Switch
(6)Main Valve Body Assembly Bolt, M6 x 10 x 50, Flanged Head (23)
(7)Reverse Signal Pipe
(8)Reverse Signal Pipe Bolt, M6 x 10 x 50, Flanged Head
(9)Retaining Clip
(10)Modulated Main Valve Body
(11)Bolt, M6 x 10 x 65
(12)Bolt, M6 x 10 x 50
(13)O-Rings
(14)Modulated Main Pressure (MAIN MOD) Solenoid
(15)6 Speed Pipe
Figure 22:

Shift Valve Body Assembly


Object Number: 1422110  Size: LF
(1)Shift Valve Body Assembly
(2)Retaining Clip
(3)Shift Solenoid 2 (SS2) Shift Plug
(4)SS2 Shift Spring
(5)SS2 Shift Valve
(6)Retaining Clip
(7)SS3 Shift Plug
(8)SS3 Shift Spring
(9)SS3 Shift Valve
(10)Retaining Clip
(11)SS1 Shift Spring
(12)SS1 Shift Valve
(13)Retaining Clip
(14)Control Main Spring
(15)Control Main Valve
(16)Shift Valve Body
(17)Shift Solenoid Retainer
(18)Shift Solenoid Screen
(19)SS1
(20)Shift Solenoid O-Ring
(21)Shift Solenoid O-Ring
(22)Manual Valve
(23)Manual Valve Pin
Figure 23:

Main Valve Body Assembly


Object Number: 1646100  Size: LF
(1)Main Valve Body Assembly
(2)Retaining Clip
(3)Exhaust Pressure Regulator Valve Spring
(4)Exhaust Pressure Regulator Valve
(5)Retaining Clip
(6)Control Relief Spring
(7)Control Relief Valve
(8)Main Valve Body
(9)Locating Pin (4)
(10)Locating Pin
(11)Pressure Control Solenoid 1 (PCS1) Spring
(12)PCS1 Valve
(13)PCS1 Spring
(14)Trim Gain Valve
(15)PCS1
(16)PCS1 O-Ring
(17)PCS2 Spring
(18)PCS2 Valve
(19)Trim Gain Valve
(20)PCS2
(21)PCS2 O-Ring
(22)Shift Solenoid (SS) 3
(23)SS3 O-Ring
(24)SS3 O-Ring
(25)SS2
(26)SS2 O-Ring
(27)SS2 O-Ring
(28)Torque Converter Clutch Pressure Control Solenoid (TCC PCS) Spring
(29)TCC PCS Valve
(31)TCC PCS
(32)TCC PCS O-Ring
(33)TCC PCS O-Ring
(34)TCC PCS Retaining Bracket
(35)SS2 and SS3 Retainers (2)
(36)Accumulator Plug (2)
(37)Accumulator Spring (2)
(38)PCS1 and PCS2 Retaining Bracket