GM Service Manual Online
For 1990-2009 cars only

Reverse/5th Gear Synchronizer


    Object Number: 1526805  Size: SH
  1. Install the 5th/reverse synchronizer sleeve (254) onto the 5th countershaft gear with the chamfer side of the teeth up.

  2. Object Number: 1526807  Size: SH
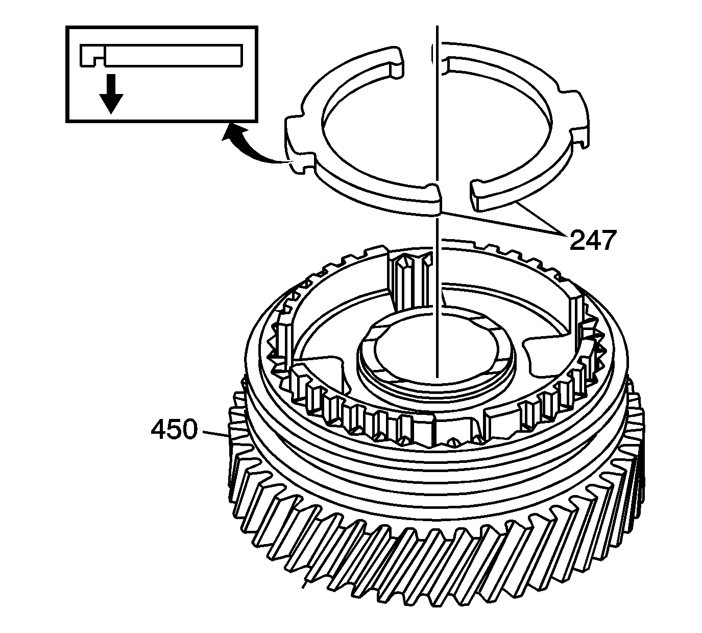
  3. Install the 5th gear synchronizer inserts (247) into the 5th countershaft gear (450) with the tab down, into the wide slot.

  4. Object Number: 1526809  Size: SH
  5. Install the 5th gear synchronizer spring (248) between the inserts, with the locating tabs in the opening between the inserts.

  6. Object Number: 1526812  Size: SH
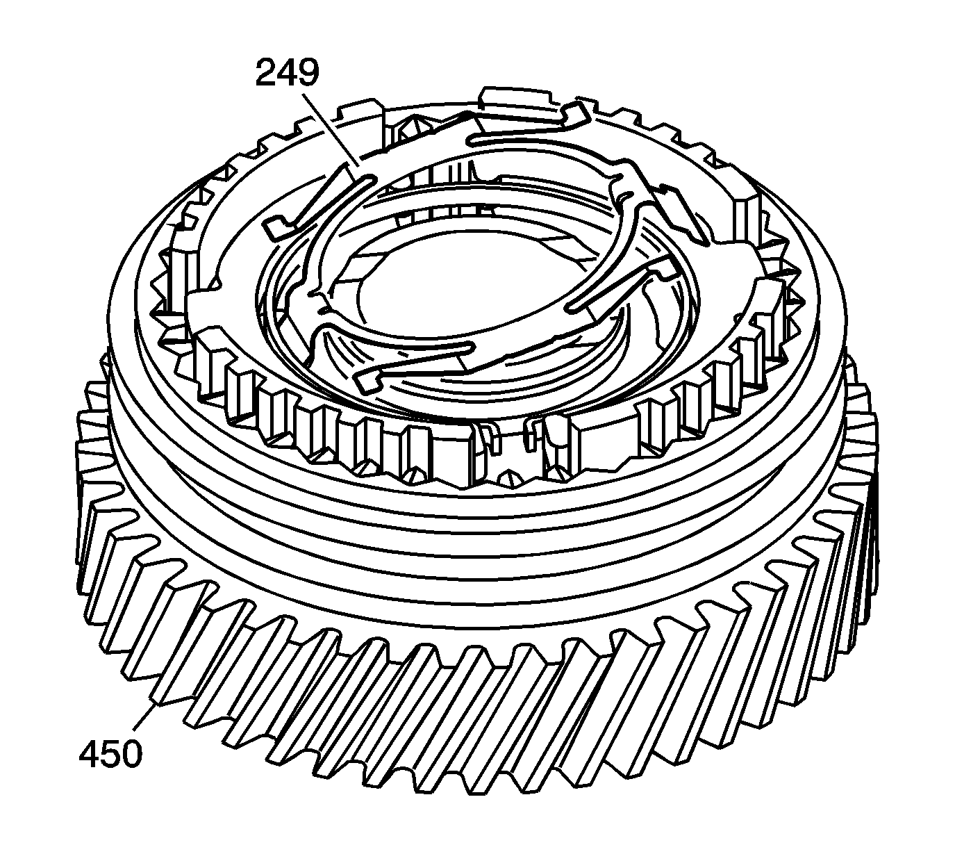
  7. Install the 5th/reverse synchronizer spring (249) retaining clips down, into the wide holes in the 5th countershaft gear (450).

  8. Object Number: 1526815  Size: SH
  9. Compress the 5th/reverse synchronizer spring (249) and install the retaining ring (256) onto the 5th countershaft gear (450).

3rd/4th Gear Synchronizer


    Object Number: 881243  Size: SH

    Important: The 3rd/4th gear synchronizer hub cannot be used again after removal. Always install a new hub.

  1. Install the synchronizer spring in the hole of a new 3rd/4th gear synchronizer hub.
  2. Slide the insert in while pushing down on the spring.

  3. Object Number: 880957  Size: SH
  4. Install the 3rd/4th synchronizer sleeve on the hub while pushing in the inserts.
  5. • The shoulder of the sleeve with the step goes forward, 4th gear side.
    • The smooth side of the hub, without the indents for synchronizer tabs, is the 4th gear side.
    • Align the inserts with the non-tooth areas of the sleeve.

    Object Number: 880955  Size: SH
  6. Install the following components to the 3rd/4th gear synchronizer hub (235):
  7. 4.1. The 3rd gear outer blocking ring (236)

    Ensure the tabs align in the hub.

    4.2. The 3rd gear internal blocking ring (237)
    4.3. The 3rd gear inner blocking ring (238)

    Ensure the tabs align in the hub

    The 4th gear blocking ring is installed with the input gear.

1st/2nd Gear Synchronizer


    Object Number: 881243  Size: SH
  1. Install the synchronizer spring in the hole of the 1st/2nd gear synchronizer hub.
  2. Slide the insert in while pushing down on the spring.

  3. Object Number: 881242  Size: SH
  4. Install the reverse gear on the hub while pushing in the inserts.
  5. • The forward, 2nd gear, side of the reverse gear has the shift fork groove.
    • The 2nd gear side of the hub has the internal splines indented from the thrust surface.
    • Align the inserts with the non-tooth areas of the sleeve.

    Object Number: 880952  Size: SH

    Important: When you service the synchronizers, retain them in the order that they are removed. Keep the synchronizer components together and mark to identify the correct location.

  6. Install the following components to the 1st/2nd gear synchronizer hub (215). Ensure the tabs on the rings are aligned with the notches in the hub.
  7. • The 2nd gear inner blocking ring (228)
    • The 2nd gear internal blocking ring (227)
    • The 2nd gear outer blocking ring (226)
    • The 1st gear outer blocking ring (216)
    • The 1st gear internal blocking ring (217)
    • The 1st gear inner blocking ring (218)