|
| (3) | Clutch Actuator
Bolt/Screw - M6 x 1.0 |
| (4) | Clutch Actuator
Bolt/Screw - M8 x 1.0 |
| (7) | Transmission
Intermediate Case |
| (8) | Shift Shaft
Bearing Assembly |
| (9) | Transmission
Rear Case Locating Pin |
| (9a) | Transmission
Rear Case Locating Pin |
| (11) | Transmission
Front Case |
| (12) | Input Shaft
Seal |
| (13) | Input Shaft
Bearing Oil Shield |
| (14) | Select Control
Lever Bracket Pin |
| (14a) | Transmission
Case Intermediate Locating Pin |
| (15) | Transmission
Case Locating Pin |
| (16) | Transmission
Case Hole Plug |
| (17) | Transmission
Rear Case Oil Trough |
| (18) | Input Shaft
Bearing Oil Slinger - Front |
| (19) | Oil Trough |
| (20) | Transmission
Intermediate Case Oil Trough |
| (21) | Counter
Gear Bearing Retainer |
| (23) | Transmission
Rear Case |
| (24) | Shift Shaft
Bushing |
| (25) | Shift Shaft
Bearing Assembly |
| (26) | Transmission
Extension Locating Pin |
| (26a) | Transmission
Extension Locating Pin |
| (27) | Transmission
Intermediate Case Bolt/Screw - M10 x 1.25 |
| (27a) | Backup Switch
Bracket Bolt/Screw |
| (28) | Transmission
Intermediate Case Bolt/Screw - M10 x 1.25 |
| (29) | Transmission
Rear Case Oil Trough Gasket |
| (30) | Clutch Housing
Hole Plug |
| (31) | Vent Assembly |
| (32) | Reverse
Idler Gear Shaft Bolt Gasket |
| (33) | Oil Drain
Plug Gasket |
| (33a) | Oil Fill
Plug Gasket |
| (34) | Oil Drain
Plug |
| (35) | Reverse
Idler Gear Shaft Retainer Bolt/Screw |
| (36) | Shift
Shaft Detent Plug |
| (37) | Transmission
Intermediate Case Oil Trough Bolt/Screw |
| (38) | Counter
Gear Bearing Retainer Bolt/Screw |
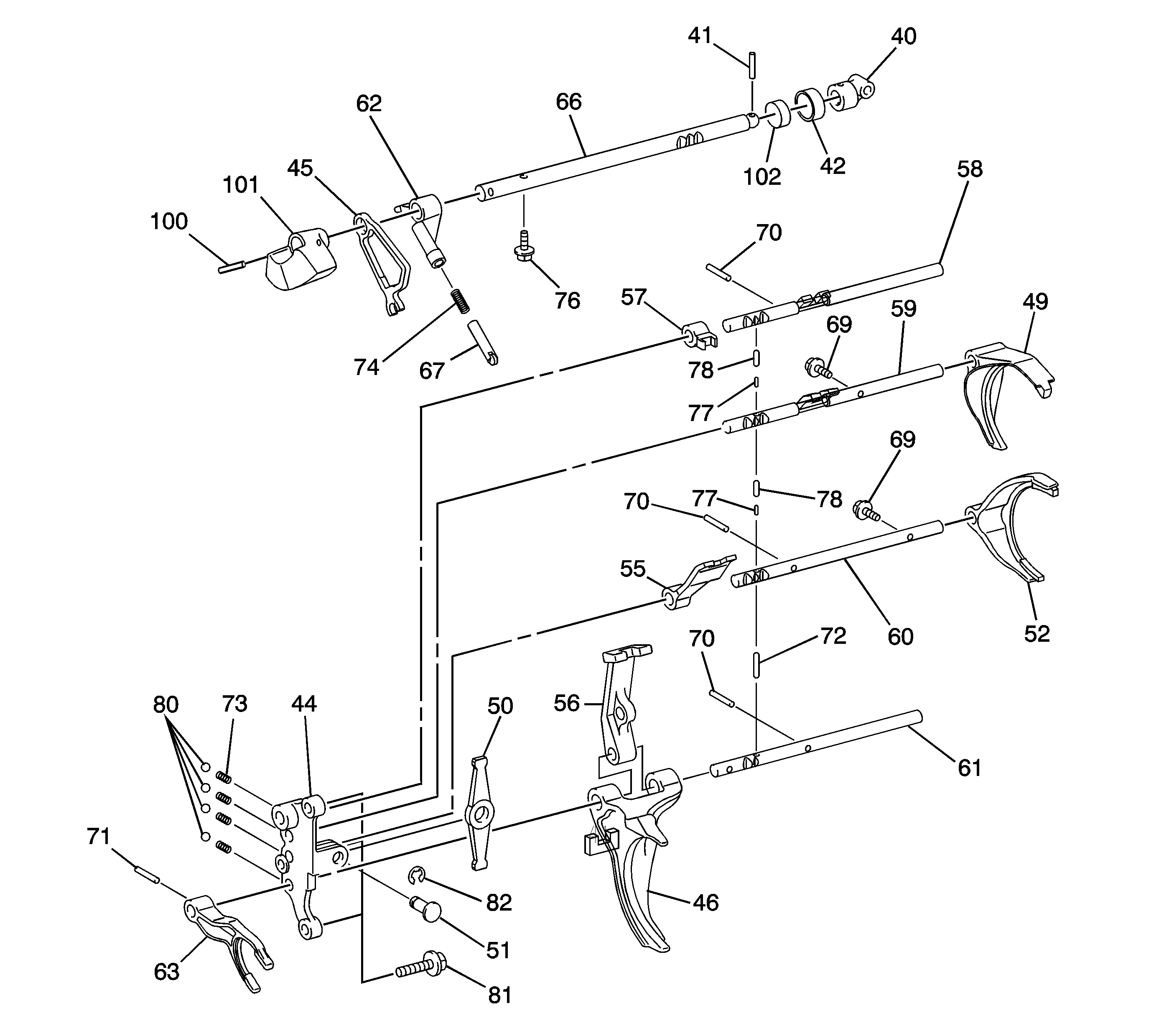
| (68) | Shift
Shaft Detent Pin |
| (75) | Shift
Shaft Detent Spring |
| (79) | Oil Fill
Plug |
| (86) | Transmission
Extension |
| (87) | Main Shaft
Bearing Rear Oil Slinger |
| (88) | Shift Control
Shaft Seal |
| (92) | Rear Output
Shaft Seal Assembly |
| (93) | Transmission
Extension Bolt/Screw |
| (108) | Propshaft
Transmission Flange Assembly |
| (126) | Propshaft
Transmission Flange Nut |
| (136) | Reverse
Idler Gear Bearing Assembly |
| (193) | Propshaft
Transmission Flange Fluid Seal |
| (204) | Reverse
Idler Gear Shaft |
| (205) | Reverse
Idler Gear |
| (208) | Backup Lamp
Switch Assembly |
| (209) | Backup Lamp
Switch Retainer |
| (213) | Output
Sensor Assembly |
| (215) | Vehicle
Speed Sensor Bolt/Screw |