GM Service Manual Online
For 1990-2009 cars only

Tools Required

DT-47723 Output Shaft Bearing Installer


    Object Number: 1413974  Size: SH
  1. Apply lubricant GM P/N 89021806 (Canadian P/N 89021807) and install the following components:
  2. • the 2nd gear bearing (135)
    • the 2nd gear (200)
    • the 2nd gear synchronizer inner cone (96)
    • the 2nd gear synchronizer outer cone (97)
    • the 2nd gear outer blocker ring (98)
    • the 1st/2nd gear synchronizer sleeve (117)

    Object Number: 1467825  Size: SH
  3. Using a hydraulic press and DT-47723 , install the 1st/2nd gear synchronizer sleeve with the boss side facing 2nd gear. The synchronizer ring set and transmission clutch hub are to be aligned when installing the transmission clutch hub assembly.

  4. Object Number: 1504136  Size: SH

    Important: The retaining ring is a selected fit. Always install a NEW retaining ring.

  5. Select the maximum thickness retaining ring that will fit in the groove. Refer to Countershaft Front and Rear Bearing Retaining Ring Specifications .

  6. Object Number: 1413965  Size: SH
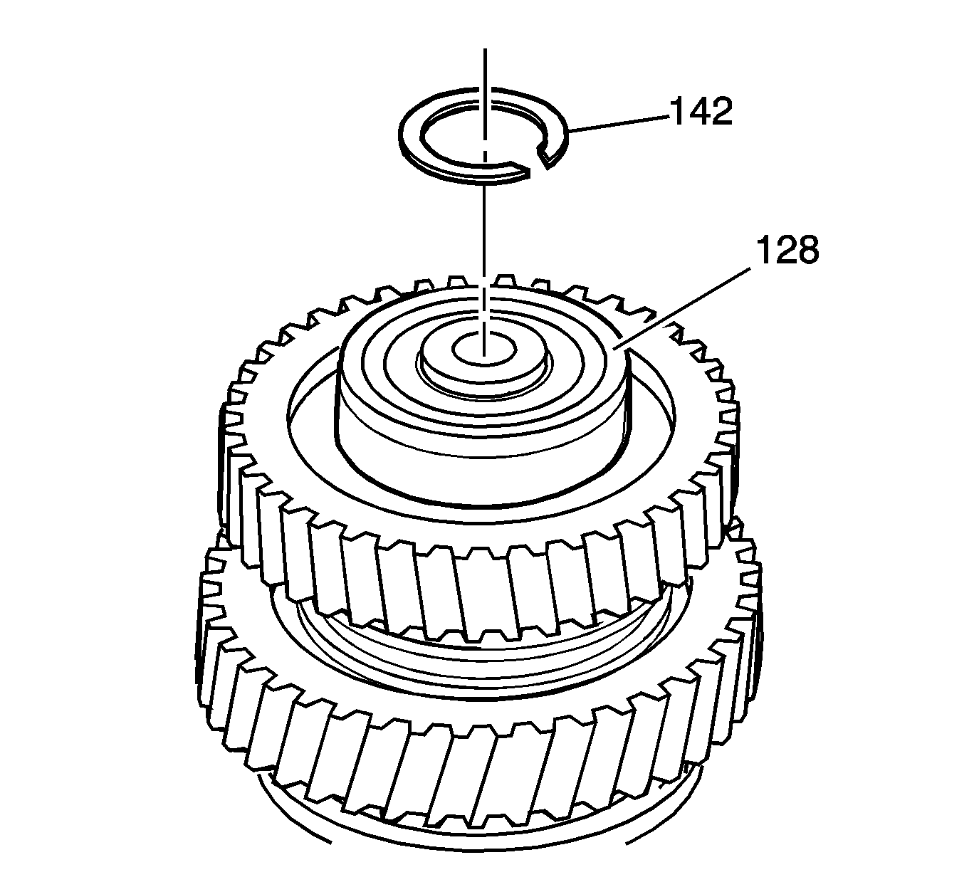
  7. Install a NEW snap ring.

  8. Object Number: 1413948  Size: SH
  9. Apply lubricant and install the following components:
  10. • the 1st gear outer blocking ring (98)
    • the 1st gear synchronizer outer cone (97)
    • the 1st gear synchronizer inner cone (96)

    Object Number: 1413947  Size: SH
  11. Apply lubricant, install and align the 1st gear bearing (134), 1st gear (199) and the reverse gear spline (112).

  12. Object Number: 1467827  Size: SH
  13. Using a hydraulic press and DT-47723 , install the reverse gear spline (112).

  14. Object Number: 1413945  Size: SH
  15. Apply lubricant and install the reverse gear blocking ring (122).
  16. Install the ball (194) to the countershaft.
  17. Apply lubricant and install the reverse gear bushing bearing (133).
  18. Apply lubricant. Align and install the synchronizer sleeve and reverse gear (206) together.
  19. Apply lubricant. Install the reverse gear bushing (114) with ball.
  20. Install the counter gear front bearing (128) with groove facing forward.

  21. Object Number: 1467830  Size: SH
  22. Using a hydraulic press and DT-47723 , install the counter gear front bearing.

  23. Object Number: 1504139  Size: SH

    Important: The retaining ring is a selected fit. Always install a NEW retaining ring.

  24. Select the maximum thickness retaining ring that will fit in the groove. Refer to 1st and 2nd Gear Synchronizer Retaining Ring Specifications .

  25. Object Number: 1413942  Size: SH
  26. Install a NEW snap ring (142).