GM Service Manual Online
For 1990-2009 cars only

Tools Required

DT-47723 Output Shaft Bearing Installer


    Object Number: 1467817  Size: SH
  1. Using a hydraulic press and tube, install the counter gear front bearing on the input shaft.

  2. Object Number: 1504141  Size: SH

    Important: The retaining ring is a selected fit. Always install a NEW retaining ring.

  3. Select the maximum thickness retaining ring that will fit in the groove. Refer to Input Shaft Bearing Retaining Ring Specifications .

  4. Object Number: 1413935  Size: SH
  5. Install a NEW snap ring (176) and ensure that the radial bearing rotates smoothly.

  6. Object Number: 1425654  Size: SH
  7. Apply lubricant GM P/N 89021806 (Canadian P/N 89021807) and install the 4th gear bearing (130).

  8. Object Number: 1467818  Size: SH
  9. Apply lubricant and install the 4th gear (198).

  10. Object Number: 1467819  Size: SH
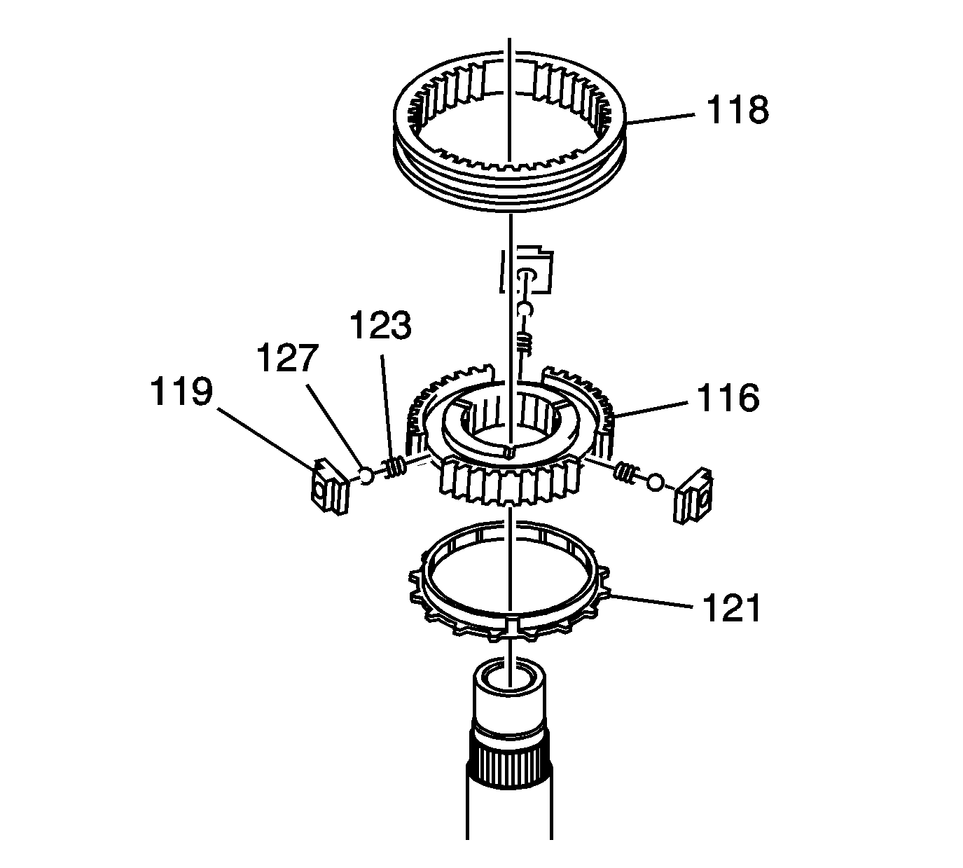
  11. Apply lubricant and install the following components:
  12. • the blocking ring (121)
    • the 3rd/4th gear synchronizer hub (116) including the spring (123), detent ball (127) and insert (119)
    • the 3rd/4th gear synchronizer sleeve (118) with the higher boss facing the front

    Object Number: 1467820  Size: SH
  13. Using a hydraulic press and DT-47723 , install the 3rd/4th synchronizer hub assembly.

  14. Object Number: 1504142  Size: SH

    Important: The retaining ring is a selected fit. Always install a NEW retaining ring.

  15. Select the maximum thickness retaining ring that will fit in the groove. Refer to 3rd and 4th Gear Synchronizer Retaining Ring Specifications .

  16. Object Number: 1413928  Size: SH
  17. Install a NEW snap ring (156).

  18. Object Number: 1504145  Size: SH
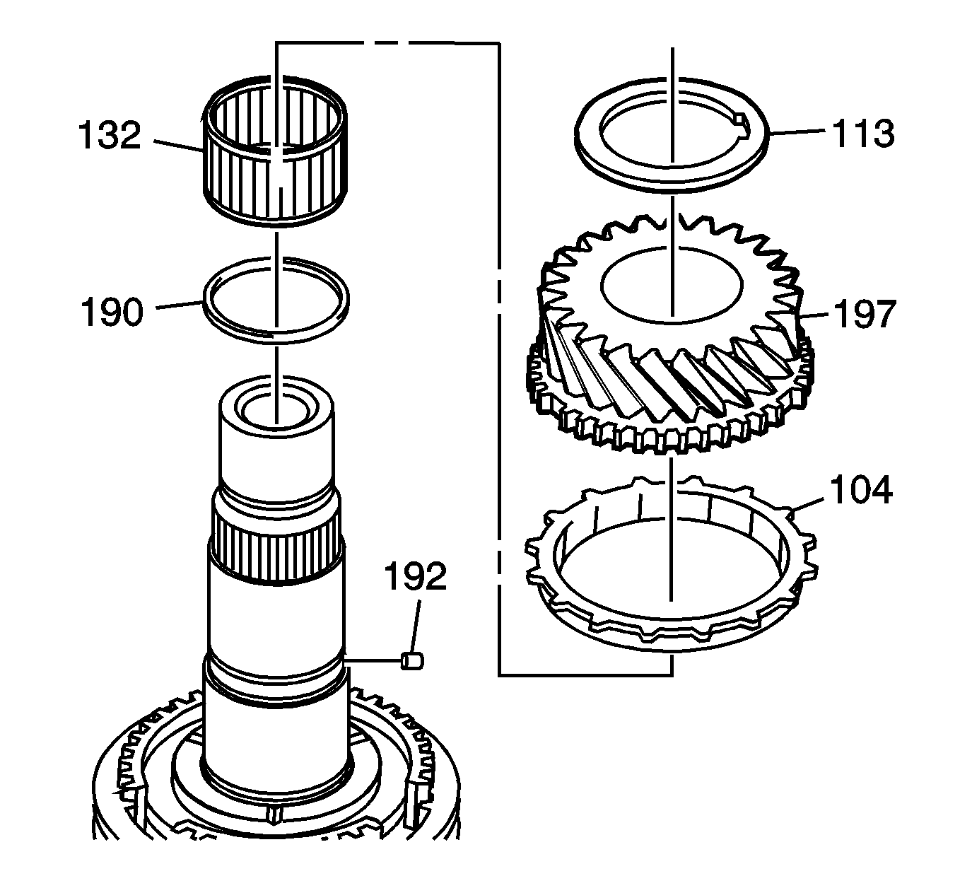
  19. Apply lubricant GM P/N 89021806 (Canadian P/N 89021807) to components and install the following components:
  20. • 3rd/4th gear spacer (190)
    • 3rd gear bearing (132)
    • 3rd gear blocking ring (104)
    • Install and align the 3rd gear (197)
    • Locating pin (192)
    • Install and align the 3rd gear thrust washer (113)

    Object Number: 1504148  Size: SH

    Important: The retaining ring is a selected fit. Always install a NEW retaining ring.

  21. Select the maximum thickness retaining ring that will fit in the groove. Refer to 3rd and 4th Gear Synchronizer Retaining Ring Specifications .

  22. Object Number: 1505705  Size: SH
  23. Install a NEW snap ring (170).

  24. Object Number: 1413923  Size: SH
  25. Install the 6th gear bearing spacer (189).
  26. Apply lubricant GM P/N 89021806 (Canadian P/N 89021807) and install the 6th gear bearing (131).
  27. Apply lubricant and install the 6th gear (201).
  28. Apply lubricant and install the 6th gear blocking ring (121).
  29. Apply lubricant and install the 5th/6th gear synchronizer hub (124) including the spring (123), detent ball (127) and insert (119).
  30. Apply lubricant and install the 5th/6th synchronizer sleeve (118) with higher boss of sleeve facing the rear.

  31. Object Number: 1467822  Size: SH
  32. Use a hydraulic press and DT-47723 to install the 5th/6th synchronizer hub assembly.

  33. Object Number: 1504150  Size: SH

    Important: The retaining ring is a selected fit. Always install a NEW retaining ring.

  34. Select the maximum thickness retaining ring that will fit in the groove. Refer to 6th Gear Retaining Ring Specifications .

  35. Object Number: 1505711  Size: SH
  36. Install a NEW snap ring (163).