GM Service Manual Online
For 1990-2009 cars only
Makes
🢒
Cadillac
🢒
2006
🢒
Escalade EXT
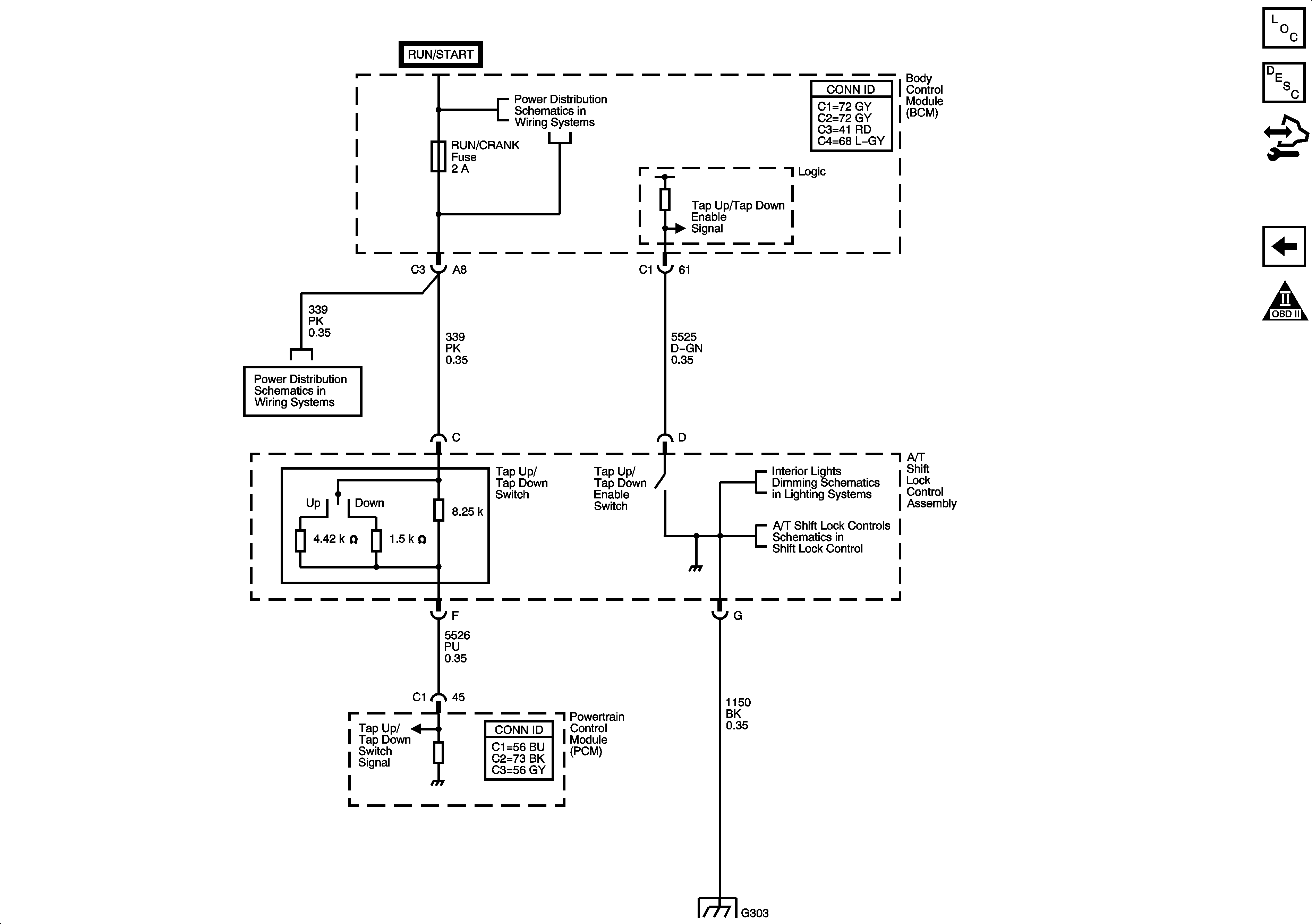
🢒 Tap Up/Tap Down Switch (LX9)
Tap Up/Tap Down Switch (LX9)
Tap Up/Tap Down Switch (LX9)
Master Electrical Component List
Transmission Component and System Description
Control Module References
DLC, Ground and Power (LE5)
PNP Switch (LX9)
Automatic Transmission Schematic Icons
Underhood Fuse Block RUN RLY, IBCM (RUN/CRANK), Body Control Module (BCM) AIRBAG (IGN) EPS and RUN/CRANK Fuses
Underhood Fuse Block RUN RLY, IBCM (RUN/CRANK), Body Control Module (BCM) AIRBAG (IGN) EPS and RUN/CRANK Fuses
Seats and Center Console
Shift Lock Control Schematics
G303