GM Service Manual Online
For 1990-2009 cars only
Makes
🢒
Cadillac
🢒
2006
🢒
Escalade EXT
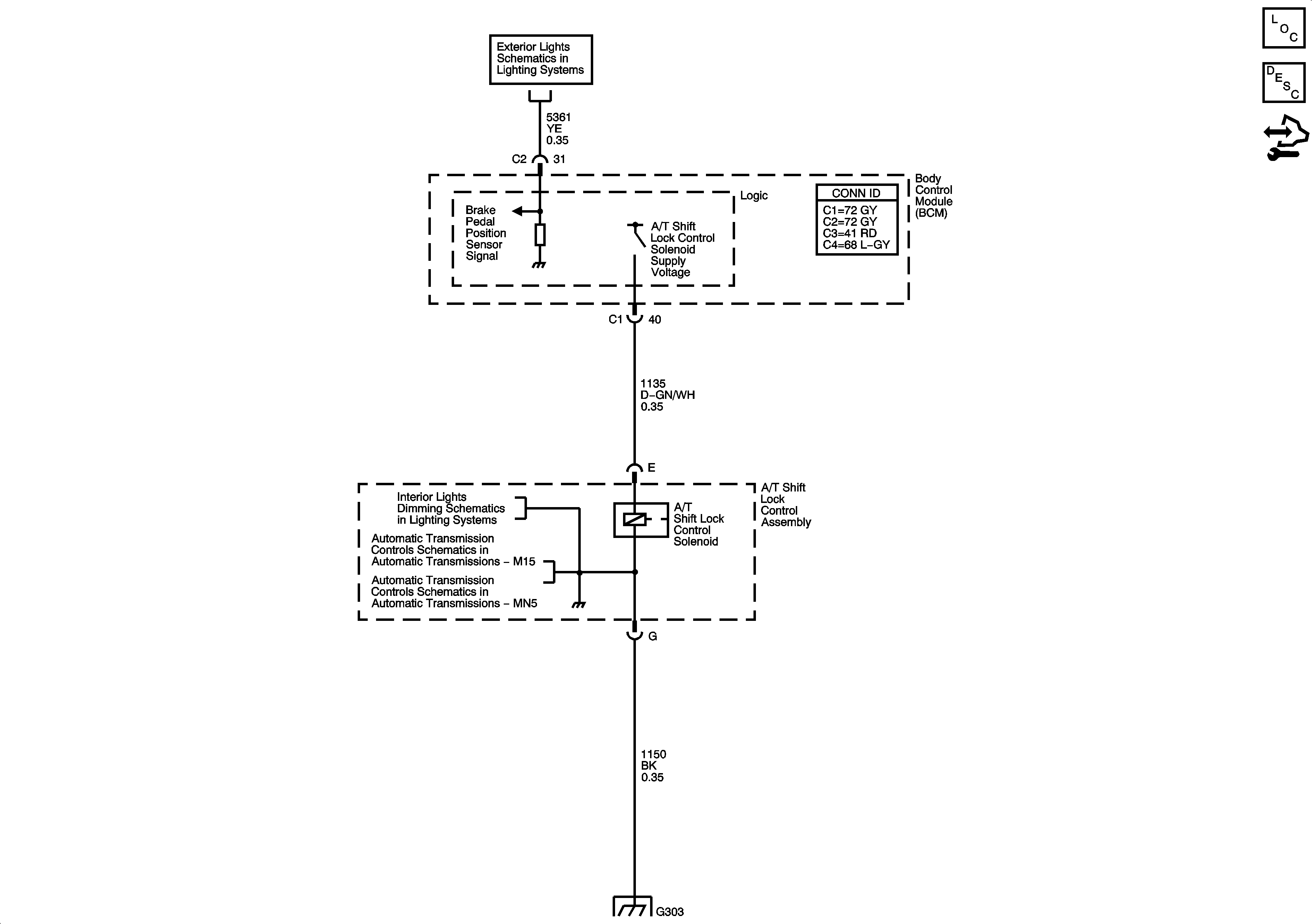
🢒 Automatic Transmission Shift Lock Control Schematics
Automatic Transmission Shift Lock Control Schematics
Master Electrical Component List
Control Module References