GM Service Manual Online
For 1990-2009 cars only

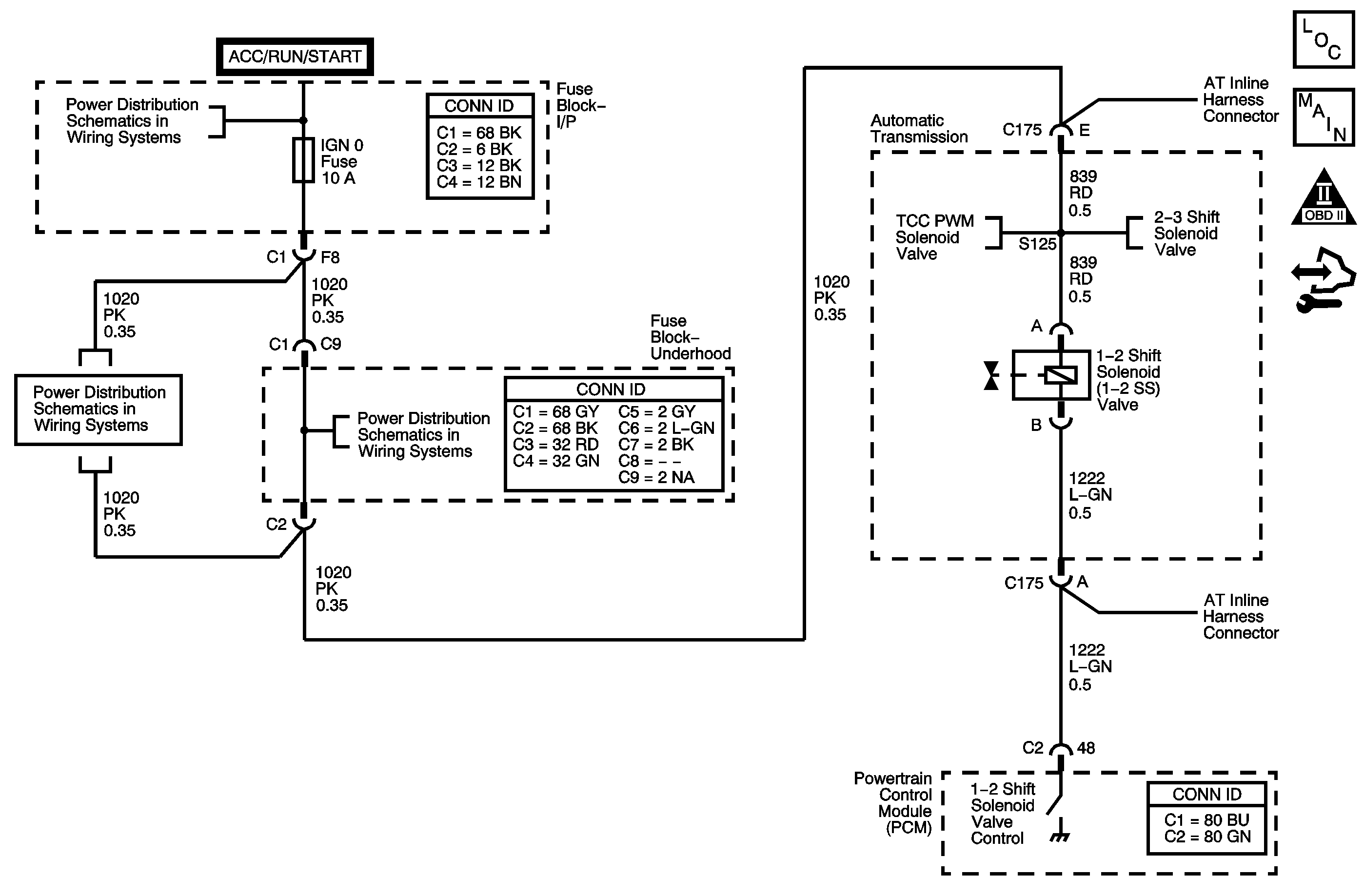
Object Number: 1558686  Size: MF
Master Electrical Component List
Automatic Transmission Controls Schematics
OBD II Symbol Description Notice
Control Module References

Circuit Description

The 1-2 shift solenoid (SS) valve controls the fluid flow of the 1-2 and the 3-4 shift valves. The 1-2 SS valve is a normally-open exhaust valve that is used with the 2-3 SS valve to allow for 4 different shifting combinations. The 1-2 SS valve attaches to the control valve body within the transmission. The ignition voltage goes directly to the 1-2 SS valve. The powertrain control module (PCM) controls the 1-2 SS valve by providing the ground path through the 1-2 shift solenoid valve control circuit.

When the PCM detects a continuous open or short in the 1-2 SS valve circuit or the 1-2 SS valve, then DTC P0753 sets. DTC P0753 is a type C DTC. For California emissions vehicles and vehicles under 8,600 GVW, DTC P0753 is a type B DTC.

DTC Descriptor

This diagnostic procedure supports the following DTC:

DTC P0753 1-2 Shift Solenoid Control Circuit

Conditions for Running the DTC

The engine is running for greater than 7 seconds.

Conditions for Setting the DTC

One of the following conditions occur for 4.3 out of 5 seconds.

    • The PCM commands the solenoid ON and the voltage input remains high, B+.
    • The PCM commands the solenoid OFF and the voltage input remains low.
    • The system voltage is between 10-18 volts for greater than 0.5 second.

Action Taken When the DTC Sets

    • For California emission equipped vehicles, the PCM illuminates the malfunction indicator lamp (MIL) during the second consecutive trip in which the Conditions for Setting the DTC are met. For Federal emission equipped vehicles, the MIL is not illuminated.
    • The PCM commands maximum line pressure.
    • The PCM freezes transmission adaptive functions.
    • The PCM inhibits 3-2 downshifts above 40 km/h (25 mph).
    • The PCM records the operating conditions when the Conditions for Setting the DTC are met. The PCM stores this information as Freeze Frame, California only, and Failure Records, California and Federal.
    • The PCM stores the DTC P0753 in PCM history during the second consecutive trip, California, or the first trip, Federal, in which the Conditions for Setting the DTC are met.

Conditions for Clearing the MIL/DTC

    • For California emissions, the PCM turns OFF the MIL during the third consecutive trip in which the diagnostic test runs and passes.
    • A scan tool can clear the MIL/DTC.
    • For California emissions, the PCM clears the DTC from PCM history if the vehicle completes 40 warm-up cycles without an emission related diagnostic fault occurring.
    • For Federal emissions, the PCM clears the DTC from PCM history if the vehicle completes 40 warm-up cycles without a non-emission related diagnostic fault occurring.
    • The PCM cancels the DTC default actions when the fault no longer exists and the ignition switch is OFF long enough in order to power down the PCM.

Diagnostic Aids

    • An open ignition feed on the Off/Run/Crank voltage circuit can cause multiple DTCs to set. Refer to Shift Solenoid Valve State and Gear Ratio .
    • DTC P0753 defaults to an elevated line pressure condition which may result in partial torque converter clutch (TCC) apply. This may produce an idle surge that could stall the engine.

Test Description

The numbers below refer to the step numbers on the diagnostic table.

  1. This step tests the function of the 1-2 SS valve and the internal wiring harness.

  2. This step tests the power to the 1-2 SS valve from the ignition.

  3. This step tests the ability of the PCM and the wiring to control the ground circuit.

  4. This step measures the resistance of the automatic transmission wiring harness assembly and the 1-2 SS valve.

Step

Action

Value

Yes

No

1

Did you perform the Diagnostic System Check - Vehicle?

--

Go to Step 2

Go to Diagnostic System Check - Vehicle

2

  1. Install a scan tool.
  2. Turn ON the ignition, with the engine OFF.
  3. Important: Before clearing the DTC, use the scan tool in order to record the Freeze Frame and Failure Records. Using the Clear Info function erases the Freeze Frame and Failure Records from the PCM.

  4. Record the DTC Freeze Frame and Failure Records.
  5. Clear the DTC.

Is DTC P0758 or P2761 also set?

--

Go to Step 3

Go to Step 4

3

Inspect the IGN 0 fuse for an open. Refer to Circuit Protection - Fuses .

Is the fuse open?

--

Go to Step 12

Go to Step 5

4

Use the scan tool in order to command the 1-2 SS valve ON and OFF 3 times, while listening to the bottom of the transmission pan. A stethoscope may be necessary.

Does the solenoid click when commanded?

--

Go to Testing for Intermittent Conditions and Poor Connections

Go to Step 5

5

  1. Turn OFF the ignition.
  2. Disconnect the AT inline 20-way connector. Additional DTCs may set.
  3. Install the J 44152 jumper harness (20 pins) on the engine side of the AT inline 20-way connector.
  4. Turn ON the ignition, with the engine OFF.
  5. Using the J 35616 GM terminal test kit, connect a test lamp from terminal E of the J 44152 to ground. Refer to Automatic Transmission Inline 20-Way Connector End View .

Does the test lamp illuminate?

--

Go to Step 6

Go to Step 15

6

  1. Connect a test lamp between terminal E and terminal A of the J 44152 . Refer to Automatic Transmission Inline 20-Way Connector End View .
  2. Use the scan tool in order to command the 1-2 SS valve ON and OFF 3 times.

Does the test lamp turn ON and OFF with each command?

--

Go to Step 8

Go to Step 7

7

Is the test lamp always ON?

--

Go to Step 16

Go to Step 17

8

  1. Install the J 44152 on the transmission side of the automatic transmission (AT) inline 20-way connector.
  2. Using the DMM and the J 35616 , measure the resistance between terminal A and terminal E of the J 44152 . Refer to Automatic Transmission Inline 20-Way Connector End View .

Does the resistance measure within the specified range?

19-31 ohms

Go to Step 9

Go to Step 10

9

Measure the resistance from terminal A to ground, and from terminal E to ground.

Do both readings measure greater than the specified value?

250 K ohms

Go to Testing for Intermittent Conditions and Poor Connections

Go to Step 11

10

  1. Disconnect the AT wiring harness assembly from the 1-2 SS valve.
  2. Measure the resistance of the 1-2 SS valve.

Does the resistance measure within the specified range?

19-31 ohms

Go to Step 18

Go to Step 19

11

  1. Disconnect the AT wiring harness assembly from the 1-2 SS valve.
  2. Measure the resistance from the component's terminals to ground.

Do both readings measure greater than the specified value?

250 K ohms

Go to Step 18

Go to Step 19

12

Important: The condition that affects this circuit may exist in other connecting branches of the circuit. Refer to Power Distribution Schematics for complete circuit distribution.

Test the Ignition 0 voltage circuit of the 1-2 SS valve for a short to ground between the fuse block and the AT inline 20-way connector. Refer to Testing for Short to Ground and Wiring Repairs .

Did you find and correct the condition?

--

Go to Step 21

Go to Step 13

13

Important: The condition that affects this circuit may exist in other connecting branches of the circuit. Refer to Power Distribution Schematics for complete circuit distribution.

Test the Ignition 1 voltage circuit of the 1-2 SS valve for a short to ground between the AT inline 20-way connector and the 1-2 SS valve. Refer to Testing for Short to Ground .

Did you find a short to ground condition?

--

Go to Step 18

Go to Step 14

14

  1. Test each solenoid for a short to ground.
  2. Replace the faulty solenoid as necessary.

Did you complete the replacement?

--

Go to Step 21

--

15

Important: The condition that affects this circuit may exist in other connecting branches of the circuit. Refer to Power Distribution Schematics for complete circuit distribution.

Test the Ignition 0 voltage circuit of the 1-2 SS valve for an open. Refer to Testing for Continuity and Wiring Repairs .

Did you find and correct the condition?

--

Go to Step 21

--

16

Test the control circuit of the 1-2 SS valve for a short to ground between the PCM connector C2 and the AT inline 20-way connector. Refer to Testing for Short to Ground and Wiring Repairs .

Did you find and correct the condition?

--

Go to Step 21

Go to Step 20

17

Test the control circuit of the 1-2 SS valve for an open or short to power between the PCM connector C2 and the AT inline 20-way connector. Refer to Circuit Testing and Wiring Repairs .

Did you find and correct the condition?

--

Go to Step 21

Go to Step 20

18

Replace the AT wiring harness assembly. Refer to Valve Body and Pressure Switch Replacement .

Did you complete the replacement?

--

Go to Step 21

--

19

Replace the 1-2 SS valve. Refer to Valve Body and Pressure Switch Replacement .

Did you complete the replacement?

--

Go to Step 21

--

20

Replace the PCM. Refer to Control Module References for replacement, setup, and programming.

Did you complete the replacement?

--

Go to Step 21

--

21

Perform the following procedure in order to verify the repair:

  1. Select DTC.
  2. Select Clear Info.
  3. Drive the vehicle in D4 and ensure that the following conditions are met:
  4. • The PCM commands the 1-2 SS valve ON and the voltage feedback drops to zero.
    • The PCM commands the 1-2 SS valve OFF and the voltage feedback increases to B+.
    • All conditions are met for 5 seconds.
  5. Select Specific DTC.
  6. Enter DTC P0753.

Has the test run and passed?

--

Go to Step 22

Go to Step 2

22

With the scan tool, observe the stored information, capture info and DTC info.

Does the scan tool display any DTCs that you have not diagnosed?

--

Go to Diagnostic Trouble Code (DTC) List - Vehicle

System OK